2021年2月1日接收捐赠的信息
发布时间 2021-02-02 丨 来源:四川省索玛慈善基金会 丨 浏览量 265
| 2月1日收到 | 财付通支付科技有限公司 | 暂未开票 | ¥31.33 | 大凉山困境学生关爱 |
| 2月1日收到 | 财付通支付科技有限公司 | 暂未开票 | ¥13,200.00 | 大凉山一帮一助学 |
| 2月1日收到 | 财付通支付科技有限公司 | 暂未开票 | ¥155.37 | 索玛花阳光午餐 |
| 2月1日收到 | 财付通支付科技有限公司 | 暂未开票 | ¥828.66 | 索玛花支教 |
| 2月1日收到 | 财付通支付科技有限公司 | 暂未开票 | ¥0.02 | 关爱彝区特困老人 |
| 2月1日收到 | 财付通支付科技有限公司 | 暂未开票 | ¥3,608.46 | 索玛花小学 |
| 2月1日收到 | 张晓松 | 爱心捐款 | ¥100.00 | 电子汇入 |
| 2月1日收到 | 石峰 | 爱心捐款 | ¥100.00 | 电子汇入 |
| 2月1日收到 | 广州市荔湾区潮迎服饰店 | 阳光午餐 | ¥200.00 | 午餐 |
| 2月1日收到 | 东莞安智电子科技有限公司 | 阳光午餐 | ¥10,000.00 | 91441900MA51LCP03U |
| 2月1日收到 | 呼和浩特市沐宸医疗器械有限公司 | 爱心助学 | ¥2,000.00 | 资助牛牛坝曲比尔子 |
| 2月1日收到 | 潘光明 | 爱心助学 | ¥2,750.00 | 资助曲比尔曲一个学年的学习生活费、执行费 |
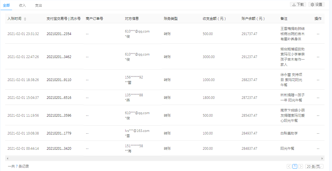
| 2月1日收到 | 王雪梅 | 扶贫救助 | ¥500.00 | 捐助肺结核病出院的吉木有星补养身体 |
| 2月1日收到 | 烟台鲍博超 | 扶贫救助 | ¥3,000.00 | 救助索玛花小学单亲孩子吉木有作一家人 |
| 2月1日收到 | 徐永蕾 | 阳光午餐 | ¥1,000.00 | 支持项目 索玛花阳光午餐 |
| 2月1日收到 | 林彬 | 阳光午餐 | ¥1,800.00 | 捐赠一孩子一年 阳光午餐 |
| 2月1日收到 | 南京卞玥皓小朋友 | 阳光午餐 | ¥500.00 | 捐赠索玛花爱心阳光午餐 |
| 2月1日收到 | 白聆熹 | 爱心助学 | ¥100.00 | 助学 |
| 2月1日收到 | 黄继海 | 阳光午餐 | ¥200.00 | 阳光午餐151******58 |
| 【通知】为规范四川省索玛慈善基金会财务,从即日起,我们将给每一位捐赠人(包括以前给我们捐赠的朋友们)据实开具捐赠票据,微信号:suomahua123,手机:18981556717,座机:0834-2507977,发送捐款截图、捐赠人(单位)姓名、收件地址、电话、邮编信息,以便我们给您邮寄捐赠票据,感谢各位爱心人士的救助! | ||||
| 四川省索玛慈善基金会 2021年2月1日 | ||||















