2021年2月2日接收捐赠的信息
发布时间 2021-02-03 丨 来源:四川省索玛慈善基金会 丨 浏览量 290
| 2月2日收到 | 财付通支付科技有限公司 | 暂未开票 | ¥50.26 | 大凉山困境学生关爱 |
| 2月2日收到 | 财付通支付科技有限公司 | 暂未开票 | ¥17,050.00 | 大凉山一帮一助学 |
| 2月2日收到 | 财付通支付科技有限公司 | 暂未开票 | ¥2,162.97 | 索玛花阳光午餐 |
| 2月2日收到 | 财付通支付科技有限公司 | 暂未开票 | ¥39.57 | 索玛花支教 |
| 2月2日收到 | 财付通支付科技有限公司 | 暂未开票 | ¥1,347.32 | 索玛花小学 |
| 2月2日收到 | 财付通支付科技有限公司 | 暂未开票 | ¥0.01 | 关爱彝区特困老人 |
| 2月2日收到 | 申琦 | 爱心捐款 | ¥400.00 | 支持孩子们学习 |
| 2月2日收到 | 广州霍斯通电气股份有限公司 | 爱心助学 | ¥2,200.00 | 爱心助学+吉克牛牛9144010173157856XP |
| 2月2日收到 | 周宇 | 爱心捐款 | ¥1.00 | |
| 2月2日收到 | 陈月新 | 爱心捐款 | ¥1.00 | |
| 2月2日收到 | 李玉霞 | 爱心捐款 | ¥1.00 | |
| 2月2日收到 | 张慧 | 爱心捐款 | ¥1.00 | |
| 2月2日收到 | 刘艳玲 | 爱心捐款 | ¥1.00 | |
| 2月2日收到 | 张慧敏 | 爱心捐款 | ¥1.00 | |
| 2月2日收到 | 马玉华 | 爱心捐款 | ¥200.00 | |
| 2月2日收到 | 鞠芸婷 | 爱心助学 | ¥8,250.00 | 资助美姑中学西昌校区困境学生吉克金里、阿牛石子、乌努乌呷 |
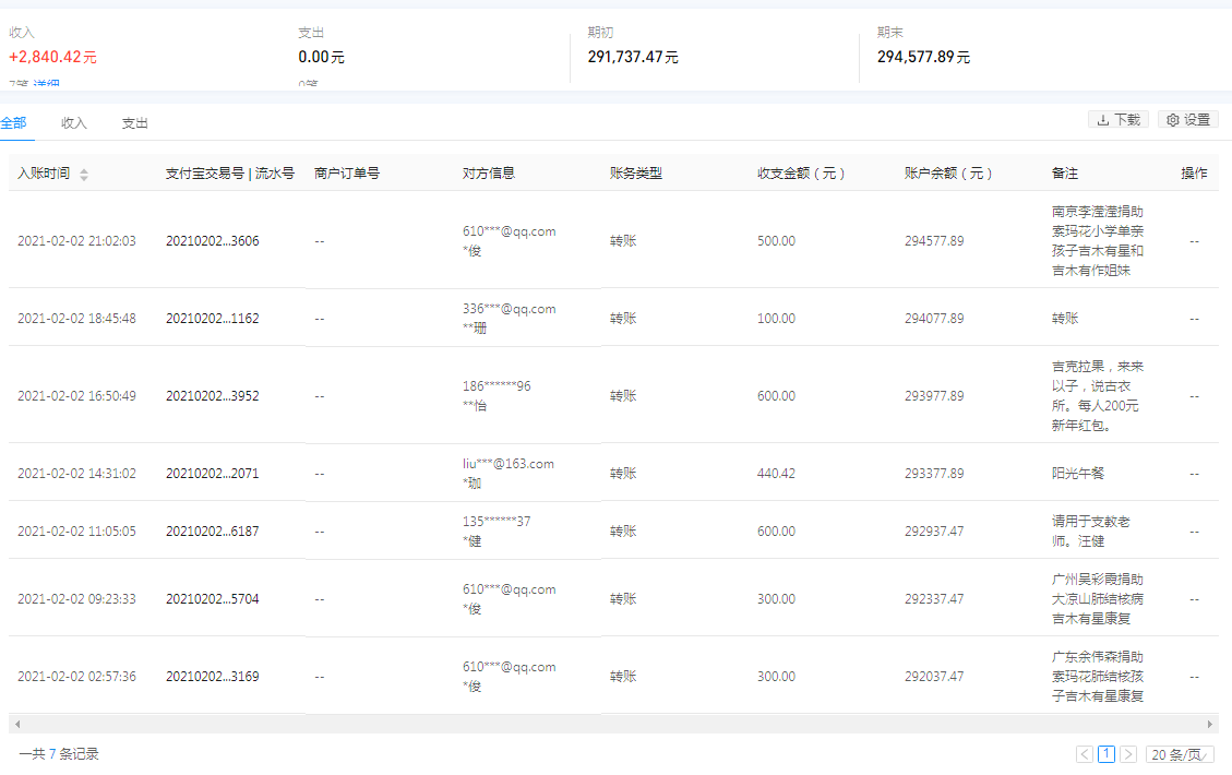
| 2月2日收到 | 南京李滢滢 | 扶贫救助 | ¥500.00 | 捐助索玛花小学单亲孩子吉木有星和吉木有作姐妹 |
| 2月2日收到 | **珊 | 爱心捐款 | ¥100.00 | 转账(支付宝暂未开票) |
| 2月2日收到 | 张旷怡 | 扶贫救助 | ¥600.00 | 吉克拉果,来来以子,说古衣所。每人200元新年红包。 |
| 2月2日收到 | *珈 | 阳光午餐 | ¥440.42 | 阳光午餐(支付宝暂未开票) |
| 2月2日收到 | 汪健 | 索玛花支教 | ¥600.00 | 请用于支教老师。 |
| 2月2日收到 | 广州吴彩霞 | 扶贫救助 | ¥300.00 | 捐助大凉山肺结核病吉木有星康复 |
| 2月2日收到 | 广东余伟森 | 扶贫救助 | ¥300.00 | 捐助索玛花肺结核孩子吉木有星康复 |
| 【通知】为规范四川省索玛慈善基金会财务,从即日起,我们将给每一位捐赠人(包括以前给我们捐赠的朋友们)据实开具捐赠票据,微信号:suomahua123,手机:18981556717,座机:0834-2507977,发送捐款截图、捐赠人(单位)姓名、收件地址、电话、邮编信息,以便我们给您邮寄捐赠票据,感谢各位爱心人士的捐助! | ||||
| 四川省索玛慈善基金会 2021年2月2日 | ||||

















