2021年1月31日接收捐赠的信息
发布时间 2021-02-01 丨 来源:四川省索玛慈善基金会 丨 浏览量 299
| 1月31日收到 | 财付通支付科技有限公司 | 暂未开票 | ¥5.31 | 大凉山困境学生关爱 |
| 1月31日收到 | 财付通支付科技有限公司 | 暂未开票 | ¥13,200.00 | 大凉山一帮一助学 |
| 1月31日收到 | 财付通支付科技有限公司 | 暂未开票 | ¥261.32 | 索玛花阳光午餐 |
| 1月31日收到 | 财付通支付科技有限公司 | 暂未开票 | ¥8.35 | 索玛花支教 |
| 1月31日收到 | 财付通支付科技有限公司 | 暂未开票 | ¥2,574.26 | 索玛花小学 |
| 1月31日收到 | 袁金锋 | 爱心助学 | ¥200.00 | 助学 |
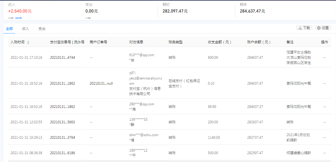
| 1月31日收到 | 范建平女士 | 爱心助学 | ¥600.00 | 捐助大凉山索玛花助学贫困山区学生 |
| 1月31日收到 | **海 | 阳光午餐 | ¥100.00 | 索玛花阳光午餐280***@qq.com(支付宝暂未开票) |
| 1月31日收到 | *静 | 爱心捐款 | ¥200.00 | 转账(支付宝暂未开票) |
| 1月31日收到 | 刘凯 | 爱心捐款 | ¥1,140.00 | 奇迹团队2021年1月份捐款 |
| 1月31日收到 | 何建峰 | 爱心捐款 | ¥500.00 | 爱心捐款 |
| 【通知】为规范四川省索玛慈善基金会财务,从即日起,我们将给每一位捐赠人(包括以前给我们捐赠的朋友们)据实开具捐赠票据,微信号:suomahua123,手机:18981556717,座机:0834-2507977,发送捐款截图、捐赠人(单位)姓名、收件地址、电话、邮编信息,以便我们给您邮寄捐赠票据,感谢各位爱心人士的救助! | ||||
| 四川省索玛慈善基金会 2021年1月31日 | ||||






