2020年1月16日接收捐赠的信息
发布时间 2021-01-18 丨 来源:四川省索玛慈善基金会 丨 浏览量 277
| 1月16日收到 | 财付通支付科技有限公司 | 暂未开票 | ¥5.10 | 大凉山困境学生关爱 |
| 1月16日收到 | 财付通支付科技有限公司 | 暂未开票 | ¥16,500.00 | 大凉山一帮一助学 |
| 1月16日收到 | 王长城 | 爱心捐款 | ¥1.00 | |
| 1月16日收到 | 赵文艳 | 爱心捐款 | ¥1.00 | |
| 1月16日收到 | 汪世霞 | 爱心捐款 | ¥1.00 | |
| 1月16日收到 | 赵超 | 爱心捐款 | ¥1.00 | |
| 1月16日收到 | 蒋洋敏 | 爱心捐款 | ¥1.00 | |
| 1月16日收到 | 赵菲 | 爱心捐款 | ¥1.00 | |
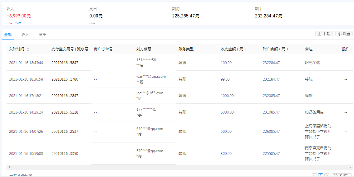
| 1月16日收到 | 黄继海 | 阳光午餐 | ¥100.00 | 阳光午餐151******58 |
| 1月16日收到 | 王靓靓 | 爱心捐款 | ¥99.00 | 转账 |
| 1月16日收到 | 钱科 | 阳光午餐 | ¥1,000.00 | 阳光午餐 |
| 1月16日收到 | 上海李嘉铭 | 扶贫救助 | ¥500.00 | 捐助兰希黎小学孤儿阿体书子 |
| 1月16日收到 | 南京宫克君 | 扶贫救助 | ¥300.00 | 捐助兰希黎小学孤儿阿体书子 |
| 【通知】为规范四川省索玛慈善基金会财务,从即日起,我们将给每一位捐赠人(包括以前给我们捐赠的朋友们)据实开具捐赠票据,微信号:suomahua123,手机:18981556717,座机:0834-2507977,发送捐款截图、捐赠人(单位)姓名、收件地址、电话、邮编信息,以便我们给您邮寄捐赠票据,感谢各位爱心人士的捐助! | ||||
| 四川省索玛慈善基金会 2021年1月16日 | ||||













