2021年1月15日接收捐赠的信息
发布时间 2021-01-18 丨 来源:四川省索玛慈善基金会 丨 浏览量 299
| 1月15日收到 | 财付通支付科技有限公司 | 暂未开票 | ¥4.01 | 大凉山困境学生关爱 |
| 1月15日收到 | 财付通支付科技有限公司 | 暂未开票 | ¥2,750.00 | 大凉山一帮一助学 |
| 1月15日收到 | 严树基 | 阳光午餐 | ¥400.00 | 捐赠索玛花阳光午餐 |
| 1月15日收到 | 赵辉 | 爱心助学 | ¥1,650.00 | 资助晨光小学吉克石子 |
| 1月15日收到 | 陈家伟 | 爱心捐款 | ¥1.00 | |
| 1月15日收到 | 赵依文 | 爱心捐款 | ¥1.00 | |
| 1月15日收到 | 柯会 | 爱心捐款 | ¥1.00 | |
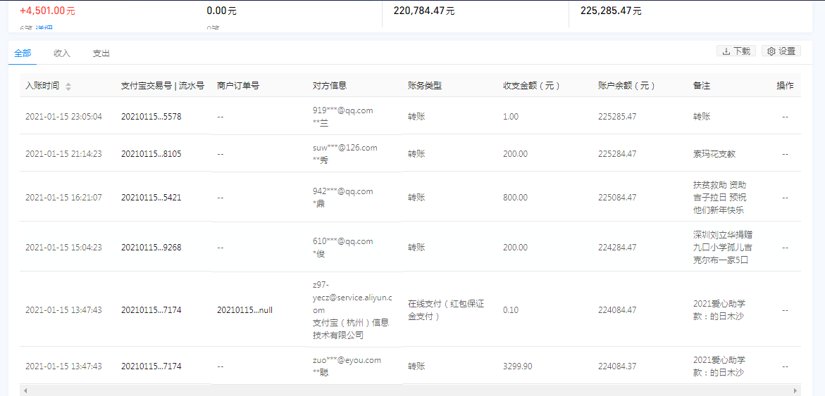
| 1月15日收到 | **兰 | 爱心捐款 | ¥1.00 | 转账(支付宝暂未开票) |
| 1月15日收到 | **秀 | 索玛花支教 | ¥200.00 | 索玛花支教(支付宝暂未开票) |
| 1月15日收到 | 郭鼎 | 扶贫救助 | ¥800.00 | 扶贫救助 资助吉子拉日 预祝他们新年快乐 |
| 1月15日收到 | 深圳刘立华 | 扶贫救助 | ¥200.00 | 捐赠九口小学孤儿吉克尔布一家5口 |
| 1月15日收到 | 陈亦聪 | 爱心助学 | ¥3,300.00 | 2021爱心助学款:的日木沙 |
| 【通知】为规范四川省索玛慈善基金会财务,从即日起,我们将给每一位捐赠人(包括以前给我们捐赠的朋友们)据实开具捐赠票据,微信号:suomahua123,手机:18981556717,座机:0834-2507977,发送捐款截图、捐赠人(单位)姓名、收件地址、电话、邮编信息,以便我们给您邮寄捐赠票据,感谢各位爱心人士的救助! | ||||
| 四川省索玛慈善基金会 2021年1月15日 | ||||










