2021年1月17日接收捐赠的信息
发布时间 2021-01-18 丨 来源:四川省索玛慈善基金会 丨 浏览量 316
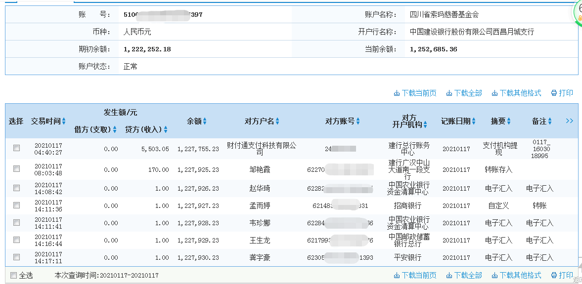
| 1月17日收到 | 财付通支付科技有限公司 | 暂未开票 | ¥3.05 | 大凉山困境学生关爱 |
| 1月17日收到 | 财付通支付科技有限公司 | 暂未开票 | ¥5,500.00 | 大凉山一帮一助学 |
| 1月17日收到 | 邹艳霞 | 爱心捐款 | ¥170.00 | |
| 1月17日收到 | 赵华琦 | 爱心捐款 | ¥1.00 | |
| 1月17日收到 | 孟雨婷 | 爱心捐款 | ¥1.00 | |
| 1月17日收到 | 韦珍娜 | 爱心捐款 | ¥1.00 | |
| 1月17日收到 | 王生龙 | 爱心捐款 | ¥1.00 | |
| 1月17日收到 | 龚宇豪 | 爱心捐款 | ¥1.00 | |
| 1月17日收到 | 胡业杲 | 阳光午餐 | ¥200.00 | 阳光午餐 |
| 【通知】为规范四川省索玛慈善基金会财务,从即日起,我们将给每一位捐赠人(包括以前给我们捐赠的朋友们)据实开具捐赠票据,微信号:suomahua123,手机:18981556717,座机:0834-2507977,发送捐款截图、捐赠人(单位)姓名、收件地址、电话、邮编信息,以便我们给您邮寄捐赠票据,感谢各位爱心人士的救助! | ||||
| 四川省索玛慈善基金会 2021年1月17日 | ||||









