2020年9月14日接收捐赠的信息
发布时间 2020-09-15 丨 来源:四川省索玛慈善基金会 丨 浏览量 244
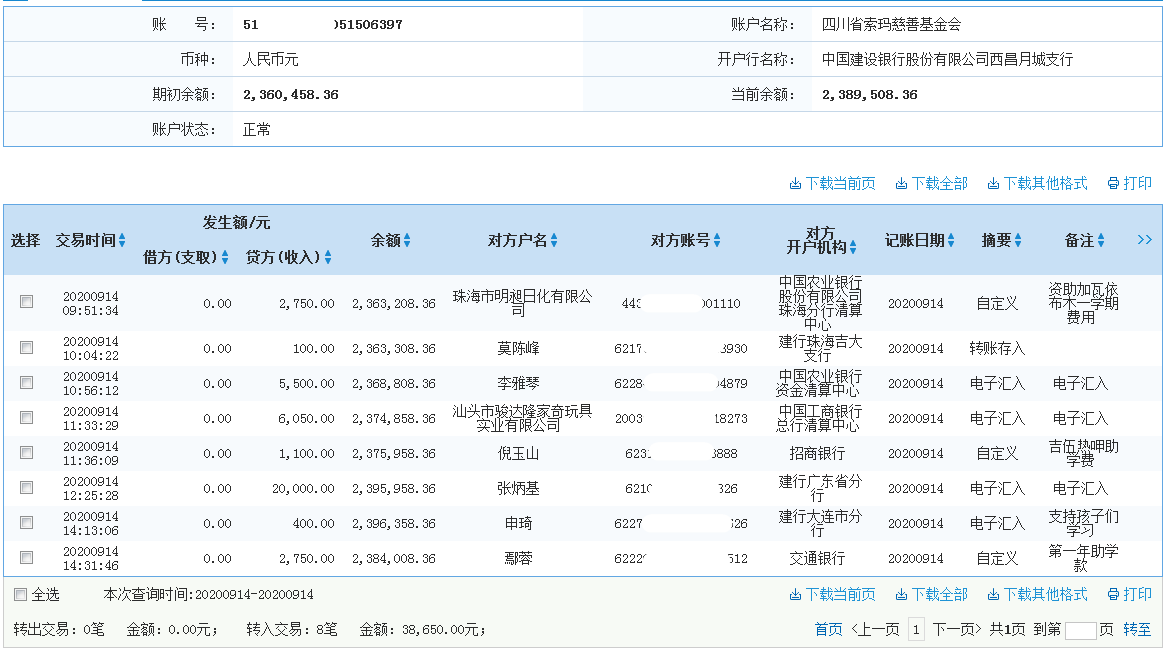
| 9月14日收到 | 李雅琴 | 爱心助学 | ¥5,500.00 | 资助吉古克的、申木加、罗阿静 |
| 9月14日收到 | 汕头市骏达隆家奇玩具实业有限公司 | 爱心助学 | ¥6,050.00 | 资助沙金雄和沙阿木 |
| 9月14日收到 | 倪玉山 | 爱心助学 | ¥1,100.00 | 吉伍热呷助学费 |
| 9月14日收到 | 张炳基 | 爱心捐款 | ¥20,000.00 | 电子汇入 |
| 9月14日收到 | 申琦 | 爱心捐款 | ¥400.00 | 支持孩子们学习 |
| 9月14日收到 | 鄢蓉 | 爱心助学 | ¥2,750.00 | 第一年助学款 |
| 9月14日收到 | 郭聿华 | 爱心助学 | ¥2,200.00 | 贾斯阿呷学费,郭聿华 |
| 9月14日收到 | 王济溱 | 爱心助学 | ¥1,650.00 | 资助吉克秀英 |
| 9月14日收到 | 郑为媛 | 爱心助学 | ¥4,400.00 | 资助刘浩勋和田寅午 |
| 9月14日收到 | 邓雅慧 | 爱心助学 | ¥2,200.00 | 索玛花爱心助学吉主曲里同学 |
| 9月14日收到 | 陈晓燕 | 爱心助学 | ¥2,750.00 | |
| 9月14日收到 | 曲允瑞 | 爱心助学 | ¥2,750.00 | 索玛花爱心助学—“一对一”吉拉布吉 生活费 |
| 9月14日收到 | 陶淇淇 | 爱心助学 | ¥2,842.00 | 资助吉布尔机 |
| 9月14日收到 | 吴轶 | 爱心助学 | ¥2,200.00 | 索玛花爱心助学(生吞瓦尔) |
| 9月14日收到 | 刘小溪 | 爱心助学 | ¥3,300.00 | 资助洛尔衣古 |
| 9月14日收到 | 黄小龙 | 爱心助学 | ¥2,750.00 | 爱心助学(麻卡金史莫) |
| 【通知】为规范四川省索玛慈善基金会财务,从即日起,我们将给每一位捐赠人(包括以前给我们捐赠的朋友们)据实开具捐赠票据,微信号:suomahua123,手机:18981556717,座机:0834-2507977,发送捐款截图、捐赠人(单位)姓名、收件地址、电话、邮编信息,以便我们给您邮寄捐赠票据,感谢各位爱心人士的捐助! | ||||
| 四川省索玛慈善基金会 2020年9月14日 | ||||




















