2020年9月13日接收捐赠的信息
发布时间 2020-09-14 丨 来源:四川省索玛慈善基金会 丨 浏览量 216
| 9月13日收到 | 赵汗青 | 爱心捐款 | ¥200.00 | 赵牛牛小朋友的生日蛋糕钱,给有需要的小朋友 |
| 9月13日收到 | 赵明 | 爱心助学 | ¥2,200.00 | 资助伍辉夏 |
| 9月13日收到 | 领航机师(北京)飞行俱乐部有限公司 | 爱心助学 | ¥3,300.00 | 索玛花爱心助学(曲比曲作)91110113MA01JH3P16 |
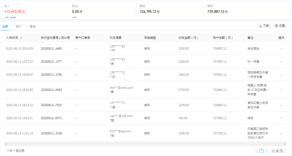
| 9月13日收到 | 张利平 | 爱心助学 | ¥2,200.00 | 吉古医生 |
| 9月13日收到 | 卢燕 | 爱心助学 | ¥2,200.00 | 资助吉克么老古 |
| 9月13日收到 | 赵世欣 | 爱心助学 | ¥2,842.00 | 资助曲笔五牛第一年学杂费 |
| 9月13日收到 | 陈霁 | 爱心助学 | ¥2,750.00 | 资助 沙马伍来莫一年学费 |
| 9月13日收到 | 汪雨薇 | 爱心助学 | ¥2,200.00 | 索玛花爱心助学 吉古衣曲 |
| 9月13日收到 | 王盟 | 爱心助学 | ¥500.00 | 资助吉主惹子 |
| 9月13日收到 | 河南周口李顺芳 | 扶贫救助 | ¥1,000.00 | 救助寡妇克日衣子和5个孩子 |
| 【通知】为规范四川省索玛慈善基金会财务,从即日起,我们将给每一位捐赠人(包括以前给我们捐赠的朋友们)据实开具捐赠票据,微信号:suomahua123,手机:18981556717,座机:0834-2507977,发送捐款截图、捐赠人(单位)姓名、收件地址、电话、邮编信息,以便我们给您邮寄捐赠票据,感谢各位爱心人士的救助! | ||||
| 四川省索玛慈善基金会 2020年9月13日 | ||||












