2020年9月15日接收捐赠的信息
发布时间 2020-09-16 丨 来源:四川省索玛慈善基金会 丨 浏览量 185
| 9月15日收到 | 张萍 | 爱心助学 | ¥2,750.00 | 吉尔木牛助学款 |
| 9月15日收到 | 杨郑红 | 爱心助学 | ¥2,750.00 | 杨郑红资助美姑中学吉牛牛洛 |
| 9月15日收到 | 何洪 | 爱心助学 | ¥1,100.00 | 资助马海林作 |
| 9月15日收到 | 刘新 | 爱心助学 | ¥2,200.00 | 助学祝玛央宗(来自刘新 |
| 9月15日收到 | 李振兴 | 爱心助学 | ¥2,750.00 | 爱心助学+曲比衣作 |
| 9月15日收到 | 严书煌 | 爱心助学 | ¥2,200.00 | 索玛花爱心助学(瓦尔金子 |
| 9月15日收到 | 窦艳 | 爱心助学 | ¥2,750.00 | 爱心助学-海来子三 |
| 9月15日收到 | 谢彬 | 爱心助学 | ¥1,100.00 | 一对一助学吉克日子 |
| 9月15日收到 | 衣倬贤 | 爱心助学 | ¥1,000.00 | 静水一泓,衣倬贤助学 |
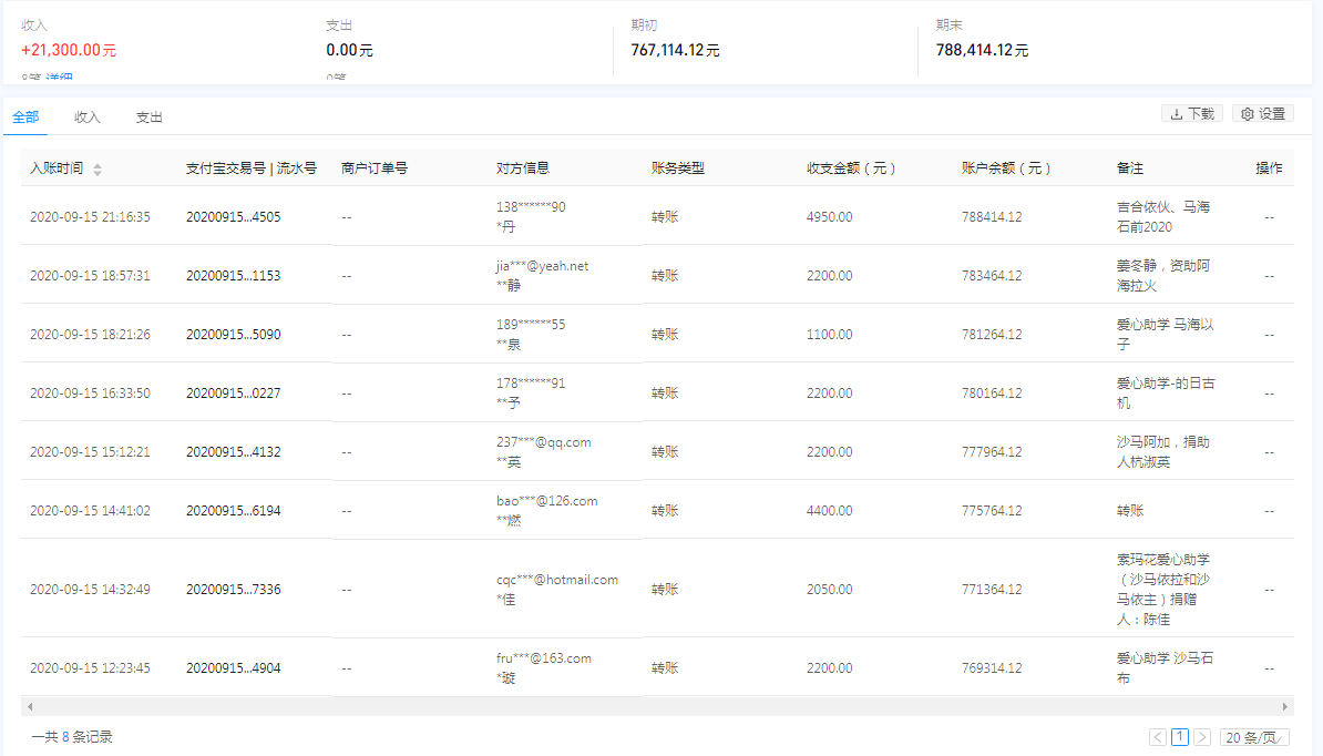
| 9月15日收到 | 薛丹 | 爱心助学 | ¥4,950.00 | 吉合依伙、马海石前2020 |
| 9月15日收到 | 姜冬静 | 爱心助学 | ¥2,200.00 | 资助阿海拉火 |
| 9月15日收到 | 周洪泉 | 爱心助学 | ¥1,100.00 | 爱心助学 马海以子 |
| 9月15日收到 | 张馨予 | 爱心助学 | ¥2,200.00 | 爱心助学-的日古机 |
| 9月15日收到 | 杭淑英 | 爱心助学 | ¥2,200.00 | 沙马阿加 |
| 9月15日收到 | 深圳市如聿空间设计有限公司 | 爱心助学 | ¥4,400.00 | 91440300MA5EJB5716 资助仁青娜姆和吉友石者 |
| 9月15日收到 | 陈佳 | 爱心助学 | ¥2,050.00 | 资助沙马依拉和沙马依主 |
| 9月15日收到 | 李璇 | 爱心助学 | ¥2,200.00 | 爱心助学 沙马石布 |
| 【通知】为规范四川省索玛慈善基金会财务,从即日起,我们将给每一位捐赠人(包括以前给我们捐赠的朋友们)据实开具捐赠票据,微信号:suomahua123,手机:18981556717,座机:0834-2507977,发送捐款截图、捐赠人(单位)姓名、收件地址、电话、邮编信息,以便我们给您邮寄捐赠票据,感谢各位爱心人士的救助! | ||||
| 四川省索玛慈善基金会 2020年9月15日 | ||||


















