2020年9月12日接收捐赠的信息
发布时间 2020-09-14 丨 来源:四川省索玛慈善基金会 丨 浏览量 226
| 9月12日收到 | 余蓝 | 爱心助学 | ¥4,400.00 | 吉克子石助学款-余蓝 |
| 9月12日收到 | 刘南冰 | 行政费用 | ¥6,300.00 | 索玛花9月行政费-深圳UB |
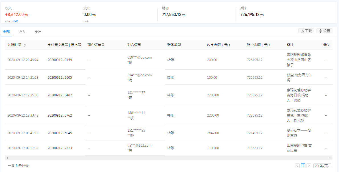
| 9月12日收到 | 贵阳赵利媛 | 爱心捐款 | ¥200.00 | 捐助大凉山贫困山区孩子 |
| 9月12日收到 | 燚尘 | 阳光午餐 | ¥100.00 | 助力阳光午餐 |
| 9月12日收到 | 师萌 | 爱心助学 | ¥2,200.00 | 索玛花爱心助学 吉海日根 |
| 9月12日收到 | 刘元桢 | 爱心助学 | ¥2,200.00 | 索玛花爱心助学 莫色叶兰 : |
| 9月12日收到 | 张楠熙 | 爱心助学 | ¥2,842.00 | 爱心助学——俄则惹作 |
| 9月12日收到 | 田园 | 爱心助学 | ¥1,100.00 | 资助巴古 吉瓦以布 |
| 【通知】为规范四川省索玛慈善基金会财务,从即日起,我们将给每一位捐赠人(包括以前给我们捐赠的朋友们)据实开具捐赠票据,微信号:suomahua123,手机:18981556717,座机:0834-2507977,发送捐款截图、捐赠人(单位)姓名、收件地址、电话、邮编信息,以便我们给您邮寄捐赠票据,感谢各位爱心人士的捐助! | ||||
| 四川省索玛慈善基金会 2020年9月12日 | ||||









