2021年1月9日接收捐赠的信息
发布时间 2021-01-11 丨 来源:四川省索玛慈善基金会 丨 浏览量 304
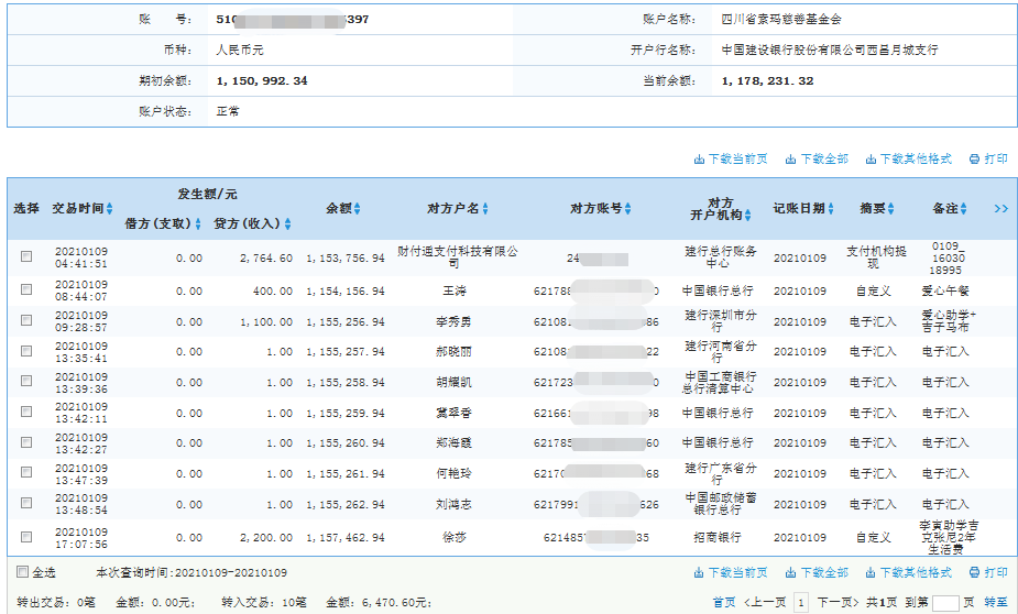
| 1月9日收到 | 财付通支付科技有限公司 | 暂未开票 | ¥14.60 | 大凉山困境学生关爱 |
| 1月9日收到 | 财付通支付科技有限公司 | 暂未开票 | ¥2,750.00 | 大凉山一帮一助学 |
| 1月9日收到 | 王涛 | 阳光午餐 | ¥400.00 | 爱心午餐 |
| 1月9日收到 | 李秀勇 | 爱心助学 | ¥1,100.00 | 爱心助学+吉子马布(暂不开票) |
| 1月9日收到 | 郝晓丽 | 爱心捐款 | ¥1.00 | |
| 1月9日收到 | 胡耀凯 | 爱心捐款 | ¥1.00 | |
| 1月9日收到 | 冀翠香 | 爱心捐款 | ¥1.00 | |
| 1月9日收到 | 郑海霞 | 爱心捐款 | ¥1.00 | |
| 1月9日收到 | 何艳玲 | 爱心捐款 | ¥1.00 | |
| 1月9日收到 | 刘鸿志 | 爱心捐款 | ¥1.00 | |
| 1月9日收到 | 廖桦 | 爱心助学 | ¥2,200.00 | 李寅助学吉克张尼2年生活费 |
| 1月9日收到 | 沈红平 | 爱心捐款 | ¥508.00 | 阳光学习 |
| 1月9日收到 | 谢旭萍 | 阳光午餐 | ¥5,000.00 | 捐助索玛花爱心阳光午餐 |
| 【通知】为规范四川省索玛慈善基金会财务,从即日起,我们将给每一位捐赠人(包括以前给我们捐赠的朋友们)据实开具捐赠票据,微信号:suomahua123,手机:18981556717,座机:0834-2507977,发送捐款截图、捐赠人(单位)姓名、收件地址、电话、邮编信息,以便我们给您邮寄捐赠票据,感谢各位爱心人士的救助! | ||||
| 四川省索玛慈善基金会 2021年1月9日 | ||||












