2021年1月8日接收捐赠的信息
发布时间 2021-01-11 丨 来源:四川省索玛慈善基金会 丨 浏览量 284
| 1月8日收到 | 财付通支付科技有限公司 | 暂未开票 | ¥203.03 | 大凉山困境学生关爱 |
| 1月8日收到 | 财付通支付科技有限公司 | 暂未开票 | ¥8,250.00 | 大凉山一帮一助学 |
| 1月8日收到 | 李天亮 | 爱心捐款 | ¥100.00 | 生活费 |
| 1月8日收到 | 欧阳虹 | 爱心助学 | ¥2,200.00 | 爱心助学牛牛坝中学沙玛惹古 |
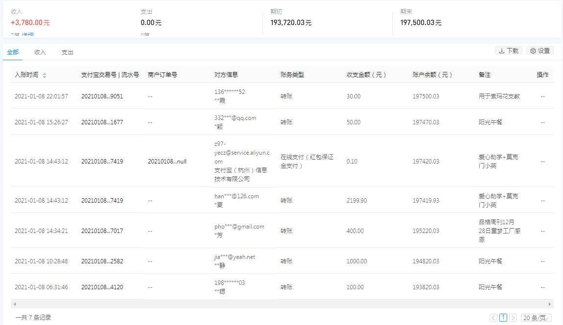
| 1月8日收到 | **霞 | 索玛花支教 | ¥30.00 | 用于索玛花支教(支付宝暂未开票) |
| 1月8日收到 | *颖 | 阳光午餐 | ¥50.00 | 阳光午餐(支付宝暂未开票) |
| 1月8日收到 | 韩夏 | 爱心助学 | ¥2,200.00 | 爱心助学+莫克门小英 |
| 1月8日收到 | *芳 | 索玛花小学 | ¥400.00 | 品格周刊12月28日童梦工厂感恩(支付宝暂未开票) |
| 1月8日收到 | **静 | 阳光午餐 | ¥1,000.00 | 阳光午餐(支付宝暂未开票) |
| 1月8日收到 | **锶 | 阳光午餐 | ¥100.00 | 阳光午餐(支付宝暂未开票) |
| 【通知】为规范四川省索玛慈善基金会财务,从即日起,我们将给每一位捐赠人(包括以前给我们捐赠的朋友们)据实开具捐赠票据,微信号:suomahua123,手机:18981556717,座机:0834-2507977,发送捐款截图、捐赠人(单位)姓名、收件地址、电话、邮编信息,以便我们给您邮寄捐赠票据,感谢各位爱心人士的捐助! | ||||
| 四川省索玛慈善基金会 2021年1月8日 | ||||





