2021年1月1日接收捐赠的信息
发布时间 2021-01-04 丨 来源:四川省索玛慈善基金会 丨 浏览量 307
| 1月1日收到 | 财付通支付科技有限公司 | 暂未开票 | ¥8.16 | 大凉山困境学生关爱 |
| 1月1日收到 | 财付通支付科技有限公司 | 暂未开票 | ¥24,750.00 | 大凉山一帮一助学 |
| 1月1日收到 | 石峰 | 爱心捐款 | ¥100.00 | 电子汇入 |
| 1月1日收到 | 四川博明图科技有限公司 | 索玛花支教 | ¥1,500.00 | 索玛花支教/电话:15609010506/姓名:陈世川 |
| 1月1日收到 | 张晓松 | 爱心捐款 | ¥100.00 | 电子汇入 |
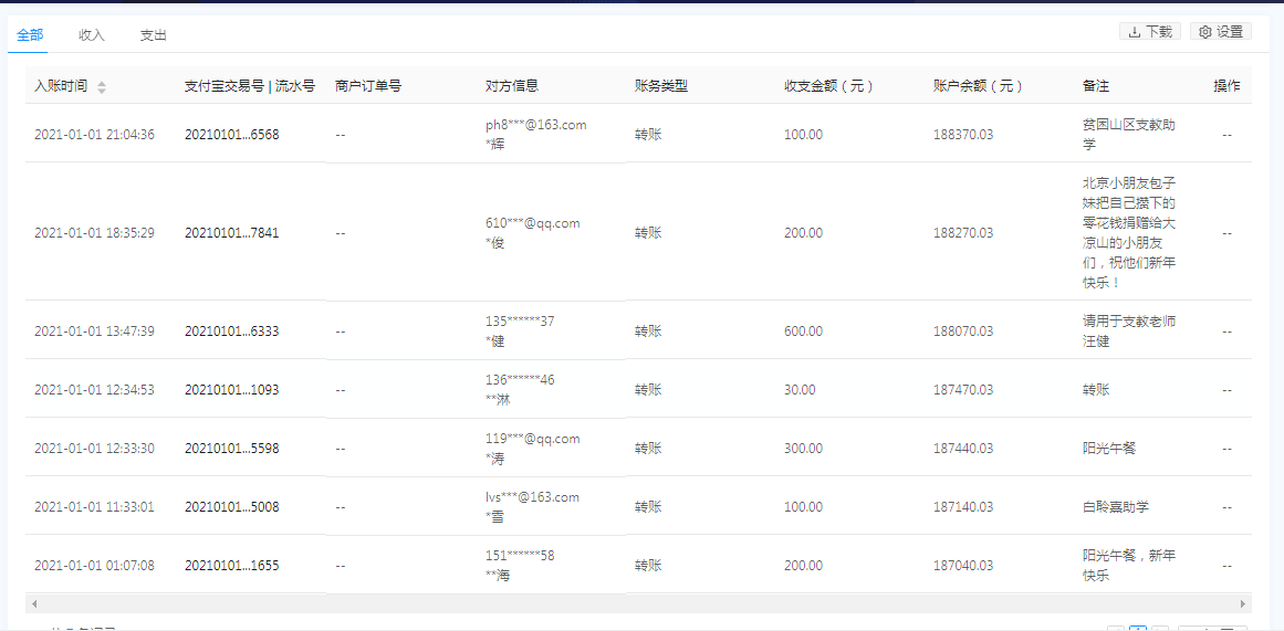
| 1月1日收到 | *辉 | 索玛花支教 | ¥100.00 | 贫困山区支教助学(支付宝暂未开票) |
| 1月1日收到 | 北京小朋友包子妹 | 爱心捐款 | ¥200.00 | 把自己攒下的零花钱捐赠给大凉山的小朋友们,祝他们新年快乐! |
| 1月1日收到 | 汪健 | 索玛花支教 | ¥600.00 | 请用于支教老师 |
| 1月1日收到 | **淋 | 爱心捐款 | ¥30.00 | 转账(支付宝暂未开票) |
| 1月1日收到 | *涛 | 阳光午餐 | ¥300.00 | 阳光午餐119***@qq.com(支付宝暂未开票) |
| 1月1日收到 | 白聆熹 | 爱心助学 | ¥100.00 | 助学 |
| 1月1日收到 | 黄继海 | 阳光午餐 | ¥200.00 | 阳光午餐,新年快151******58(支付宝暂未开票) |
| 【通知】为规范四川省索玛慈善基金会财务,从即日起,我们将给每一位捐赠人(包括以前给我们捐赠的朋友们)据实开具捐赠票据,微信号:suomahua123,手机:18981556717,座机:0834-2507977,发送捐款截图、捐赠人(单位)姓名、收件地址、电话、邮编信息,以便我们给您邮寄捐赠票据,感谢各位爱心人士的救助! | ||||
| 四川省索玛慈善基金会 2021年1月1日 | ||||









