2020年12月31日接收捐赠的信息
发布时间 2021-01-04 丨 来源:四川省索玛慈善基金会 丨 浏览量 316
| 12月31日收到 | 财付通支付科技有限公司 | 暂未开票 | ¥854.00 | 大凉山困境学生关爱 |
| 12月31日收到 | 董精明 | 爱心助学 | ¥2,200.00 | 资助海来伍加 |
| 12月31日收到 | 汕头市骏达隆家奇玩具实业有限公司 | 爱心助学 | ¥22,920.00 | 资助阿尔惹子 阿尔杨杨 吉拉金古 马卡约子 吉莫以伍 吉明妹妹 确木叶者 沈尔尔石 吉说小风 曲比以前 |
| 12月31日收到 | 张炳基 | 爱心捐款 | ¥20,000.00 | |
| 12月31日收到 | 袁金锋 | 爱心捐款 | ¥200.00 | 电子汇入 |
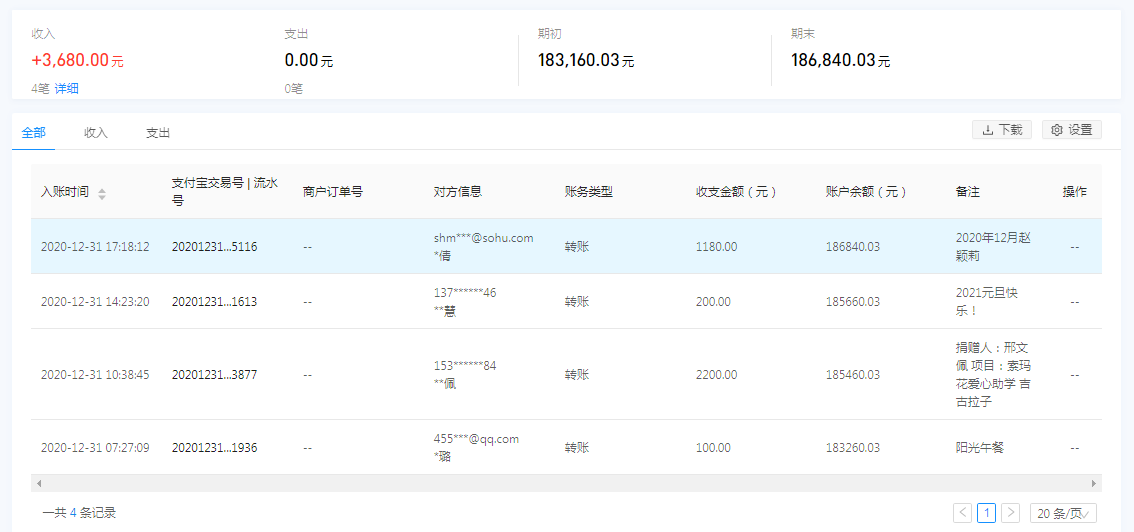
| 12月31日收到 | 赵颖莉 | 爱心捐款 | ¥1,180.00 | 奇迹团队12月捐款 |
| 12月31日收到 | **慧 | 爱心捐款 | ¥200.00 | 2021元旦快乐!(支付宝暂未开票) |
| 12月31日收到 | 邢文佩 | 爱心助学 | ¥2,200.00 | 索玛花爱心助学 吉古拉子 |
| 12月31日收到 | *璐 | 阳光午餐 | ¥100.00 | 阳光午餐(支付宝暂未开票) |
| 【通知】为规范四川省索玛慈善基金会财务,从即日起,我们将给每一位捐赠人(包括以前给我们捐赠的朋友们)据实开具捐赠票据,微信号:suomahua123,手机:18981556717,座机:0834-2507977,发送捐款截图、捐赠人(单位)姓名、收件地址、电话、邮编信息,以便我们给您邮寄捐赠票据,感谢各位爱心人士的捐助! | ||||
| 四川省索玛慈善基金会 2020年12月31日 | ||||








