2020年11月2日接收捐赠的信息
发布时间 2020-11-03 丨 来源:四川省索玛慈善基金会 丨 浏览量 235
| 11月2日收到 | 万娜 | 爱心助学 | ¥2,200.00 | 马海乌呷生活费 |
| 11月2日收到 | 吴妙韵 | 爱心助学 | ¥2,200.00 | 资助牛牛坝阿候依林 |
| 11月2日收到 | 丁先梅 | 爱心助学 | ¥1,100.00 | 资助巴古吉比小花 |
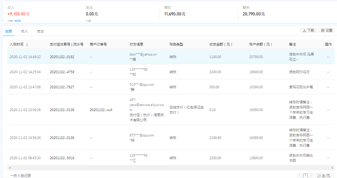
| 11月2日收到 | 谭巧娟 | 爱心助学 | ¥1,100.00 | 资助牛牛坝 马黑石立~ |
| 11月2日收到 | 王聚和 | 爱心助学 | ¥3,300.00 | 资助阿尔马日 |
| 11月2日收到 | 张静 | 阳光午餐 | ¥300.00 | 索玛花阳光午餐 |
| 11月2日收到 | 张娴 | 爱心助学 | ¥2,200.00 | 资助吉夺阿西一个学年的学习生活费、执行费 |
| 11月2日收到 | 张理江 | 爱心助学 | ¥2,200.00 | 资助牛牛坝曲比衣西 |
| 【通知】为规范四川省索玛慈善基金会财务,从即日起,我们将给每一位捐赠人(包括以前给我们捐赠的朋友们)据实开具捐赠票据,微信号:suomahua123,手机:18981556717,座机:0834-2507977,发送捐款截图、捐赠人(单位)姓名、收件地址、电话、邮编信息,以便我们给您邮寄捐赠票据,感谢各位爱心人士的捐助! | ||||
| 四川省索玛慈善基金会 2020年11月2日 | ||||











