2020年11月1日接收捐赠的信息
发布时间 2020-11-02 丨 来源:四川省索玛慈善基金会 丨 浏览量 246
| 11月1日收到 | 石峰 | 爱心捐款 | ¥100.00 | 电子汇入 |
| 11月1日收到 | 袁金锋 | 爱心助学 | ¥200.00 | 助学 |
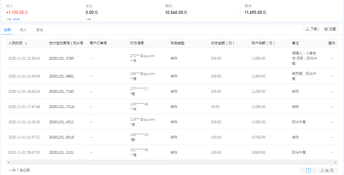
| 11月1日收到 | 小春老师 | 阳光午餐 | ¥200.00 | 项目:阳光午餐 |
| 11月1日收到 | 钱丽媛 | 阳光午餐 | ¥200.00 | 阳光午餐 |
| 11月1日收到 | 李青 | 爱心捐款 | ¥200.00 | 转账 |
| 11月1日收到 | **淋 | 爱心捐款 | ¥30.00 | 转账(支付宝暂未开票) |
| 11月1日收到 | *涛 | 阳光午餐 | ¥300.00 | 阳光午餐119***@qq.com(支付宝暂未开票) |
| 11月1日收到 | *静 | 爱心捐款 | ¥100.00 | (支付宝暂未开票) |
| 11月1日收到 | 黄继海 | 阳光午餐 | ¥100.00 | 阳光午餐 |
| 【通知】为规范四川省索玛慈善基金会财务,从即日起,我们将给每一位捐赠人(包括以前给我们捐赠的朋友们)据实开具捐赠票据,微信号:suomahua123,手机:18981556717,座机:0834-2507977,发送捐款截图、捐赠人(单位)姓名、收件地址、电话、邮编信息,以便我们给您邮寄捐赠票据,感谢各位爱心人士的救助! | ||||
| 四川省索玛慈善基金会 2020年11月1日 | ||||








