2020年10月30日接收捐赠的信息
发布时间 2020-11-02 丨 来源:四川省索玛慈善基金会 丨 浏览量 287
| 10月30日收到 | 高华津 | 爱心助学 | ¥3,850.00 | 资助沙马阿呷和俄木小英 |
| 10月30日收到 | 周泽峰 | 爱心捐款 | ¥200.00 | 支持,周泽峰 |
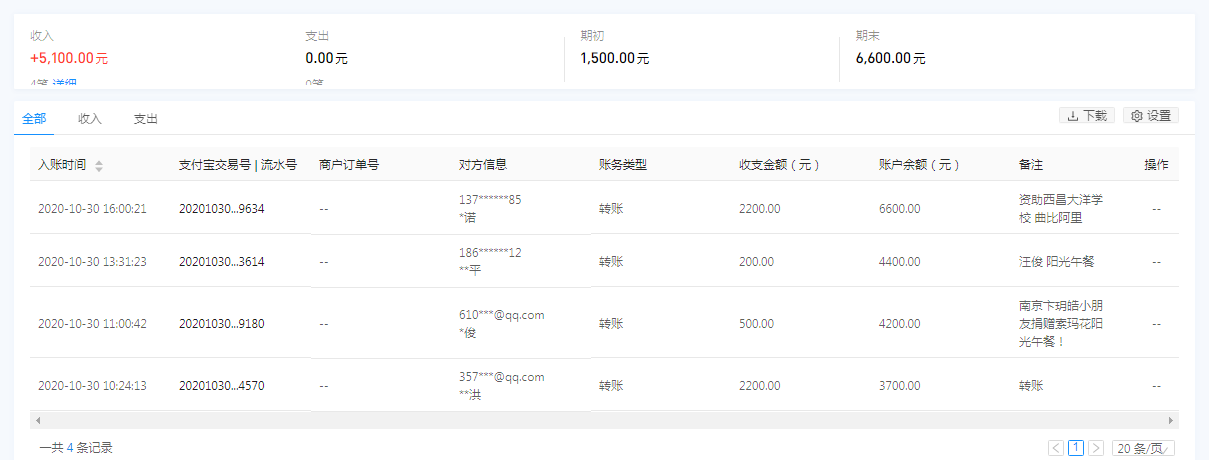
| 10月30日收到 | 许诺 | 爱心助学 | ¥2,200.00 | 资助西昌大洋学校 曲比阿里 |
| 10月30日收到 | 汪俊 | 阳光午餐 | ¥200.00 | 阳光午餐 |
| 10月30日收到 | 南京卞玥皓小朋友 | 阳光午餐 | ¥500.00 | 捐赠索玛花阳光午餐! |
| 10月30日收到 | 赵启洪 | 爱心助学 | ¥2,200.00 | 资助阿伍约洗 |
| 【通知】为规范四川省索玛慈善基金会财务,从即日起,我们将给每一位捐赠人(包括以前给我们捐赠的朋友们)据实开具捐赠票据,微信号:suomahua123,手机:18981556717,座机:0834-2507977,发送捐款截图、捐赠人(单位)姓名、收件地址、电话、邮编信息,以便我们给您邮寄捐赠票据,感谢各位爱心人士的捐助! | ||||
| 四川省索玛慈善基金会 2020年10月30日 | ||||








