2020年10月29日接收捐赠的信息
发布时间 2020-10-30 丨 来源:四川省索玛慈善基金会 丨 浏览量 198
| 10月29日收到 | 展天赐 | 爱心捐款 | ¥5,000.00 | 电子汇入 |
| 10月29日收到 | 深圳伟旺佳实业发展有限公司 | 爱心助学 | ¥2,200.00 | 资助 吉克子伍:91440300790459958K |
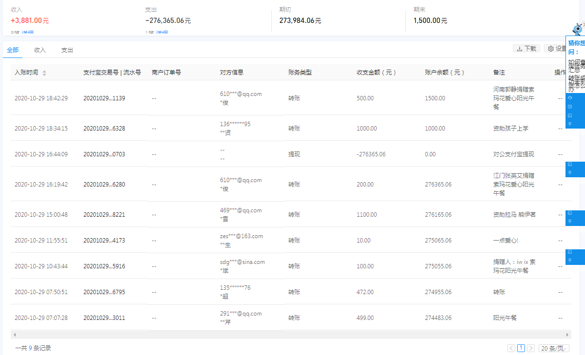
| 10月29日收到 | 河南郭静 | 阳光午餐 | ¥500.00 | 捐赠索玛花爱心阳光午餐 |
| 10月29日收到 | 胡凝 | 爱心助学 | ¥1,000.00 | 资助孩子上学 |
| 10月29日收到 | 江门张英艾 | 阳光午餐 | ¥200.00 | 捐赠索玛花爱心阳光午餐 |
| 10月29日收到 | 陈雪 | 爱心助学 | ¥1,100.00 | 资助拉马 熊伊茗 |
| 10月29日收到 | **生 | 爱心捐款 | ¥10.00 | 一点爱心!(支付宝暂未开票) |
| 10月29日收到 | iwix | 阳光午餐 | ¥100.00 | 索玛花阳光午餐 |
| 10月29日收到 | 周南廷 | 阳光午餐 | ¥472.00 | 阳光午餐 |
| 10月29日收到 | 吴丽芹 | 阳光午餐 | ¥499.00 | 阳光午餐 |
| 【通知】为规范四川省索玛慈善基金会财务,从即日起,我们将给每一位捐赠人(包括以前给我们捐赠的朋友们)据实开具捐赠票据,微信号:suomahua123,手机:18981556717,座机:0834-2507977,发送捐款截图、捐赠人(单位)姓名、收件地址、电话、邮编信息,以便我们给您邮寄捐赠票据,感谢各位爱心人士的救助! | ||||
| 四川省索玛慈善基金会 2020年10月29日 | ||||











