2020年10月27日接收捐赠的信息
发布时间 2020-10-28 丨 来源:四川省索玛慈善基金会 丨 浏览量 236
| 10月27日收到 | 王景文 | 爱心助学 | ¥1,375.00 | 资助曲比子布 |
| 10月27日收到 | 严香平 | 爱心助学 | ¥1,100.00 | 资助海来石洛 |
| 10月27日收到 | 刘楠 | 爱心助学 | ¥3,300.00 | 资助吉布尔哈、吉布依古莫 |
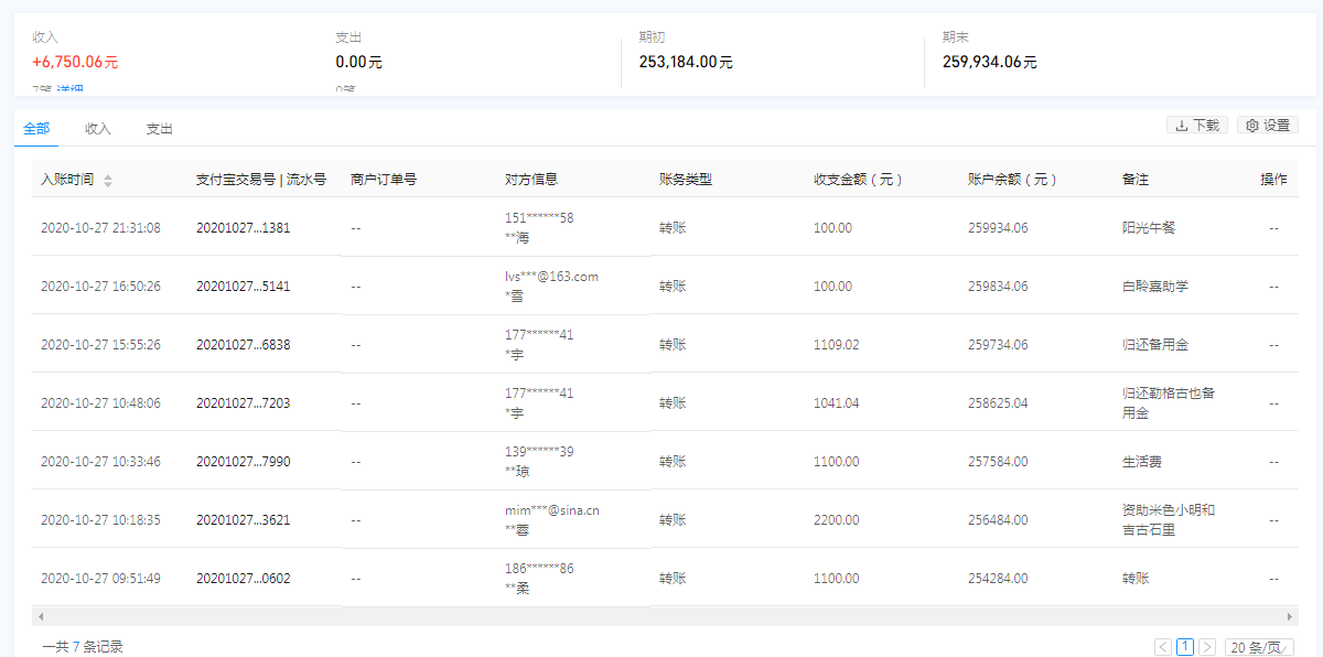
| 10月27日收到 | 黄继海 | 阳光午餐 | ¥100.00 | 阳光午餐151******58 |
| 10月27日收到 | 白聆熹 | 爱心助学 | ¥100.00 | 助学 |
| 10月27日收到 | 谢秀琼 | 爱心助学 | ¥1,100.00 | 资助吉克以曲 |
| 10月27日收到 | **蓉 | 爱心助学 | ¥2,200.00 | 资助米色小明和吉古石里暂不开发票 |
| 10月27日收到 | 蒋文平 | 爱心助学 | ¥1,100.00 | 资助石一阿良 |
| 【通知】为规范四川省索玛慈善基金会财务,从即日起,我们将给每一位捐赠人(包括以前给我们捐赠的朋友们)据实开具捐赠票据,微信号:suomahua123,手机:18981556717,座机:0834-2507977,发送捐款截图、捐赠人(单位)姓名、收件地址、电话、邮编信息,以便我们给您邮寄捐赠票据,感谢各位爱心人士的救助! | ||||
| 四川省索玛慈善基金会 2020年10月27日 | ||||










