2020年10月26日接收捐赠的信息
发布时间 2020-10-27 丨 来源:四川省索玛慈善基金会 丨 浏览量 235
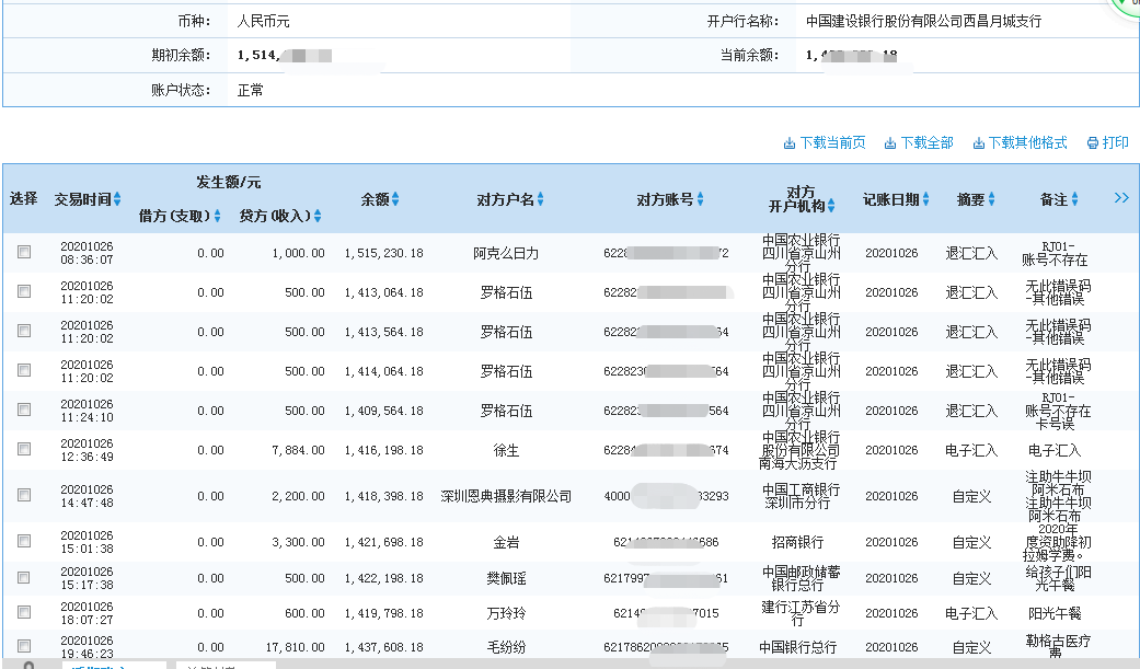
| 10月26日收到 | 广东省门业协会 | 爱心助学 | ¥7,884.00 | 51440000597465563J资助吉侯曲子、曲门春锋、吉明晓英 |
| 10月26日收到 | 深圳恩典摄影有限公司 | 爱心助学 | ¥2,200.00 | 91440300342944191A 资助阿米石布 |
| 10月26日收到 | 金岩 | 爱心助学 | ¥3,300.00 | 2020年度资助降初拉姆学费 |
| 10月26日收到 | 樊佩瑶 | 阳光午餐 | ¥500.00 | 给孩子们阳光午餐 |
| 10月26日收到 | 万玲玲 | 阳光午餐 | ¥600.00 | 阳光午餐 |
| 10月26日收到 | 毛纷纷 | 扶贫救助 | ¥17,810.00 | 勒格古医疗费 |
| 10月26日收到 | 张皓天 | 爱心助学 | ¥2,750.00 | 资助乌尔阿果 |
| 10月26日收到 | 马友晓 | 索玛花支教 | ¥2,500.00 | 用于索玛花支教 |
| 10月26日收到 | 吴翊宁 沈静旭 张书贤 | 爱心助学 | ¥2,200.00 | 资助牛牛坝阿以日龙 |
| 10月26日收到 | 李龙权 | 爱心助学 | ¥550.00 | 索玛花爱心助学(的地日布) |
| 10月26日收到 | 马子轩 | 爱心助学 | ¥1,100.00 | 吉牛拉则,余款,已付1100 |
| 10月26日收到 | 钟玲 | 爱心助学 | ¥2,200.00 | 资助洛巴依兴 |
| 【通知】为规范四川省索玛慈善基金会财务,从即日起,我们将给每一位捐赠人(包括以前给我们捐赠的朋友们)据实开具捐赠票据,微信号:suomahua123,手机:18981556717,座机:0834-2507977,发送捐款截图、捐赠人(单位)姓名、收件地址、电话、邮编信息,以便我们给您邮寄捐赠票据,感谢各位爱心人士的捐助! | ||||
| 四川省索玛慈善基金会 2020年10月26日 | ||||














