2020年10月1日接收捐赠的信息
发布时间 2020-10-11 丨 来源:四川省索玛慈善基金会 丨 浏览量 185
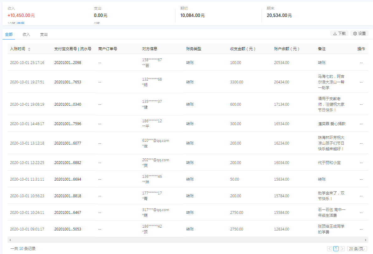
| 10月1日收到 | 石峰 | 爱心捐款 | ¥100.00 | 电子汇入 |
| 10月1日收到 | 孙晓红 | 爱心捐款 | ¥2,200.00 | 电子汇入 |
| 10月1日收到 | 张晓松 | 爱心捐款 | ¥100.00 | 电子汇入 |
| 10月1日收到 | **芸 | 爱心捐款 | ¥100.00 | 转账(对公支付宝暂未开票) |
| 10月1日收到 | 钟明 | 爱心助学 | ¥3,300.00 | 马海七的,阿吉尔洛大凉山一帮一助学 |
| 10月1日收到 | 汪健 | 索玛花支教 | ¥600.00 | 请用于支教老师,汪健祝大家节日快乐! |
| 10月1日收到 | 潘奕霖 | 爱心捐款 | ¥300.00 | 爱心捐款 |
| 10月1日收到 | 珠海林环芳 | 爱心捐款 | ¥200.00 | 祝大凉山孩子们节日快乐越来越好! |
| 10月1日收到 | 于丽和小宝 | 爱心捐款 | ¥200.00 | |
| 10月1日收到 | **淋 | 爱心捐款 | ¥50.00 | 转账(对公支付宝暂未开票) |
| 10月1日收到 | 李青 | 爱心助学 | ¥200.00 | 助学金来了,双节快乐! |
| 10月1日收到 | 李萌 | 爱心助学 | ¥2,750.00 | 石一石伍 高中一年级生活费 |
| 10月1日收到 | 张顶 | 爱心助学 | ¥2,750.00 | 给王成同学的学费 |
| 【通知】为规范四川省索玛慈善基金会财务,从即日起,我们将给每一位捐赠人(包括以前给我们捐赠的朋友们)据实开具捐赠票据,微信号:suomahua123,手机:18981556717,座机:0834-2507977,发送捐款截图、捐赠人(单位)姓名、收件地址、电话、邮编信息,以便我们给您邮寄捐赠票据,感谢各位爱心人士的救助! | ||||
| 四川省索玛慈善基金会 2020年10月1日 | ||||













