2020年9月30日接收捐赠的信息
发布时间 2020-10-11 丨 来源:四川省索玛慈善基金会 丨 浏览量 235
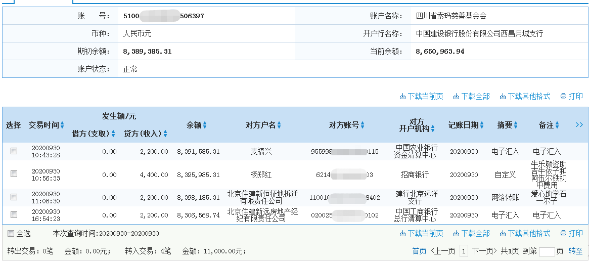
| 9月30日收到 | 麦福兴 | 爱心助学 | ¥2,200.00 | 资助曲木日布 |
| 9月30日收到 | 牛乐颜 | 爱心助学 | ¥4,400.00 | 牛乐颜资助吉牛依子和阿伍尔铁初中费用 |
| 9月30日收到 | 北京住建新恒征地拆迁有限责任公司 | 爱心助学 | ¥2,200.00 | 爱心助学石一尔子 |
| 9月30日收到 | 北京住建新远房地产经纪有限责任公司 | 爱心助学 | ¥2,200.00 | 资助沙马石伍 |
| 9月30日收到 | 张莹 | 爱心捐款 | ¥1,280.00 | 2020年9月奇迹团队捐款 |
| 9月30日收到 | 周林 | 索玛花支教 | ¥200.00 | 支持志愿者 |
| 【通知】为规范四川省索玛慈善基金会财务,从即日起,我们将给每一位捐赠人(包括以前给我们捐赠的朋友们)据实开具捐赠票据,微信号:suomahua123,手机:18981556717,座机:0834-2507977,发送捐款截图、捐赠人(单位)姓名、收件地址、电话、邮编信息,以便我们给您邮寄捐赠票据,感谢各位爱心人士的捐助! | ||||
| 四川省索玛慈善基金会 2020年9月30日 | ||||








