2021年5月19日接收捐赠的信息
发布时间 2021-05-20 丨 来源:四川省索玛慈善基金会 丨 浏览量 322
| 5月19日收到 | 财付通支付科技有限公司 | 暂未开票 | ¥351.10 | 索玛花阳光午餐 |
| 5月19日收到 | 财付通支付科技有限公司 | 暂未开票 | ¥302.01 | 索玛花小学 |
| 5月19日收到 | 财付通支付科技有限公司 | 暂未开票 | ¥74.00 | 请帮助我读完高中 |
| 5月19日收到 | 财付通支付科技有限公司 | 暂未开票 | ¥1.12 | 困难儿童过暖冬 |
| 5月19日收到 | 财付通支付科技有限公司 | 暂未开票 | ¥61.00 | 索玛花爱心结对 |
| 5月19日收到 | 财付通支付科技有限公司 | 暂未开票 | ¥20.10 | 索玛花净水助学 |
| 5月19日收到 | 财付通支付科技有限公司 | 暂未开票 | ¥132.00 | 索玛花支教 |
| 5月19日收到 | 财付通支付科技有限公司 | 暂未开票 | ¥8,250.00 | 大凉山一帮一助学 |
| 5月19日收到 | 刘明 | 爱心捐款 | ¥5.00 | 暂未开票 |
| 5月19日收到 | 王前 | 爱心助学 | ¥4,400.00 | 资助红科中学何小娟、马芳 |
| 5月19日收到 | 山苗苗 | 爱心捐款 | ¥1.00 | 暂未开票 |
| 5月19日收到 | 张芯蕊 | 爱心捐款 | ¥1.10 | 暂未开票 |
| 5月19日收到 | 刘红燕 | 爱心捐款 | ¥1.10 | 暂未开票 |
| 5月19日收到 | 张菁 | 爱心捐款 | ¥1.30 | 暂未开票 |
| 5月19日收到 | 梁秀梅 | 爱心捐款 | ¥1.00 | 暂未开票 |
| 5月19日收到 | 杨瑞梅 | 爱心捐款 | ¥1.00 | 暂未开票 |
| 5月19日收到 | 廖海芳 | 爱心捐款 | ¥1.00 | 暂未开票 |
| 5月19日收到 | 张之春 | 爱心捐款 | ¥1.00 | 暂未开票 |
| 5月19日收到 | 谢连花 | 爱心捐款 | ¥1.00 | 暂未开票 |
| 5月19日收到 | 齐登坤 | 爱心捐款 | ¥1.00 | 暂未开票 |
| 5月19日收到 | 吴迪 | 爱心捐款 | ¥1.00 | 暂未开票 |
| 5月19日收到 | 韩春华 | 爱心捐款 | ¥1.33 | 暂未开票 |
| 5月19日收到 | 刘蕊 | 爱心捐款 | ¥1.00 | 暂未开票 |
| 5月19日收到 | 张涛涛 | 爱心捐款 | ¥1.00 | 暂未开票 |
| 5月19日收到 | 郑斯元 | 爱心捐款 | ¥1.00 | 暂未开票 |
| 5月19日收到 | 秦可 | 爱心捐款 | ¥1.00 | 暂未开票 |
| 5月19日收到 | 张传情 | 爱心捐款 | ¥1.00 | 暂未开票 |
| 5月19日收到 | 温东杏 | 爱心捐款 | ¥2.00 | 暂未开票 |
| 5月19日收到 | 杨敏 | 阳光午餐 | ¥100.00 | 索玛花爱心午餐 |
| 5月19日收到 | 张艳艳 | 爱心捐款 | ¥1.00 | 暂未开票 |
| 5月19日收到 | 胡依婷 | 爱心捐款 | ¥1.00 | 暂未开票 |
| 5月19日收到 | 王瑶 | 爱心捐款 | ¥2.00 | 暂未开票 |
| 5月19日收到 | 卢雅龙 | 爱心捐款 | ¥2.00 | 暂未开票 |
| 5月19日收到 | 陈会敏 | 爱心捐款 | ¥2.00 | 暂未开票 |
| 5月19日收到 | 王烨 | 爱心捐款 | ¥1.00 | 暂未开票 |
| 5月19日收到 | 贾卓 | 爱心捐款 | ¥1.00 | 暂未开票 |
| 5月19日收到 | 李月月 | 爱心捐款 | ¥1.00 | 暂未开票 |
| 5月19日收到 | 郭改枝 | 爱心捐款 | ¥1.00 | 暂未开票 |
| 5月19日收到 | 段俊哲 | 爱心捐款 | ¥1.00 | 暂未开票 |
| 5月19日收到 | 周贺强 | 爱心捐款 | ¥1.00 | 暂未开票 |
| 5月19日收到 | 叶景培 | 爱心捐款 | ¥1.00 | 暂未开票 |
| 5月19日收到 | 张钊 | 爱心捐款 | ¥1.00 | 暂未开票 |
| 5月19日收到 | 杜娟 | 爱心捐款 | ¥1.00 | 暂未开票 |
| 5月19日收到 | 胡春丽 | 爱心捐款 | ¥1.00 | 暂未开票 |
| 5月19日收到 | 梁玉洁 | 爱心捐款 | ¥1.00 | 暂未开票 |
| 5月19日收到 | 朱芳 | 爱心捐款 | ¥1.00 | 暂未开票 |
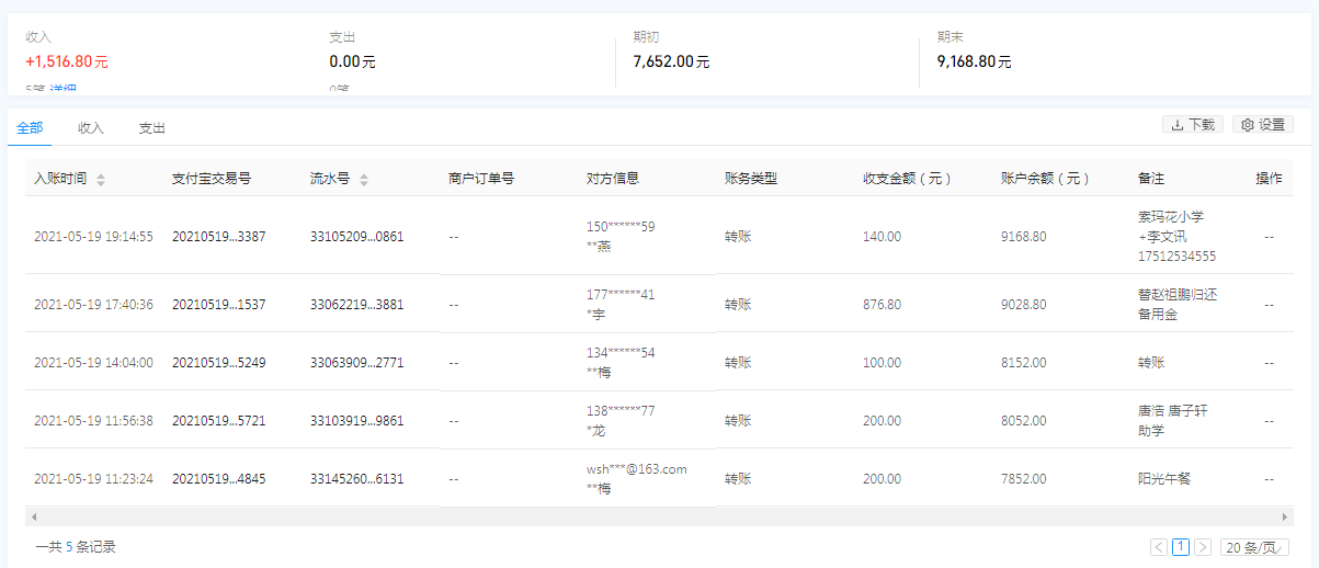
| 5月19日收到 | 李文讯 | 索玛花支教 | ¥140.00 | 索玛花小学+ |
| 5月19日收到 | **梅 | 爱心捐款 | ¥100.00 | 暂未开票 |
| 5月19日收到 | 唐浩 唐子轩 | 爱心助学 | ¥200.00 | 助学 |
| 5月19日收到 | **梅 | 阳光午餐 | ¥200.00 | 暂未开票 |
| 【通知】为规范四川省索玛慈善基金会财务,从即日起,我们将给每一位捐赠人(包括以前给我们捐赠的朋友们)据实开具捐赠票据,微信号:suomahua123,手机:18981556717,座机:0834-2507977,发送捐款截图、捐赠人(单位)姓名、收件地址、电话、邮编信息,以便我们给您邮寄捐赠票据,感谢各位爱心人士的救助! | ||||
| 四川省索玛慈善基金会 2021年5月19日 | ||||






