2021年5月8日接收捐赠的信息
发布时间 2021-05-10 丨 来源:四川省索玛慈善基金会 丨 浏览量 442
| 5月8日收到 | 财付通支付科技有限公司 | 暂未开票 | ¥4.00 | 大凉山困境学生关爱 |
| 5月8日收到 | 财付通支付科技有限公司 | 暂未开票 | ¥5,500.00 | 大凉山一帮一助学 |
| 5月8日收到 | 财付通支付科技有限公司 | 暂未开票 | ¥56.00 | 索玛花阳光午餐 |
| 5月8日收到 | 财付通支付科技有限公司 | 暂未开票 | ¥112.12 | 索玛花支教 |
| 5月8日收到 | 财付通支付科技有限公司 | 暂未开票 | ¥155.70 | 索玛花小学 |
| 5月8日收到 | 财付通支付科技有限公司 | 暂未开票 | ¥26.01 | 请帮助我读完高中 |
| 5月8日收到 | 财付通支付科技有限公司 | 暂未开票 | ¥32.30 | 索玛花爱心结对 |
| 5月8日收到 | 财付通支付科技有限公司 | 暂未开票 | ¥3.20 | 索玛花净水助学 |
| 5月8日收到 | 财付通支付科技有限公司 | 暂未开票 | ¥41.50 | 困难儿童过暖冬 |
| 5月8日收到 | 黄丽萍 | 爱心捐款 | ¥1.00 | 暂未开票 |
| 5月8日收到 | 陈朝敏 | 爱心捐款 | ¥1.00 | 暂未开票 |
| 5月8日收到 | 安孝军 | 爱心捐款 | ¥1.00 | 暂未开票 |
| 5月8日收到 | 马龙 | 爱心捐款 | ¥1.00 | 暂未开票 |
| 5月8日收到 | 王花 | 爱心捐款 | ¥1.00 | 暂未开票 |
| 5月8日收到 | 贺丽娜 | 爱心捐款 | ¥1.00 | 暂未开票 |
| 5月8日收到 | 李良 | 爱心捐款 | ¥1.00 | 暂未开票 |
| 5月8日收到 | 李晓芳 | 爱心捐款 | ¥1.00 | 暂未开票 |
| 5月8日收到 | 李敬敬 | 爱心捐款 | ¥1.00 | 暂未开票 |
| 5月8日收到 | 何益轩 | 爱心捐款 | ¥1.00 | 暂未开票 |
| 5月8日收到 | 孙菲 | 爱心捐款 | ¥1.00 | 暂未开票 |
| 5月8日收到 | 赵一权 | 爱心捐款 | ¥1.00 | 暂未开票 |
| 5月8日收到 | 张晓松 | 爱心捐款 | ¥100.00 | 电子汇入 |
| 5月8日收到 | 曲中新 | 爱心捐款 | ¥1.00 | 暂未开票 |
| 5月8日收到 | 吴军 | 爱心捐款 | ¥1.00 | 暂未开票 |
| 5月8日收到 | 吴甜 | 爱心捐款 | ¥1.00 | 暂未开票 |
| 5月8日收到 | 孙国志 | 爱心捐款 | ¥1.00 | 暂未开票 |
| 5月8日收到 | 田华鑫 | 爱心捐款 | ¥1.00 | 暂未开票 |
| 5月8日收到 | 花灵燕 | 爱心捐款 | ¥1.00 | 暂未开票 |
| 5月8日收到 | 潘惠仙 | 爱心捐款 | ¥1.00 | 暂未开票 |
| 5月8日收到 | 王凯玲 | 爱心捐款 | ¥1.00 | 暂未开票 |
| 5月8日收到 | 胡迪 | 爱心捐款 | ¥1.00 | 暂未开票 |
| 5月8日收到 | 程琪 | 爱心捐款 | ¥1.00 | 暂未开票 |
| 5月8日收到 | 向余君 | 爱心捐款 | ¥1.00 | 暂未开票 |
| 5月8日收到 | 孙金铃 | 爱心捐款 | ¥1.00 | 暂未开票 |
| 5月8日收到 | 程琪 | 爱心捐款 | ¥1.00 | 暂未开票 |
| 5月8日收到 | 陈光吉 | 爱心捐款 | ¥1.00 | 暂未开票 |
| 5月8日收到 | 胡迪 | 爱心捐款 | ¥1.00 | 暂未开票 |
| 5月8日收到 | 朱文龙 | 爱心捐款 | ¥1.00 | 暂未开票 |
| 5月8日收到 | 张辉 | 爱心捐款 | ¥1.00 | 暂未开票 |
| 5月8日收到 | 原嘉琦 | 爱心捐款 | ¥1.00 | 暂未开票 |
| 5月8日收到 | 高静 | 爱心捐款 | ¥1.00 | 暂未开票 |
| 5月8日收到 | 徐娟 | 爱心捐款 | ¥1.00 | 暂未开票 |
| 5月8日收到 | 丛梅燕 | 爱心捐款 | ¥1.00 | 暂未开票 |
| 5月8日收到 | 钟丽杰 | 爱心捐款 | ¥1.00 | 暂未开票 |
| 5月8日收到 | 薛春晓 | 爱心捐款 | ¥3.00 | 暂未开票 |
| 5月8日收到 | 郭沙沙 | 爱心捐款 | ¥3.00 | 暂未开票 |
| 5月8日收到 | 李超君 | 爱心捐款 | ¥3.00 | 暂未开票 |
| 5月8日收到 | 朱玉琴 | 爱心捐款 | ¥3.00 | 暂未开票 |
| 5月8日收到 | 张昭辉 | 爱心捐款 | ¥3.00 | 暂未开票 |
| 5月8日收到 | 刘志英 | 爱心捐款 | ¥3.00 | 暂未开票 |
| 5月8日收到 | 田娜 | 爱心捐款 | ¥3.00 | 暂未开票 |
| 5月8日收到 | 李雅坤 | 爱心捐款 | ¥3.00 | 暂未开票 |
| 5月8日收到 | 杨碧莹 | 爱心捐款 | ¥3.00 | 暂未开票 |
| 5月8日收到 | 段俊杰 | 爱心捐款 | ¥3.00 | 暂未开票 |
| 5月8日收到 | 吕露 | 爱心捐款 | ¥3.00 | 暂未开票 |
| 5月8日收到 | 乔燕 | 爱心捐款 | ¥1.00 | 暂未开票 |
| 5月8日收到 | 谢慧 | 爱心捐款 | ¥3.00 | 暂未开票 |
| 5月8日收到 | 姚盼 | 爱心捐款 | ¥3.00 | 暂未开票 |
| 5月8日收到 | 覃广水 | 爱心捐款 | ¥3.00 | 暂未开票 |
| 5月8日收到 | 杨飞 | 爱心捐款 | ¥3.00 | 暂未开票 |
| 5月8日收到 | 刘杜娟 | 爱心助学 | ¥1,100.00 | 捐助吉足拉西 |
| 5月8日收到 | 吴军 | 爱心捐款 | ¥1.00 | 暂未开票 |
| 5月8日收到 | 丁贵绿 | 爱心捐款 | ¥3.00 | 暂未开票 |
| 5月8日收到 | 聂冬雯 | 爱心捐款 | ¥3.00 | 暂未开票 |
| 5月8日收到 | 张子涵 | 爱心捐款 | ¥3.00 | 暂未开票 |
| 5月8日收到 | 李玥 | 爱心捐款 | ¥1.00 | 暂未开票 |
| 5月8日收到 | 张建娥 | 爱心捐款 | ¥2.20 | 暂未开票 |
| 5月8日收到 | 胡明霞 | 爱心捐款 | ¥2.00 | 暂未开票 |
| 5月8日收到 | 高宗建 | 爱心捐款 | ¥1.00 | 暂未开票 |
| 5月8日收到 | 刘晓楠 | 爱心捐款 | ¥1.00 | 暂未开票 |
| 5月8日收到 | 雷美 | 爱心捐款 | ¥1.00 | 暂未开票 |
| 5月8日收到 | 杨淑萍 | 爱心捐款 | ¥1.00 | 暂未开票 |
| 5月8日收到 | 谭荣丽 | 爱心捐款 | ¥1.00 | 暂未开票 |
| 5月8日收到 | 熊文开 | 爱心捐款 | ¥1.00 | 暂未开票 |
| 5月8日收到 | 瞿卓凡 | 爱心捐款 | ¥1.00 | 暂未开票 |
| 5月8日收到 | 温荣方 | 爱心捐款 | ¥1.00 | 暂未开票 |
| 5月8日收到 | 勾兰 | 爱心捐款 | ¥1.00 | 暂未开票 |
| 5月8日收到 | 胡伟 | 爱心捐款 | ¥1.00 | 暂未开票 |
| 5月8日收到 | 侯小英 | 爱心捐款 | ¥1.00 | 暂未开票 |
| 5月8日收到 | 韩晓 | 爱心捐款 | ¥1.00 | 暂未开票 |
| 5月8日收到 | 李良 | 爱心捐款 | ¥1.00 | 暂未开票 |
| 5月8日收到 | 谭荣丽 | 爱心捐款 | ¥1.00 | 暂未开票 |
| 5月8日收到 | 林雪宁 | 爱心捐款 | ¥1.00 | 暂未开票 |
| 5月8日收到 | 余二晓 | 爱心捐款 | ¥1.00 | 暂未开票 |
| 5月8日收到 | 周铭芸 | 爱心捐款 | ¥1.00 | 暂未开票 |
| 5月8日收到 | 朱欣 | 爱心捐款 | ¥1.00 | 暂未开票 |
| 5月8日收到 | 吕丽 | 爱心捐款 | ¥1.00 | 暂未开票 |
| 5月8日收到 | 曹凯 | 爱心捐款 | ¥1.00 | 暂未开票 |
| 5月8日收到 | 梁娜 | 爱心捐款 | ¥1.00 | 暂未开票 |
| 5月8日收到 | 徐天龙 | 爱心捐款 | ¥1.00 | 暂未开票 |
| 5月8日收到 | 李程 | 爱心捐款 | ¥1.00 | 暂未开票 |
| 5月8日收到 | 的日金石 | 爱心捐款 | ¥1.00 | 暂未开票 |
| 5月8日收到 | 周贤 | 爱心捐款 | ¥1.00 | 暂未开票 |
| 5月8日收到 | 高娜 | 爱心捐款 | ¥1.00 | 暂未开票 |
| 5月8日收到 | 邹旻宏 | 爱心捐款 | ¥1.00 | 暂未开票 |
| 5月8日收到 | 曾祥龙 | 爱心捐款 | ¥1.00 | 暂未开票 |
| 5月8日收到 | 周艳 | 爱心捐款 | ¥1.00 | 暂未开票 |
| 5月8日收到 | 邹旻宏 | 爱心捐款 | ¥1.00 | 暂未开票 |
| 5月8日收到 | 吕义 | 爱心捐款 | ¥1.00 | 暂未开票 |
| 5月8日收到 | 杜爱娟 | 爱心捐款 | ¥1.00 | 暂未开票 |
| 5月8日收到 | 陈江山 | 爱心捐款 | ¥1.00 | 暂未开票 |
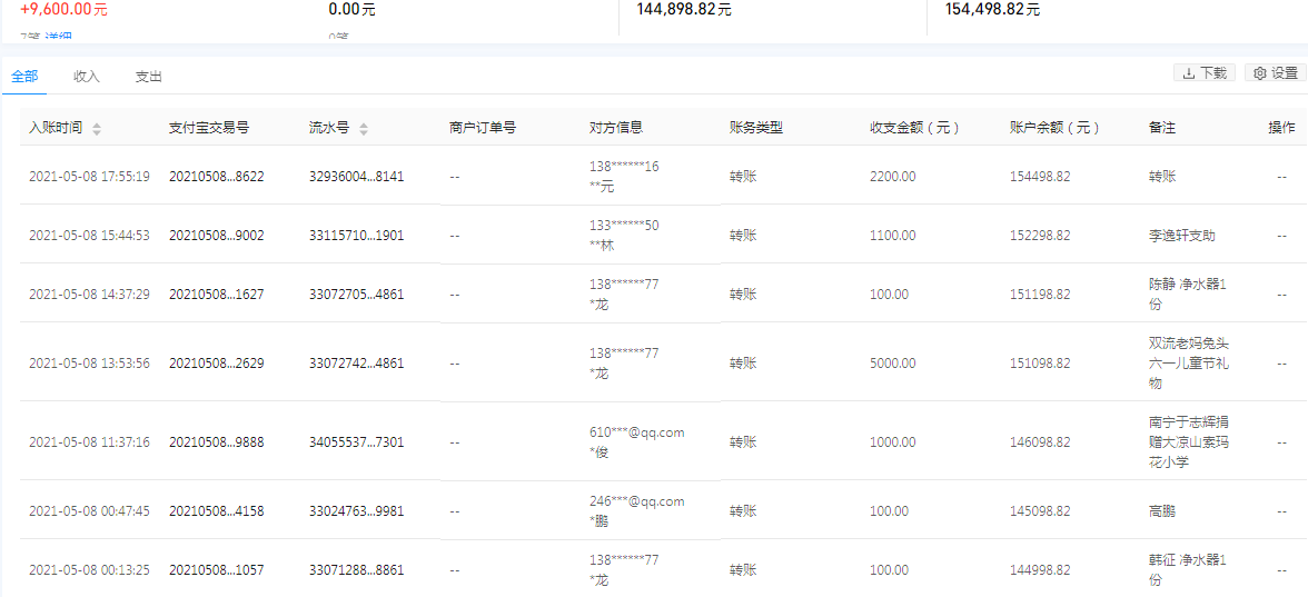
| 5月8日收到 | 达州市通川区佳音英语培训学校 | 爱心助学 | ¥2,200.00 | 310110196812063233资助晨光阿巴伍来、罗布伍且 |
| 5月8日收到 | 李逸轩 | 爱心助学 | ¥1,100.00 | 资助晨光吉勒尔达 |
| 5月8日收到 | 刘静 | 净水助学 | ¥100.00 | 净水器1份 |
| 5月8日收到 | 双流老妈兔头 | 索玛花支教 | ¥5,000.00 | 六一儿童节礼物 |
| 5月8日收到 | 南宁于志辉 | 索玛花小学 | ¥1,000.00 | 捐赠大凉山索玛花小学 |
| 5月8日收到 | 高鹏 | 爱心捐款 | ¥100.00 | |
| 5月8日收到 | 韩征 | 净水助学 | ¥100.00 | 净水器1份 |
| 【通知】为规范四川省索玛慈善基金会财务,从即日起,我们将给每一位捐赠人(包括以前给我们捐赠的朋友们)据实开具捐赠票据,微信号:suomahua123,手机:18981556717,座机:0834-2507977,发送捐款截图、捐赠人(单位)姓名、收件地址、电话、邮编信息,以便我们给您邮寄捐赠票据,感谢各位爱心人士的捐助! | ||||
| 四川省索玛慈善基金会 2021年5月8日 | ||||











