2021年5月6日接收捐赠的信息
发布时间 2021-05-07 丨 来源:四川省索玛慈善基金会 丨 浏览量 467
| 5月6日收到 | 财付通支付科技有限公司 | 暂未开票 | ¥103.00 | 大凉山困境学生关爱 |
| 5月6日收到 | 财付通支付科技有限公司 | 暂未开票 | ¥8,250.00 | 大凉山一帮一助学 |
| 5月6日收到 | 财付通支付科技有限公司 | 暂未开票 | ¥119.01 | 索玛花阳光午餐 |
| 5月6日收到 | 财付通支付科技有限公司 | 暂未开票 | ¥7.38 | 索玛花支教 |
| 5月6日收到 | 财付通支付科技有限公司 | 暂未开票 | ¥160.78 | 索玛花小学 |
| 5月6日收到 | 财付通支付科技有限公司 | 暂未开票 | ¥2.00 | 请帮助我读完高中 |
| 5月6日收到 | 财付通支付科技有限公司 | 暂未开票 | ¥35.51 | 索玛花爱心结对 |
| 5月6日收到 | 财付通支付科技有限公司 | 暂未开票 | ¥723.20 | 索玛花净水助学 |
| 5月6日收到 | 财付通支付科技有限公司 | 暂未开票 | ¥10.03 | 困难儿童过暖冬 |
| 5月6日收到 | 梁露双 | 爱心捐款 | ¥1.00 | 暂未开票 |
| 5月6日收到 | 赵文亮 | 爱心捐款 | ¥1.00 | 暂未开票 |
| 5月6日收到 | 马杰艳 | 爱心捐款 | ¥1.00 | 暂未开票 |
| 5月6日收到 | 冷海洪 | 爱心捐款 | ¥1.00 | 暂未开票 |
| 5月6日收到 | 王凤笑 | 爱心捐款 | ¥1.00 | 暂未开票 |
| 5月6日收到 | 王旭 | 爱心捐款 | ¥1.00 | 暂未开票 |
| 5月6日收到 | 赵元帅 | 爱心捐款 | ¥1.00 | 暂未开票 |
| 5月6日收到 | 辜洪玉 | 爱心捐款 | ¥1.00 | 暂未开票 |
| 5月6日收到 | 刘亚丽 | 爱心捐款 | ¥1.00 | 暂未开票 |
| 5月6日收到 | 张沁 | 爱心助学 | ¥2,200.00 | 爱心助学刘小英 |
| 5月6日收到 | 张洋洋 | 爱心捐款 | ¥1.00 | 暂未开票 |
| 5月6日收到 | 闫羽 | 爱心捐款 | ¥1.00 | 暂未开票 |
| 5月6日收到 | 钟丽杰 | 爱心捐款 | ¥1.00 | 暂未开票 |
| 5月6日收到 | 漆小瑜 | 爱心捐款 | ¥1.00 | 暂未开票 |
| 5月6日收到 | 张亚培 | 爱心捐款 | ¥2.00 | 暂未开票 |
| 5月6日收到 | 杨媚 | 爱心捐款 | ¥2.00 | 暂未开票 |
| 5月6日收到 | 常花荣 | 爱心捐款 | ¥2.00 | 暂未开票 |
| 5月6日收到 | 詹江义 | 爱心捐款 | ¥0.30 | 暂未开票 |
| 5月6日收到 | 赵洁 | 爱心捐款 | ¥0.80 | 暂未开票 |
| 5月6日收到 | 汪海燕 | 爱心捐款 | ¥0.50 | 暂未开票 |
| 5月6日收到 | 袁陆玲 | 爱心捐款 | ¥2.00 | 暂未开票 |
| 5月6日收到 | 孔远飞 | 爱心捐款 | ¥2.00 | 暂未开票 |
| 5月6日收到 | 宋彬 | 爱心捐款 | ¥1.00 | 暂未开票 |
| 5月6日收到 | 占金燕 | 爱心捐款 | ¥1.00 | 暂未开票 |
| 5月6日收到 | 孟大妮 | 爱心捐款 | ¥2.00 | 暂未开票 |
| 5月6日收到 | 占桂端 | 爱心捐款 | ¥1.00 | 暂未开票 |
| 5月6日收到 | 杨雪姣 | 爱心捐款 | ¥0.50 | 暂未开票 |
| 5月6日收到 | 隆小凤 | 爱心捐款 | ¥1.00 | 暂未开票 |
| 5月6日收到 | 周瑞卿 | 爱心捐款 | ¥1.00 | 暂未开票 |
| 5月6日收到 | 徐成良 | 爱心捐款 | ¥1.00 | 暂未开票 |
| 5月6日收到 | 周亚君 | 爱心捐款 | ¥1.00 | 暂未开票 |
| 5月6日收到 | 胡扬 | 爱心捐款 | ¥1.00 | 暂未开票 |
| 5月6日收到 | 张亚芳 | 爱心捐款 | ¥1.00 | 暂未开票 |
| 5月6日收到 | 张瑞明 | 爱心捐款 | ¥1.00 | 暂未开票 |
| 5月6日收到 | 肖文英 | 爱心捐款 | ¥1.00 | 暂未开票 |
| 5月6日收到 | 彭海 | 爱心捐款 | ¥1.00 | 暂未开票 |
| 5月6日收到 | 王才兴 | 爱心捐款 | ¥1.00 | 暂未开票 |
| 5月6日收到 | 王川萍 | 爱心捐款 | ¥1.00 | 暂未开票 |
| 5月6日收到 | 赖立 | 爱心捐款 | ¥1.00 | 暂未开票 |
| 5月6日收到 | 钟孝东 | 爱心捐款 | ¥1.00 | 暂未开票 |
| 5月6日收到 | 潘远贵 | 爱心捐款 | ¥1.00 | 暂未开票 |
| 5月6日收到 | 盘小云 | 爱心捐款 | ¥1.00 | 暂未开票 |
| 5月6日收到 | 潘升燕 | 爱心捐款 | ¥1.00 | 暂未开票 |
| 5月6日收到 | 罗斌 | 爱心捐款 | ¥1.00 | 暂未开票 |
| 5月6日收到 | 胡晚青 | 爱心捐款 | ¥1.00 | 暂未开票 |
| 5月6日收到 | 脱婉 | 爱心捐款 | ¥1.00 | 暂未开票 |
| 5月6日收到 | 马红梅 | 爱心捐款 | ¥1.00 | 暂未开票 |
| 5月6日收到 | 肖跃军 | 爱心捐款 | ¥1.00 | 暂未开票 |
| 5月6日收到 | 肖满辉 | 爱心捐款 | ¥1.00 | 暂未开票 |
| 5月6日收到 | 王丽英 | 爱心捐款 | ¥1.00 | 暂未开票 |
| 5月6日收到 | 花北鲜 | 爱心捐款 | ¥1.00 | 暂未开票 |
| 5月6日收到 | 彭琴 | 爱心捐款 | ¥1.00 | 暂未开票 |
| 5月6日收到 | 侯思宇 | 爱心捐款 | ¥1.00 | 暂未开票 |
| 5月6日收到 | 大娘吉加 | 爱心捐款 | ¥1.00 | 暂未开票 |
| 5月6日收到 | 牛辉 | 爱心捐款 | ¥1.00 | 暂未开票 |
| 5月6日收到 | 徐兴 | 爱心捐款 | ¥1.00 | 暂未开票 |
| 5月6日收到 | 邓宇森 | 爱心捐款 | ¥1.00 | 暂未开票 |
| 5月6日收到 | 付康龄 | 爱心捐款 | ¥1.00 | 暂未开票 |
| 5月6日收到 | 罗显宏 | 爱心捐款 | ¥1.00 | 暂未开票 |
| 5月6日收到 | 吕梅 | 爱心捐款 | ¥1.00 | 暂未开票 |
| 5月6日收到 | 华文光 | 爱心捐款 | ¥1.00 | 暂未开票 |
| 5月6日收到 | 李悦 | 爱心捐款 | ¥1.00 | 暂未开票 |
| 5月6日收到 | 王荣军 | 爱心捐款 | ¥1.00 | 暂未开票 |
| 5月6日收到 | 邓香梅 | 爱心捐款 | ¥1.00 | 暂未开票 |
| 5月6日收到 | 郑家骏 | 爱心捐款 | ¥1.00 | 暂未开票 |
| 5月6日收到 | 苑仅仅 | 爱心捐款 | ¥1.00 | 暂未开票 |
| 5月6日收到 | 靳寸玉 | 爱心捐款 | ¥1.00 | 暂未开票 |
| 5月6日收到 | 姜林林 | 爱心捐款 | ¥1.00 | 暂未开票 |
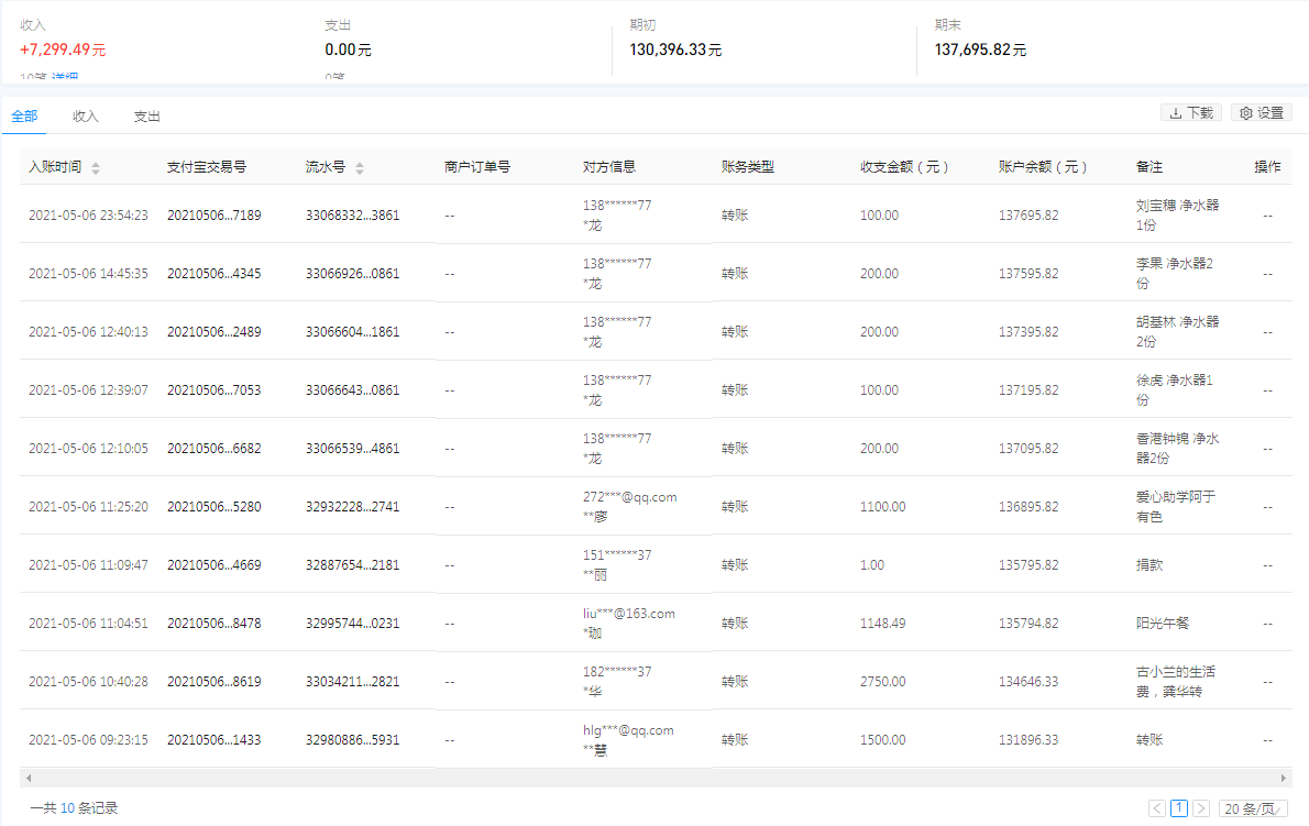
| 5月6日收到 | 刘宝穗 | 净水助学 | ¥100.00 | 净水器1份 |
| 5月6日收到 | 李果 | 净水助学 | ¥200.00 | 净水器2份 |
| 5月6日收到 | 胡基林 | 净水助学 | ¥200.00 | 净水器2份 |
| 5月6日收到 | 徐虎 | 净水助学 | ¥100.00 | 净水器1份 |
| 5月6日收到 | 香港钟锦 | 净水助学 | ¥200.00 | 净水器2份 |
| 5月6日收到 | 唐贤曦 | 爱心助学 | ¥1,100.00 | 爱心助学阿于有色 |
| 5月6日收到 | **丽 | 爱心捐款 | ¥1.00 | 暂未开票 |
| 5月6日收到 | 西安网安网络信息技术有限公司 | 阳光午餐 | ¥1,148.49 | 阳光午餐 |
| 5月6日收到 | 龚华 | 爱心助学 | ¥2,750.00 | 古小兰的生活费,龚华转 |
| 5月6日收到 | **慧 | 爱心捐款 | ¥1,500.00 | 转账(暂未开票) |
| 【通知】为规范四川省索玛慈善基金会财务,从即日起,我们将给每一位捐赠人(包括以前给我们捐赠的朋友们)据实开具捐赠票据,微信号:suomahua123,手机:18981556717,座机:0834-2507977,发送捐款截图、捐赠人(单位)姓名、收件地址、电话、邮编信息,以便我们给您邮寄捐赠票据,感谢各位爱心人士的捐助! | ||||
| 四川省索玛慈善基金会 2021年5月6日 | ||||











