2021年4月30日接收捐赠的信息
发布时间 2021-05-06 丨 来源:四川省索玛慈善基金会 丨 浏览量 383
| 4月30日收到 | 财付通支付科技有限公司 | 暂未开票 | ¥8.41 | 大凉山困境学生关爱 |
| 4月30日收到 | 财付通支付科技有限公司 | 暂未开票 | ¥2,750.00 | 大凉山一帮一助学 |
| 4月30日收到 | 财付通支付科技有限公司 | 暂未开票 | ¥10.10 | 关爱彝区特困老人 |
| 4月30日收到 | 财付通支付科技有限公司 | 暂未开票 | ¥422.00 | 索玛花阳光午餐 |
| 4月30日收到 | 财付通支付科技有限公司 | 暂未开票 | ¥202.28 | 索玛花支教 |
| 4月30日收到 | 财付通支付科技有限公司 | 暂未开票 | ¥1.40 | 索玛花小学 |
| 4月30日收到 | 财付通支付科技有限公司 | 暂未开票 | ¥21.00 | 请帮助我读完高中 |
| 4月30日收到 | 财付通支付科技有限公司 | 暂未开票 | ¥234.00 | 索玛花爱心结对 |
| 4月30日收到 | 财付通支付科技有限公司 | 暂未开票 | ¥1.20 | 索玛花净水助学 |
| 4月30日收到 | 财付通支付科技有限公司 | 暂未开票 | ¥28.61 | 困难儿童过暖冬 |
| 4月30日收到 | 李双林 | 爱心捐款 | ¥10.00 | 电子汇入 |
| 4月30日收到 | 刘东祥 | 爱心建校 | ¥500.00 | 刘东祥爱心修建学校 |
| 4月30日收到 | 叶晓阳 | 爱心助学 | ¥1,100.00 | 资助尔日拉哈 |
| 4月30日收到 | 吴咏珊 | 爱心捐款 | ¥1.00 | 暂未开票 |
| 4月30日收到 | 李双林 | 爱心捐款 | ¥10.00 | 电子汇入 |
| 4月30日收到 | 李双林 | 爱心捐款 | ¥10.00 | 电子汇入 |
| 4月30日收到 | 王成林 | 爱心捐款 | ¥1.00 | 暂未开票 |
| 4月30日收到 | 汪旭霞 | 爱心捐款 | ¥1.00 | 暂未开票 |
| 4月30日收到 | 丁艳 | 爱心捐款 | ¥1.00 | 暂未开票 |
| 4月30日收到 | 李双林 | 爱心捐款 | ¥10.00 | 电子汇入 |
| 4月30日收到 | 刘乐乐 | 爱心捐款 | ¥1.00 | 暂未开票 |
| 4月30日收到 | 张素云 | 爱心捐款 | ¥1.00 | 暂未开票 |
| 4月30日收到 | 肖杭 | 爱心捐款 | ¥1.00 | 暂未开票 |
| 4月30日收到 | 郭志杰 | 爱心捐款 | ¥1.00 | 暂未开票 |
| 4月30日收到 | 施俊垚 | 爱心捐款 | ¥1.00 | 暂未开票 |
| 4月30日收到 | 罗澄 | 爱心捐款 | ¥1.00 | 暂未开票 |
| 4月30日收到 | 曾繁健 | 爱心捐款 | ¥1.00 | 暂未开票 |
| 4月30日收到 | 黄琼 | 爱心捐款 | ¥1.00 | 暂未开票 |
| 4月30日收到 | 谭宗云 | 爱心捐款 | ¥1.00 | 暂未开票 |
| 4月30日收到 | 夏露 | 爱心捐款 | ¥1.00 | 暂未开票 |
| 4月30日收到 | 卡依沙尔·迪力木热提 | 爱心捐款 | ¥1.00 | 暂未开票 |
| 4月30日收到 | 黄琼 | 爱心捐款 | ¥1.00 | 暂未开票 |
| 4月30日收到 | 肖琴 | 爱心捐款 | ¥1.00 | 暂未开票 |
| 4月30日收到 | 马从从 | 爱心捐款 | ¥1.00 | 暂未开票 |
| 4月30日收到 | 颜笑笑 | 爱心捐款 | ¥1.00 | 暂未开票 |
| 4月30日收到 | 俄木日格 | 索玛花支教 | ¥10,000.00 | 用于支教。 |
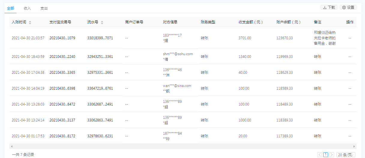
| 4月30日收到 | 姚雪 | 爱心捐款 | ¥1,340.00 | 奇迹团队4月捐款 |
| 4月30日收到 | **淋 | 爱心捐款 | ¥40.00 | 暂未开票 |
| 4月30日收到 | 王靓靓 | 爱心捐款 | ¥100.00 | 转账 |
| 4月30日收到 | 李超 | 爱心助学 | ¥1,100.00 | 资助吉布阿果 |
| 4月30日收到 | **玲 | 爱心捐款 | ¥20.00 | 暂未开票 |
| 【通知】为规范四川省索玛慈善基金会财务,从即日起,我们将给每一位捐赠人(包括以前给我们捐赠的朋友们)据实开具捐赠票据,微信号:suomahua123,手机:18981556717,座机:0834-2507977,发送捐款截图、捐赠人(单位)姓名、收件地址、电话、邮编信息,以便我们给您邮寄捐赠票据,感谢各位爱心人士的捐助! | ||||
| 四川省索玛慈善基金会 2021年4月30日 | ||||









