2021年4月23日接收捐赠的信息
发布时间 2021-04-26 丨 来源:四川省索玛慈善基金会 丨 浏览量 403
| 4月23日收到 | 财付通支付科技有限公司 | 暂未开票 | ¥1,074.66 | 大凉山困境学生关爱 |
| 4月23日收到 | 财付通支付科技有限公司 | 暂未开票 | ¥2,750.00 | 大凉山一帮一助学 |
| 4月23日收到 | 财付通支付科技有限公司 | 暂未开票 | ¥223.00 | 索玛花阳光午餐 |
| 4月23日收到 | 财付通支付科技有限公司 | 暂未开票 | ¥227.01 | 索玛花支教 |
| 4月23日收到 | 财付通支付科技有限公司 | 暂未开票 | ¥1.20 | 索玛花小学 |
| 4月23日收到 | 财付通支付科技有限公司 | 暂未开票 | ¥544.38 | 请帮助我读完高中 |
| 4月23日收到 | 财付通支付科技有限公司 | 暂未开票 | ¥243.00 | 困难儿童过暖冬 |
| 4月23日收到 | 财付通支付科技有限公司 | 暂未开票 | ¥52.92 | 索玛花爱心结对 |
| 4月23日收到 | 财付通支付科技有限公司 | 暂未开票 | ¥1,027.20 | 索玛花净水助学 |
| 4月23日收到 | 曾刚 | 爱心捐款 | ¥10.00 | 电子汇入 |
| 4月23日收到 | 张改东 | 爱心捐款 | ¥10.00 | 电子汇入 |
| 4月23日收到 | 无锡铭致和精密机械科技有限公司 | 爱心助学 | ¥2,200.00 | 91320213MA20BQER1K资助打者祝玛 |
| 4月23日收到 | 李杰 | 爱心捐款 | ¥1.00 | 暂未开票 |
| 4月23日收到 | 张翼翔 | 爱心捐款 | ¥1.00 | 暂未开票 |
| 4月23日收到 | 姚程瀚 | 爱心捐款 | ¥1.00 | 暂未开票 |
| 4月23日收到 | 黄书芳 | 爱心捐款 | ¥1.00 | 暂未开票 |
| 4月23日收到 | 刘迎大 | 爱心捐款 | ¥1.00 | 暂未开票 |
| 4月23日收到 | 李全世 | 爱心捐款 | ¥1.00 | 暂未开票 |
| 4月23日收到 | 陈浩 | 爱心捐款 | ¥1.00 | 暂未开票 |
| 4月23日收到 | 王鹏 | 爱心捐款 | ¥1.00 | 暂未开票 |
| 4月23日收到 | 刘毅凡 | 爱心捐款 | ¥1.00 | 暂未开票 |
| 4月23日收到 | 冯东 | 爱心捐款 | ¥1.00 | 暂未开票 |
| 4月23日收到 | 冯艳云 | 爱心捐款 | ¥1.00 | 暂未开票 |
| 4月23日收到 | 张硕 | 爱心捐款 | ¥1.00 | 暂未开票 |
| 4月23日收到 | 陈磊 | 爱心捐款 | ¥1.00 | 暂未开票 |
| 4月23日收到 | 王煌 | 爱心捐款 | ¥1.00 | 暂未开票 |
| 4月23日收到 | 何立磊 | 爱心捐款 | ¥1.00 | 暂未开票 |
| 4月23日收到 | 何开花 | 爱心捐款 | ¥1.00 | 暂未开票 |
| 4月23日收到 | 崔铭俊 | 爱心捐款 | ¥1.00 | 暂未开票 |
| 4月23日收到 | 陆春晓 | 爱心捐款 | ¥1.00 | 暂未开票 |
| 4月23日收到 | 韦建荣 | 爱心捐款 | ¥1.00 | 暂未开票 |
| 4月23日收到 | 张改东 | 爱心捐款 | ¥10.00 | 电子汇入 |
| 4月23日收到 | 周舟 | 爱心捐款 | ¥1.00 | 暂未开票 |
| 4月23日收到 | 崔铭俊 | 爱心捐款 | ¥1.00 | 暂未开票 |
| 4月23日收到 | 高景 | 爱心捐款 | ¥1.00 | 暂未开票 |
| 4月23日收到 | 闫淼 | 爱心捐款 | ¥1.00 | 暂未开票 |
| 4月23日收到 | 李雄 | 爱心捐款 | ¥1.00 | 暂未开票 |
| 4月23日收到 | 于京良 | 爱心捐款 | ¥1.00 | 暂未开票 |
| 4月23日收到 | 宋紫玉 | 爱心捐款 | ¥1.00 | 暂未开票 |
| 4月23日收到 | 孙晶 | 爱心捐款 | ¥1.00 | 暂未开票 |
| 4月23日收到 | 薛宇浩 | 爱心捐款 | ¥1.00 | 暂未开票 |
| 4月23日收到 | 徐庆阳 | 爱心捐款 | ¥1.00 | 暂未开票 |
| 4月23日收到 | 曹雪 | 爱心捐款 | ¥1.00 | 暂未开票 |
| 4月23日收到 | 陈虹茵 | 爱心捐款 | ¥1.00 | 暂未开票 |
| 4月23日收到 | 庞永杰 | 爱心捐款 | ¥1.00 | 暂未开票 |
| 4月23日收到 | 巩舒畅 | 爱心捐款 | ¥1.00 | 暂未开票 |
| 4月23日收到 | 黄云强 | 爱心捐款 | ¥5.00 | 暂未开票 |
| 4月23日收到 | 张艳慧 | 爱心捐款 | ¥1.00 | 暂未开票 |
| 4月23日收到 | 薛宇浩 | 爱心捐款 | ¥1.00 | 暂未开票 |
| 4月23日收到 | 张玉箫 | 爱心捐款 | ¥1.00 | 暂未开票 |
| 4月23日收到 | 廖子娴 | 爱心捐款 | ¥1.00 | 暂未开票 |
| 4月23日收到 | 杨淑琼 | 爱心捐款 | ¥1.00 | 暂未开票 |
| 4月23日收到 | 解文明 | 爱心捐款 | ¥1.00 | 暂未开票 |
| 4月23日收到 | 吕月阳 | 爱心捐款 | ¥1.00 | 暂未开票 |
| 4月23日收到 | 匡洋 | 爱心捐款 | ¥1.00 | 暂未开票 |
| 4月23日收到 | 吕凯凯 | 爱心捐款 | ¥1.00 | 暂未开票 |
| 4月23日收到 | 李艳 | 爱心捐款 | ¥1.00 | 暂未开票 |
| 4月23日收到 | 许望鸿 | 爱心捐款 | ¥1.00 | 暂未开票 |
| 4月23日收到 | 陈凯 | 爱心捐款 | ¥1.00 | 暂未开票 |
| 4月23日收到 | 朱杰 | 爱心捐款 | ¥0.01 | 暂未开票 |
| 4月23日收到 | 吉彩云 | 爱心捐款 | ¥1.00 | 暂未开票 |
| 4月23日收到 | 刘娇 | 爱心捐款 | ¥1.00 | 暂未开票 |
| 4月23日收到 | 肖亭 | 爱心捐款 | ¥1.00 | 暂未开票 |
| 4月23日收到 | 黄婷婷 | 爱心捐款 | ¥1.00 | 暂未开票 |
| 4月23日收到 | 丰选 | 爱心捐款 | ¥1.00 | 暂未开票 |
| 4月23日收到 | 吕月阳 | 爱心捐款 | ¥1.00 | 暂未开票 |
| 4月23日收到 | 沈军会 | 爱心捐款 | ¥1.00 | 暂未开票 |
| 4月23日收到 | 丁宏 | 爱心捐款 | ¥1.00 | 暂未开票 |
| 4月23日收到 | 涂仁杰 | 爱心捐款 | ¥1.00 | 暂未开票 |
| 4月23日收到 | 白栋 | 爱心捐款 | ¥1.00 | 暂未开票 |
| 4月23日收到 | 彭世琼 | 爱心捐款 | ¥1.00 | 暂未开票 |
| 4月23日收到 | 刘娇 | 爱心捐款 | ¥1.00 | 暂未开票 |
| 4月23日收到 | 杨永政 | 爱心捐款 | ¥1.00 | 暂未开票 |
| 4月23日收到 | 刘章 | 爱心捐款 | ¥1.00 | 暂未开票 |
| 4月23日收到 | 薛娜娜 | 爱心捐款 | ¥1.00 | 暂未开票 |
| 4月23日收到 | 张琳琳 | 爱心捐款 | ¥1.00 | 暂未开票 |
| 4月23日收到 | 于佳 | 爱心捐款 | ¥1.00 | 暂未开票 |
| 4月23日收到 | 马立波 | 爱心捐款 | ¥1.00 | 暂未开票 |
| 4月23日收到 | 王列梅 | 爱心捐款 | ¥1.00 | 暂未开票 |
| 4月23日收到 | 陈晓龙 | 爱心捐款 | ¥1.00 | 暂未开票 |
| 4月23日收到 | 曾文华 | 爱心捐款 | ¥1.00 | 暂未开票 |
| 4月23日收到 | 陈丽婷 | 爱心捐款 | ¥1.00 | 暂未开票 |
| 4月23日收到 | 郭电秀 | 爱心捐款 | ¥1.00 | 暂未开票 |
| 4月23日收到 | 曹兆林 | 爱心捐款 | ¥1.00 | 暂未开票 |
| 4月23日收到 | 苗和敬 | 爱心捐款 | ¥1.00 | 暂未开票 |
| 4月23日收到 | 丰选 | 爱心捐款 | ¥1.00 | 暂未开票 |
| 4月23日收到 | 罗丽 | 爱心捐款 | ¥1.00 | 暂未开票 |
| 4月23日收到 | 郭俊春 | 爱心捐款 | ¥1.00 | 暂未开票 |
| 4月23日收到 | 张帅 | 爱心捐款 | ¥1.00 | 暂未开票 |
| 4月23日收到 | 李应梅 | 爱心捐款 | ¥1.00 | 暂未开票 |
| 4月23日收到 | 高景 | 爱心捐款 | ¥3.00 | 暂未开票 |
| 4月23日收到 | 徐庆阳 | 爱心捐款 | ¥3.00 | 暂未开票 |
| 4月23日收到 | 庞永杰 | 爱心捐款 | ¥3.00 | 暂未开票 |
| 4月23日收到 | 薛宇浩 | 爱心捐款 | ¥3.00 | 暂未开票 |
| 4月23日收到 | 宋紫玉 | 爱心捐款 | ¥3.00 | 暂未开票 |
| 4月23日收到 | 王芬 | 爱心捐款 | ¥1.00 | 暂未开票 |
| 4月23日收到 | 陈虹茵 | 爱心捐款 | ¥3.00 | 暂未开票 |
| 4月23日收到 | 于京良 | 爱心捐款 | ¥3.00 | 暂未开票 |
| 4月23日收到 | 王金彪 | 爱心捐款 | ¥1.00 | 暂未开票 |
| 4月23日收到 | 杨淑琼 | 爱心捐款 | ¥3.00 | 暂未开票 |
| 4月23日收到 | 闫淼 | 爱心捐款 | ¥5.00 | 暂未开票 |
| 4月23日收到 | 高祥 | 爱心助学 | ¥2,750.00 | 日火阿哈资助款 |
| 4月23日收到 | 周舟 | 爱心捐款 | ¥5.00 | 暂未开票 |
| 4月23日收到 | 李进勇 | 爱心捐款 | ¥1.00 | 暂未开票 |
| 4月23日收到 | 郑炳清 | 爱心捐款 | ¥1.00 | 暂未开票 |
| 4月23日收到 | 吕世刚 | 爱心捐款 | ¥1.00 | 暂未开票 |
| 4月23日收到 | 李转梅 | 爱心捐款 | ¥1.00 | 暂未开票 |
| 4月23日收到 | 冯月雄 | 爱心捐款 | ¥1.00 | 暂未开票 |
| 4月23日收到 | 王森 | 爱心捐款 | ¥1.00 | 暂未开票 |
| 4月23日收到 | 刘柯秦 | 爱心捐款 | ¥1.00 | 暂未开票 |
| 4月23日收到 | 翟才龙 | 爱心捐款 | ¥1.00 | 暂未开票 |
| 4月23日收到 | 李嫚嫚 | 爱心捐款 | ¥1.00 | 暂未开票 |
| 4月23日收到 | 何广洪 | 爱心捐款 | ¥1.00 | 暂未开票 |
| 4月23日收到 | 刘辉学 | 爱心捐款 | ¥1.00 | 暂未开票 |
| 4月23日收到 | 王芬 | 爱心捐款 | ¥5.00 | 暂未开票 |
| 4月23日收到 | 华文光 | 爱心捐款 | ¥1.00 | 暂未开票 |
| 4月23日收到 | 周亚兰 | 爱心捐款 | ¥1.00 | 暂未开票 |
| 4月23日收到 | 邢磊 | 爱心捐款 | ¥1.00 | 暂未开票 |
| 4月23日收到 | 李孝敏 | 爱心捐款 | ¥1.00 | 暂未开票 |
| 4月23日收到 | 王蕊 | 爱心捐款 | ¥1.00 | 暂未开票 |
| 4月23日收到 | 宋致广 | 爱心捐款 | ¥1.00 | 暂未开票 |
| 4月23日收到 | 于欢 | 爱心捐款 | ¥1.00 | 暂未开票 |
| 4月23日收到 | 陈时 | 爱心捐款 | ¥1.00 | 暂未开票 |
| 4月23日收到 | 马雯雯 | 爱心捐款 | ¥1.00 | 暂未开票 |
| 4月23日收到 | 石晶 | 爱心捐款 | ¥1.00 | 暂未开票 |
| 4月23日收到 | 王留桂 | 爱心捐款 | ¥1.00 | 暂未开票 |
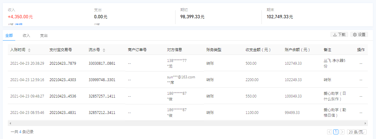
| 4月23日收到 | 丛飞 | 净水助学 | ¥500.00 | 净水器5份 |
| 4月23日收到 | 孙京席 | 爱心助学 | ¥2,200.00 | 资助王小平 |
| 4月23日收到 | 崔宁 | 爱心助学 | ¥550.00 | 爱心助学(日什么东作) |
| 4月23日收到 | 苗润梦 | 爱心助学 | ¥1,100.00 | 爱心助学(勒格日信)(暂未开票) |
| 【通知】为规范四川省索玛慈善基金会财务,从即日起,我们将给每一位捐赠人(包括以前给我们捐赠的朋友们)据实开具捐赠票据,微信号:suomahua123,手机:18981556717,座机:0834-2507977,发送捐款截图、捐赠人(单位)姓名、收件地址、电话、邮编信息,以便我们给您邮寄捐赠票据,感谢各位爱心人士的救助! | ||||
| 四川省索玛慈善基金会 2021年4月23日 | ||||











