2021年3月26日接收捐赠的信息
发布时间 2021-03-29 丨 来源:四川省索玛慈善基金会 丨 浏览量 370
| 3月26日收到 | 财付通支付科技有限公司 | 暂未开票 | ¥203.10 | 大凉山困境学生关爱 |
| 3月26日收到 | 财付通支付科技有限公司 | 暂未开票 | ¥92.86 | 索玛花阳光午餐 |
| 3月26日收到 | 财付通支付科技有限公司 | 暂未开票 | ¥144.06 | 索玛花支教 |
| 3月26日收到 | 财付通支付科技有限公司 | 暂未开票 | ¥1.09 | 索玛花小学 |
| 3月26日收到 | 财付通支付科技有限公司 | 暂未开票 | ¥2.11 | 请帮助我读完高中 |
| 3月26日收到 | 财付通支付科技有限公司 | 暂未开票 | ¥107.09 | 索玛花爱心结对 |
| 3月26日收到 | 财付通支付科技有限公司 | 暂未开票 | ¥205.66 | 索玛花净水助学 |
| 3月26日收到 | 财付通支付科技有限公司 | 暂未开票 | ¥50.11 | 困难儿童过暖冬 |
| 3月26日收到 | 黄明清 | 爱心助学 | ¥2,200.00 | 资助尔日日夫 |
| 3月26日收到 | 吴芳兰 | 爱心捐款 | ¥5.00 | |
| 3月26日收到 | 何晶晶 | 爱心捐款 | ¥5.00 | |
| 3月26日收到 | 张新影 | 爱心捐款 | ¥5.00 | |
| 3月26日收到 | 田艳云 | 爱心捐款 | ¥5.00 | |
| 3月26日收到 | 李静茹 | 爱心捐款 | ¥5.00 | |
| 3月26日收到 | 蒋荣梅 | 爱心捐款 | ¥5.00 | |
| 3月26日收到 | 韩俐颖 | 爱心捐款 | ¥5.00 | |
| 3月26日收到 | 侯风美 | 爱心捐款 | ¥5.00 | |
| 3月26日收到 | 赵晓彬 | 爱心捐款 | ¥5.00 | |
| 3月26日收到 | 胡晓丹 | 爱心捐款 | ¥5.00 | |
| 3月26日收到 | 冯映艳 | 爱心捐款 | ¥5.00 | |
| 3月26日收到 | 李淑敏 | 爱心捐款 | ¥5.00 | |
| 3月26日收到 | 曦阳 | 阳光午餐 | ¥200.00 | 捐助阳光午餐 |
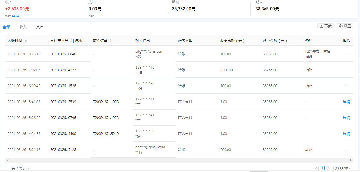
| 3月26日收到 | *斌 | 阳光午餐 | ¥100.00 | 阳光午餐,匿名捐赠(支付宝暂未开票) |
| 3月26日收到 | 张春梅 | 爱心助学 | ¥2,200.00 | 资助吉木拉波、石一约作 |
| 3月26日收到 | 乐栋强 | 爱心捐款 | ¥100.00 | 转账138******96 |
| 3月26日收到 | 卢宇 | 爱心捐款 | ¥2.00 | |
| 3月26日收到 | 杨婕 | 爱心捐款 | ¥1.00 | |
| 3月26日收到 | **晴 | 爱心捐款 | ¥200.00 | (支付宝暂未开票) |
| 【通知】为规范四川省索玛慈善基金会财务,从即日起,我们将给每一位捐赠人(包括以前给我们捐赠的朋友们)据实开具捐赠票据,微信号:suomahua123,手机:18981556717,座机:0834-2507977,发送捐款截图、捐赠人(单位)姓名、收件地址、电话、邮编信息,以便我们给您邮寄捐赠票据,感谢各位爱心人士的捐助! | ||||
| 四川省索玛慈善基金会 2021年3月26日 | ||||




















