2021年3月21日接收捐赠的信息
发布时间 2021-03-22 丨 来源:四川省索玛慈善基金会 丨 浏览量 337
| 3月21日收到 | 财付通支付科技有限公司 | 暂未开票 | ¥24.00 | 大凉山困境学生关爱 |
| 3月21日收到 | 财付通支付科技有限公司 | 暂未开票 | ¥2,250.33 | 索玛花阳光午餐 |
| 3月21日收到 | 财付通支付科技有限公司 | 暂未开票 | ¥607.12 | 索玛花支教 |
| 3月21日收到 | 财付通支付科技有限公司 | 暂未开票 | ¥31.18 | 索玛花小学 |
| 3月21日收到 | 财付通支付科技有限公司 | 暂未开票 | ¥1,070.60 | 请帮助我读完高中 |
| 3月21日收到 | 财付通支付科技有限公司 | 暂未开票 | ¥4.12 | 困难儿童过暖冬 |
| 3月21日收到 | 财付通支付科技有限公司 | 暂未开票 | ¥642.18 | 索玛花爱心结对 |
| 3月21日收到 | 财付通支付科技有限公司 | 暂未开票 | ¥545.67 | 索玛花净水助学 |
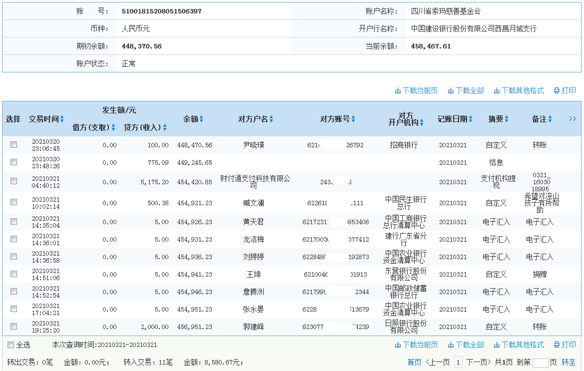
| 3月21日收到 | 尹晓璞 | 爱心捐款 | ¥100.00 | |
| 3月21日收到 | 臧文澜 | 爱心捐款 | ¥500.38 | 希望对凉山孩子有所帮助 |
| 3月21日收到 | 黄天君 | 爱心捐款 | ¥5.00 | |
| 3月21日收到 | 龙洁梅 | 爱心捐款 | ¥5.00 | |
| 3月21日收到 | 刘婷婷 | 爱心捐款 | ¥5.00 | |
| 3月21日收到 | 王坤 | 爱心捐款 | ¥5.00 | |
| 3月21日收到 | 詹腾洲 | 爱心捐款 | ¥5.00 | |
| 3月21日收到 | 张永晏 | 爱心捐款 | ¥5.00 | |
| 3月21日收到 | 郭建峰 | 阳光午餐 | ¥2,000.00 | |
| 3月21日收到 | 黄继海 | 阳光午餐 | ¥100.00 | 阳光午餐151******58 |
| 【通知】为规范四川省索玛慈善基金会财务,从即日起,我们将给每一位捐赠人(包括以前给我们捐赠的朋友们)据实开具捐赠票据,微信号:suomahua123,手机:18981556717,座机:0834-2507977,发送捐款截图、捐赠人(单位)姓名、收件地址、电话、邮编信息,以便我们给您邮寄捐赠票据,感谢各位爱心人士的救助! | ||||
| 四川省索玛慈善基金会 2021年3月21日 | ||||












