2021年3月19日接收捐赠的信息
发布时间 2021-03-22 丨 来源:四川省索玛慈善基金会 丨 浏览量 349
| 3月19日收到 | 财付通支付科技有限公司 | 暂未开票 | ¥15.10 | 大凉山困境学生关爱 |
| 3月19日收到 | 财付通支付科技有限公司 | 暂未开票 | ¥4,328.02 | 索玛花阳光午餐 |
| 3月19日收到 | 财付通支付科技有限公司 | 暂未开票 | ¥175.73 | 索玛花支教 |
| 3月19日收到 | 财付通支付科技有限公司 | 暂未开票 | ¥72.30 | 索玛花小学 |
| 3月19日收到 | 财付通支付科技有限公司 | 暂未开票 | ¥114.10 | 请帮助我读完高中 |
| 3月19日收到 | 财付通支付科技有限公司 | 暂未开票 | ¥431.19 | 索玛花爱心结对 |
| 3月19日收到 | 财付通支付科技有限公司 | 暂未开票 | ¥15,894.13 | 索玛花净水助学 |
| 3月19日收到 | 财付通支付科技有限公司 | 暂未开票 | ¥6.21 | 困难儿童过暖冬 |
| 3月19日收到 | 财付通支付科技有限公司 | 暂未开票 | ¥1.00 | 关爱彝区特困老人 |
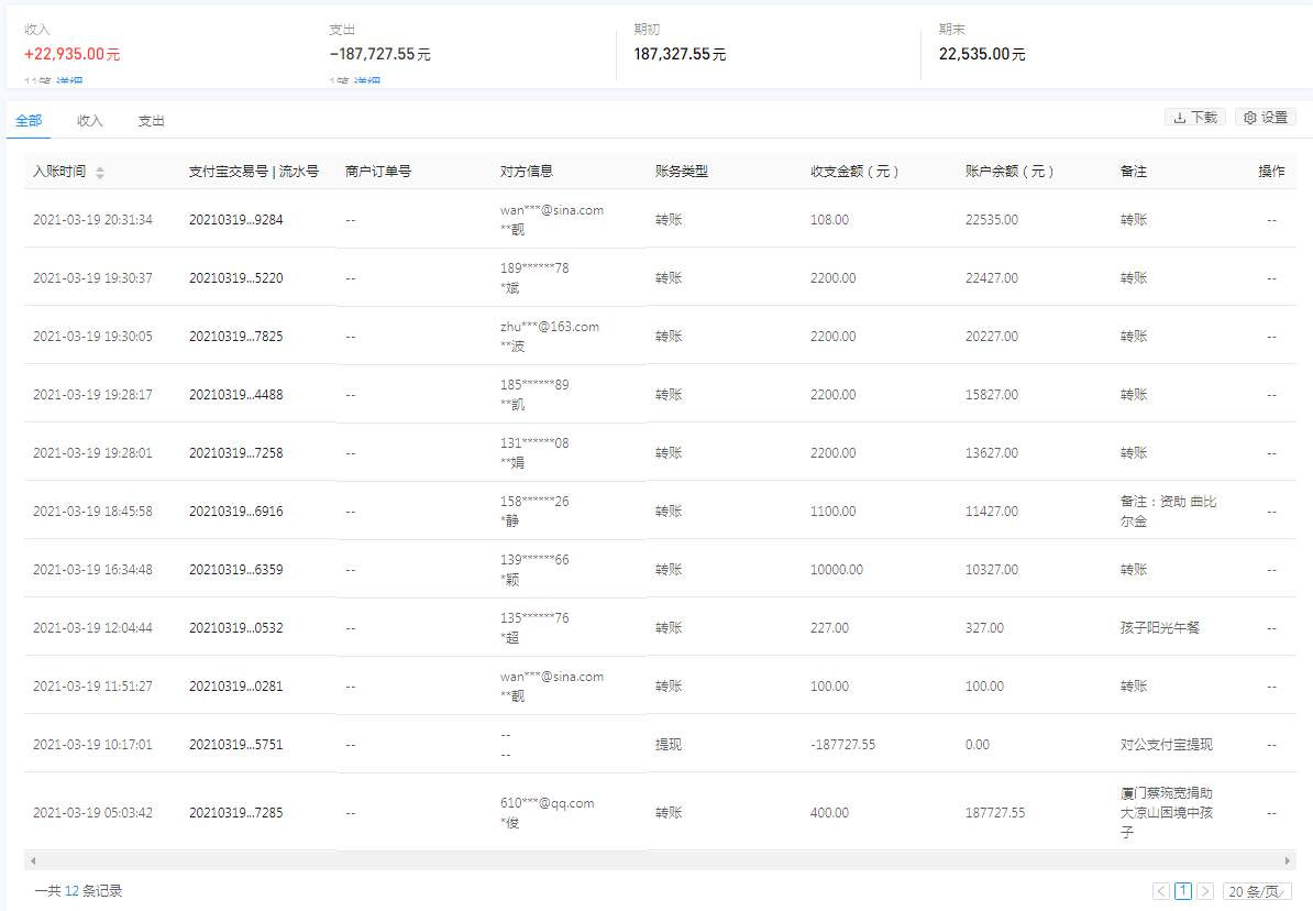
| 3月19日收到 | 廖桦 | 爱心助学 | ¥2,200.00 | 资助吉如石主1年的助学金 |
| 3月19日收到 | 廖桦 | 爱心助学 | ¥2,200.00 | 资助曲木阿果1年的助学金 |
| 3月19日收到 | 孙建国 | 爱心助学 | ¥1,100.00 | 索玛花爱心助学木子么俄外、木子俄曲 |
| 3月19日收到 | 韦学美 | 爱心助学 | ¥3,850.00 | 爱心结对阿米三兄妹 |
| 3月19日收到 | 解修伦 | 爱心助学 | ¥2,000.00 | 南京解修伦 |
| 3月19日收到 | 陆娟娟 | 爱心捐款 | ¥5.00 | |
| 3月19日收到 | 张家港市慈善总会 | 索玛花支教 | ¥80,000.00 | 宋庆龄定向捐赠宋庆龄 定向捐赠 |
| 3月19日收到 | 徐增芹 | 爱心捐款 | ¥5.00 | |
| 3月19日收到 | 王雪琪 | 爱心捐款 | ¥5.00 | |
| 3月19日收到 | 王倩倩 | 爱心捐款 | ¥5.00 | |
| 3月19日收到 | 李雪娜 | 爱心捐款 | ¥5.00 | |
| 3月19日收到 | 仇婷 | 爱心捐款 | ¥5.00 | |
| 3月19日收到 | 徐劝劝 | 爱心捐款 | ¥5.00 | |
| 3月19日收到 | 张莉娜 | 爱心捐款 | ¥100.00 | |
| 3月19日收到 | 王靓靓 | 爱心捐款 | ¥208.00 | |
| 3月19日收到 | 顾斌 | 爱心助学 | ¥2,200.00 | |
| 3月19日收到 | 朱云波 | 爱心助学 | ¥2,200.00 | |
| 3月19日收到 | 蔡镇骏 | 爱心助学 | ¥2,200.00 | |
| 3月19日收到 | 王文凯 | 爱心助学 | ¥2,200.00 | |
| 3月19日收到 | 陈秀娟 | 爱心助学 | ¥2,200.00 | |
| 3月19日收到 | 孙文博 | 爱心助学 | ¥1,100.00 | 备注:资助 曲比尔金 |
| 3月19日收到 | 钱颖 | 索玛花支教 | ¥10,000.00 | 支持索玛花支教图书馆项目 |
| 3月19日收到 | *超 | 阳光午餐 | ¥227.00 | 孩子阳光午餐(支付宝暂未开票) |
| 3月19日收到 | 厦门蔡琬宽 | 爱心捐款 | ¥400.00 | 捐助大凉山困境中孩子 |
| 【通知】为规范四川省索玛慈善基金会财务,从即日起,我们将给每一位捐赠人(包括以前给我们捐赠的朋友们)据实开具捐赠票据,微信号:suomahua123,手机:18981556717,座机:0834-2507977,发送捐款截图、捐赠人(单位)姓名、收件地址、电话、邮编信息,以便我们给您邮寄捐赠票据,感谢各位爱心人士的捐助! | ||||
| 四川省索玛慈善基金会 2021年3月19日 | ||||























