2021年3月15日接收捐赠的信息
发布时间 2021-03-16 丨 来源:四川省索玛慈善基金会 丨 浏览量 366
| 3月15日收到 | 财付通支付科技有限公司 | 暂未开票 | ¥6.00 | 大凉山困境学生关爱 |
| 3月15日收到 | 财付通支付科技有限公司 | 暂未开票 | ¥11,000.00 | 大凉山一帮一助学 |
| 3月15日收到 | 财付通支付科技有限公司 | 暂未开票 | ¥231.66 | 索玛花阳光午餐 |
| 3月15日收到 | 财付通支付科技有限公司 | 暂未开票 | ¥23.00 | 索玛花支教 |
| 3月15日收到 | 财付通支付科技有限公司 | 暂未开票 | ¥32.28 | 索玛花小学 |
| 3月15日收到 | 财付通支付科技有限公司 | 暂未开票 | ¥288.33 | 请帮助我读完高中 |
| 3月15日收到 | 财付通支付科技有限公司 | 暂未开票 | ¥413.24 | 困难儿童过暖冬 |
| 3月15日收到 | 财付通支付科技有限公司 | 暂未开票 | ¥81.44 | 索玛花爱心结对 |
| 3月15日收到 | 财付通支付科技有限公司 | 暂未开票 | ¥331.10 | 索玛花净水助学 |
| 3月15日收到 | 财付通支付科技有限公司 | 暂未开票 | ¥1.00 | 关爱彝区特困老人 |
| 3月15日收到 | 吴迎凯 | 爱心助学 | ¥2,750.00 | 爱心助学(董小青 |
| 3月15日收到 | 何淑梅 | 扶贫救助 | ¥500.00 | |
| 3月15日收到 | 马丽红 | 爱心捐款 | ¥10.00 | |
| 3月15日收到 | 杨蓉 | 爱心捐款 | ¥10.00 | |
| 3月15日收到 | 马孝利 | 爱心捐款 | ¥10.00 | |
| 3月15日收到 | 徐莹莹 | 爱心捐款 | ¥10.00 | |
| 3月15日收到 | 李海燕 | 爱心捐款 | ¥10.00 | |
| 3月15日收到 | 段俊燕 | 爱心捐款 | ¥5.00 | |
| 3月15日收到 | 郑海丽 | 爱心捐款 | ¥5.00 | |
| 3月15日收到 | 北京雅债商贸有限公司 | 爱心捐款 | ¥1,292.00 | |
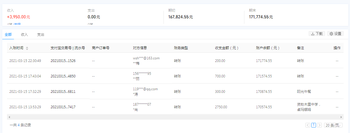
| 3月15日收到 | **梅 | 爱心捐款 | ¥200.00 | 转账(支付宝暂未开票) |
| 3月15日收到 | **丽 | 爱心捐款 | ¥700.00 | 转账(支付宝暂未开票) |
| 3月15日收到 | *涛 | 阳光午餐 | ¥300.00 | 阳光午餐(支付宝暂未开票) |
| 3月15日收到 | 时乙戌 | 爱心助学 | ¥2,750.00 | 资助木里中学,卓玛娜姆 |
| 【通知】为规范四川省索玛慈善基金会财务,从即日起,我们将给每一位捐赠人(包括以前给我们捐赠的朋友们)据实开具捐赠票据,微信号:suomahua123,手机:18981556717,座机:0834-2507977,发送捐款截图、捐赠人(单位)姓名、收件地址、电话、邮编信息,以便我们给您邮寄捐赠票据,感谢各位爱心人士的救助! | ||||
| 四川省索玛慈善基金会 2021年3月15日 | ||||













