2021年3月11日接收捐赠的信息
发布时间 2021-03-12 丨 来源:四川省索玛慈善基金会 丨 浏览量 344
| 3月11日收到 | 财付通支付科技有限公司 | 暂未开票 | ¥4.11 | 大凉山困境学生关爱 |
| 3月11日收到 | 财付通支付科技有限公司 | 暂未开票 | ¥15,400.00 | 大凉山一帮一助学 |
| 3月11日收到 | 财付通支付科技有限公司 | 暂未开票 | ¥313.02 | 索玛花阳光午餐 |
| 3月11日收到 | 财付通支付科技有限公司 | 暂未开票 | ¥7.15 | 索玛花支教 |
| 3月11日收到 | 财付通支付科技有限公司 | 暂未开票 | ¥1,001.13 | 索玛花小学 |
| 3月11日收到 | 财付通支付科技有限公司 | 暂未开票 | ¥444.14 | 请帮助我读完高中 |
| 3月11日收到 | 财付通支付科技有限公司 | 暂未开票 | ¥54.28 | 困难儿童过暖冬 |
| 3月11日收到 | 财付通支付科技有限公司 | 暂未开票 | ¥558.58 | 索玛花爱心结对 |
| 3月11日收到 | 财付通支付科技有限公司 | 暂未开票 | ¥2,851.55 | 索玛花净水助学 |
| 3月11日收到 | 吴凯 | 爱心助学 | ¥2,750.00 | 资助伍冬兰 |
| 3月11日收到 | 邱浩 | 爱心助学 | ¥2,750.00 | 索玛花爱心助学(沈医生) |
| 3月11日收到 | 高建 | 爱心助学 | ¥2,750.00 | 资助王秀英 |
| 3月11日收到 | 高广珍 | 爱心捐款 | ¥3.00 | |
| 3月11日收到 | 崔赞霞 | 爱心捐款 | ¥3.00 | |
| 3月11日收到 | 唐念 | 爱心捐款 | ¥3.00 | |
| 3月11日收到 | 张厚梅 | 爱心捐款 | ¥3.00 | |
| 3月11日收到 | 黄敏琼 | 爱心捐款 | ¥3.00 | |
| 3月11日收到 | 周莹 | 爱心捐款 | ¥3.00 | |
| 3月11日收到 | 董文标 | 爱心捐款 | ¥3.00 | |
| 3月11日收到 | 陈林 | 爱心捐款 | ¥3.00 | |
| 3月11日收到 | 王群 | 爱心捐款 | ¥500.00 | |
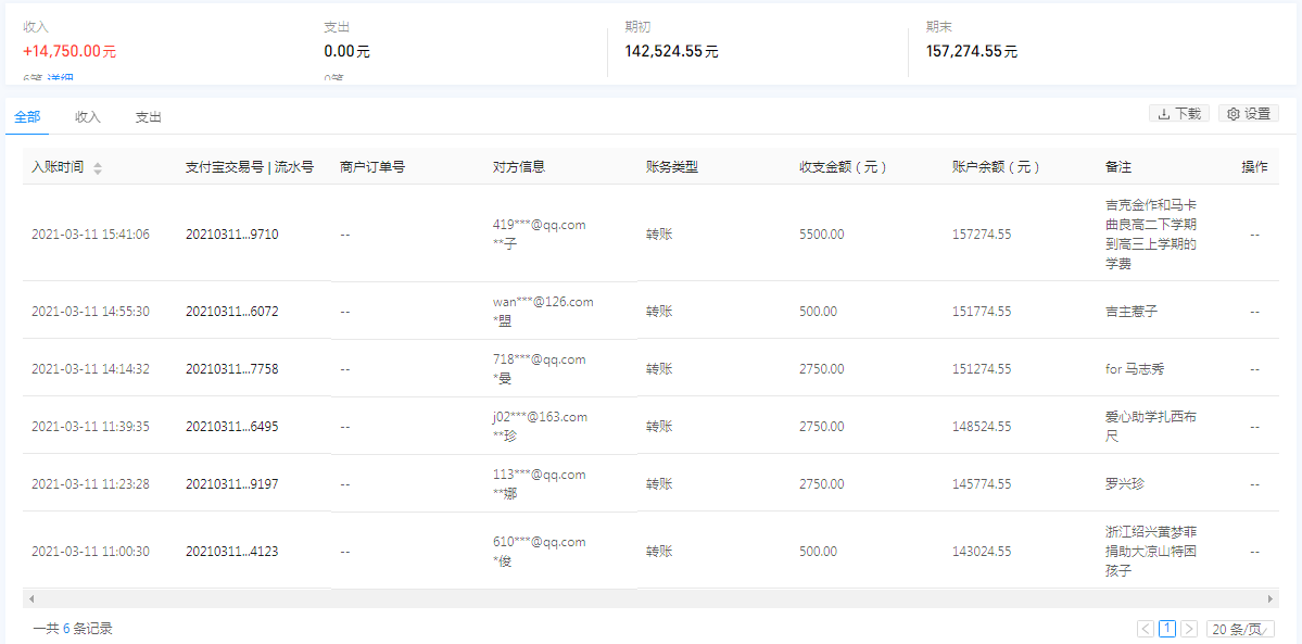
| 3月11日收到 | 孙美子 | 爱心助学 | ¥5,500.00 | 吉克金作和马卡曲良高二下学期到高三上学期的学费 |
| 3月11日收到 | 王盟 | 爱心助学 | ¥500.00 | 吉主惹子 |
| 3月11日收到 | 刘曼 | 爱心助学 | ¥2,750.00 | for 马志秀 |
| 3月11日收到 | 邓凤珍 | 爱心助学 | ¥2,750.00 | 爱心助学扎西布尺 |
| 3月11日收到 | 张晓娜 | 爱心助学 | ¥2,750.00 | 罗兴珍 |
| 3月11日收到 | 浙江绍兴黄梦菲 | 扶贫救助 | ¥500.00 | 捐助大凉山特困孩子 |
| 【通知】为规范四川省索玛慈善基金会财务,从即日起,我们将给每一位捐赠人(包括以前给我们捐赠的朋友们)据实开具捐赠票据,微信号:suomahua123,手机:18981556717,座机:0834-2507977,发送捐款截图、捐赠人(单位)姓名、收件地址、电话、邮编信息,以便我们给您邮寄捐赠票据,感谢各位爱心人士的救助! | ||||
| 四川省索玛慈善基金会 2021年3月11日 | ||||




















