2021年3月2日接收捐赠的信息
发布时间 2021-03-03 丨 来源:四川省索玛慈善基金会 丨 浏览量 310
| 3月2日收到 | 财付通支付科技有限公司 | 暂未开票 | ¥86.00 | 大凉山困境学生关爱 |
| 3月2日收到 | 财付通支付科技有限公司 | 暂未开票 | ¥16,500.00 | 大凉山一帮一助学 |
| 3月2日收到 | 财付通支付科技有限公司 | 暂未开票 | ¥826.42 | 索玛花阳光午餐 |
| 3月2日收到 | 财付通支付科技有限公司 | 暂未开票 | ¥403.02 | 索玛花支教 |
| 3月2日收到 | 财付通支付科技有限公司 | 暂未开票 | ¥502.03 | 索玛花小学 |
| 3月2日收到 | 财付通支付科技有限公司 | 暂未开票 | ¥329.09 | 请帮助我读完高中 |
| 3月2日收到 | 财付通支付科技有限公司 | 暂未开票 | ¥340.07 | 索玛花爱心结对 |
| 3月2日收到 | 财付通支付科技有限公司 | 暂未开票 | ¥570.88 | 索玛花净水助学 |
| 3月2日收到 | 财付通支付科技有限公司 | 暂未开票 | ¥1,957.30 | 困难儿童过暖冬 |
| 3月2日收到 | 廖桦 | 爱心助学 | ¥3,300.00 | 支付惹机机里3年助学金 |
| 3月2日收到 | 廖桦 | 爱心助学 | ¥1,100.00 | 支付吉克吉曲1年助学金 |
| 3月2日收到 | 廖桦 | 爱心助学 | ¥1,100.00 | 支付典孜曲卓1年助学金 |
| 3月2日收到 | 申琦 | 爱心捐款 | ¥400.00 | 支持孩子们学习 |
| 3月2日收到 | 孙智慧 | 爱心捐款 | ¥1.00 | |
| 3月2日收到 | 吕桂兰 | 爱心捐款 | ¥1.00 | |
| 3月2日收到 | 舒晓庆 | 爱心捐款 | ¥1.00 | |
| 3月2日收到 | 马小花 | 爱心捐款 | ¥1.00 | |
| 3月2日收到 | 刘静 | 爱心捐款 | ¥1.00 | |
| 3月2日收到 | 陈婷 | 爱心捐款 | ¥1.00 | |
| 3月2日收到 | 许洁琪 | 爱心捐款 | ¥1.00 | |
| 3月2日收到 | 许小丹 | 爱心捐款 | ¥1.00 | |
| 3月2日收到 | 曹磊 | 爱心捐款 | ¥1.00 | |
| 3月2日收到 | 周泽峰 | 爱心捐款 | ¥200.00 | |
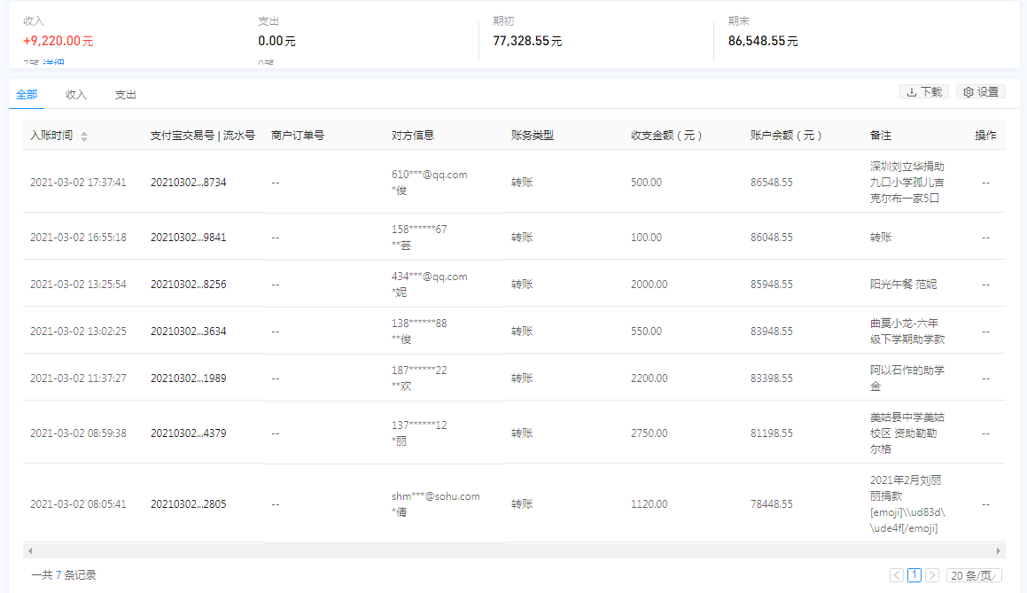
| 3月2日收到 | 深圳刘立华 | 扶贫救助 | ¥500.00 | 捐助九口小学孤儿吉克尔布一家5口 |
| 3月2日收到 | 李沄芸 | 爱心捐款 | ¥100.00 | 158******67 |
| 3月2日收到 | 范妮 | 阳光午餐 | ¥2,000.00 | 阳光午餐 范妮 |
| 3月2日收到 | 周启俊 | 爱心助学 | ¥550.00 | 曲莫小龙-六年级下学期助学款 |
| 3月2日收到 | 续朝欢 | 爱心助学 | ¥2,200.00 | 阿以石作的助学金 |
| 3月2日收到 | 孟丽 | 爱心助学 | ¥2,750.00 | 美姑县中学美姑校区 资助勒勒尔格 |
| 3月2日收到 | 刘丽丽 | 爱心捐款 | ¥1,120.00 | 2021年2月奇迹团队 |
| 【通知】为规范四川省索玛慈善基金会财务,从即日起,我们将给每一位捐赠人(包括以前给我们捐赠的朋友们)据实开具捐赠票据,微信号:suomahua123,手机:18981556717,座机:0834-2507977,发送捐款截图、捐赠人(单位)姓名、收件地址、电话、邮编信息,以便我们给您邮寄捐赠票据,感谢各位爱心人士的捐助! | ||||
| 四川省索玛慈善基金会 2021年3月2日 | ||||





















