2021年2月25日接收捐赠的信息
发布时间 2021-02-28 丨 来源:四川省索玛慈善基金会 丨 浏览量 300
| 2月25日收到 | 财付通支付科技有限公司 | 暂未开票 | ¥10.76 | 大凉山困境学生关爱 |
| 2月25日收到 | 财付通支付科技有限公司 | 暂未开票 | ¥8,800.00 | 大凉山一帮一助学 |
| 2月25日收到 | 财付通支付科技有限公司 | 暂未开票 | ¥155.03 | 索玛花阳光午餐 |
| 2月25日收到 | 财付通支付科技有限公司 | 暂未开票 | ¥3,781.26 | 索玛花支教 |
| 2月25日收到 | 财付通支付科技有限公司 | 暂未开票 | ¥2.30 | 索玛花小学 |
| 2月25日收到 | 财付通支付科技有限公司 | 暂未开票 | ¥134.29 | 请帮助我读完高中 |
| 2月25日收到 | 财付通支付科技有限公司 | 暂未开票 | ¥470.25 | 困难儿童过暖冬 |
| 2月25日收到 | 财付通支付科技有限公司 | 暂未开票 | ¥1,383.98 | 索玛花爱心结对 |
| 2月25日收到 | 财付通支付科技有限公司 | 暂未开票 | ¥56.25 | 索玛花净水助学 |
| 2月25日收到 | 财付通支付科技有限公司 | 暂未开票 | ¥0.01 | 关爱彝区特困老人 |
| 2月25日收到 | 黄红斌 | 爱心捐款 | ¥2,040.00 | 捐赠车辆维修的费用 |
| 2月25日收到 | 韩慧 | 爱心捐款 | ¥2.00 | |
| 2月25日收到 | 王露露 | 爱心捐款 | ¥1.00 | |
| 2月25日收到 | 王丽丽 | 爱心捐款 | ¥1.00 | |
| 2月25日收到 | 王丽娜 | 爱心捐款 | ¥1.00 | |
| 2月25日收到 | 李淑琴 | 爱心捐款 | ¥1.00 | |
| 2月25日收到 | 邸娟 | 爱心捐款 | ¥1.00 | |
| 2月25日收到 | 郑秋霞 | 爱心捐款 | ¥1.00 | |
| 2月25日收到 | 贾海靖 | 爱心捐款 | ¥1.00 | |
| 2月25日收到 | 王晓琪 | 爱心捐款 | ¥1.00 | |
| 2月25日收到 | 金兰珠 | 爱心捐款 | ¥1.00 | |
| 2月25日收到 | 马登文 | 爱心捐款 | ¥1.00 | |
| 2月25日收到 | 薛胜 | 爱心捐款 | ¥2.00 | |
| 2月25日收到 | 潘洋 | 爱心捐款 | ¥1.00 | |
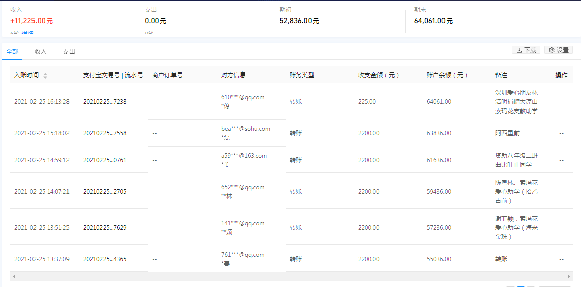
| 2月25日收到 | 深圳爱心朋友林浩明 | 索玛花支教 | ¥225.00 | 捐赠大凉山索玛花支教助学 |
| 2月25日收到 | 崔磊 | 爱心助学 | ¥2,200.00 | 资助阿西里前(巴普中学) |
| 2月25日收到 | 杜美 | 爱心助学 | ¥2,200.00 | 资助曲比叶正 |
| 2月25日收到 | 陈粤林 | 爱心助学 | ¥2,200.00 | 索玛花爱心助学(拾乙古前) |
| 2月25日收到 | 谢菲颖 | 爱心助学 | ¥2,200.00 | 索玛花爱心助学(海来金珠) |
| 2月25日收到 | 田春 | 爱心助学 | ¥2,200.00 | 资助吉日阿吉(巴普中学) |
| 【通知】为规范四川省索玛慈善基金会财务,从即日起,我们将给每一位捐赠人(包括以前给我们捐赠的朋友们)据实开具捐赠票据,微信号:suomahua123,手机:18981556717,座机:0834-2507977,发送捐款截图、捐赠人(单位)姓名、收件地址、电话、邮编信息,以便我们给您邮寄捐赠票据,感谢各位爱心人士的救助! | ||||
| 四川省索玛慈善基金会 2021年2月25日 | ||||






















