2021年2月6日接收捐赠的信息
发布时间 2021-02-07 丨 来源:四川省索玛慈善基金会 丨 浏览量 286
| 2月6日收到 | 财付通支付科技有限公司 | 暂未开票 | ¥46.00 | 大凉山困境学生关爱 |
| 2月6日收到 | 财付通支付科技有限公司 | 暂未开票 | ¥22,000.00 | 大凉山一帮一助学 |
| 2月6日收到 | 财付通支付科技有限公司 | 暂未开票 | ¥1,130.73 | 索玛花阳光午餐 |
| 2月6日收到 | 财付通支付科技有限公司 | 暂未开票 | ¥136.75 | 索玛花支教 |
| 2月6日收到 | 财付通支付科技有限公司 | 暂未开票 | ¥721.32 | 索玛花小学 |
| 2月6日收到 | 财付通支付科技有限公司 | 暂未开票 | ¥202.00 | 关爱彝区特困老人 |
| 2月6日收到 | 财付通支付科技有限公司 | 暂未开票 | ¥1,533.85 | 请帮助我读完高中 |
| 2月6日收到 | 谢益华 | 爱心助学 | ¥2,200.00 | 爱心助学曲比妮古 |
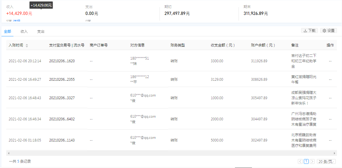
| 2月6日收到 | 林玲妹 | 爱心助学 | ¥3,300.00 | 吉付达子初二下和初三年纪助学金 |
| 2月6日收到 | 黄红斌 | 索玛花小学 | ¥3,129.00 | 捐赠索玛花小学 |
| 2月6日收到 | 成都吴强 | 爱心捐款 | ¥1,000.00 | 捐赠大凉山索玛花孩子新年快乐! |
| 2月6日收到 | 广州冯志德 | 扶贫救助 | ¥2,000.00 | 捐助肺结核病孩子吉木有星治疗康复 |
| 2月6日收到 | 北京杨巍 | 扶贫救助 | ¥5,000.00 | 救助吉木有星肺结核病医疗和康复费用 |
| 【通知】为规范四川省索玛慈善基金会财务,从即日起,我们将给每一位捐赠人(包括以前给我们捐赠的朋友们)据实开具捐赠票据,微信号:suomahua123,手机:18981556717,座机:0834-2507977,发送捐款截图、捐赠人(单位)姓名、收件地址、电话、邮编信息,以便我们给您邮寄捐赠票据,感谢各位爱心人士的捐助! | ||||
| 四川省索玛慈善基金会 2021年2月6日 | ||||








