2021年1月28日接收捐赠的信息
发布时间 2021-01-29 丨 来源:四川省索玛慈善基金会 丨 浏览量 284
| 1月28日收到 | 财付通支付科技有限公司 | 暂未开票 | ¥1,907.73 | 大凉山困境学生关爱 |
| 1月28日收到 | 财付通支付科技有限公司 | 暂未开票 | ¥19,250.00 | 大凉山一帮一助学 |
| 1月28日收到 | 财付通支付科技有限公司 | 暂未开票 | ¥1,727.78 | 索玛花阳光午餐 |
| 1月28日收到 | 财付通支付科技有限公司 | 暂未开票 | ¥188.70 | 索玛花支教 |
| 1月28日收到 | 程嵘 | 爱心捐款 | ¥200.00 | 电子汇入 |
| 1月28日收到 | 顾洋洋 | 爱心捐款 | ¥1.00 | 电子汇入 |
| 1月28日收到 | 热则耶姆罕·图如普 | 爱心捐款 | ¥1.00 | 电子汇入 |
| 1月28日收到 | 关悦 | 爱心捐款 | ¥1.00 | 电子汇入 |
| 1月28日收到 | 邢杰 | 爱心捐款 | ¥1.00 | 电子汇入 |
| 1月28日收到 | 徐晨红 | 爱心捐款 | ¥1.00 | 电子汇入 |
| 1月28日收到 | 张敏 | 爱心捐款 | ¥1.00 | 电子汇入 |
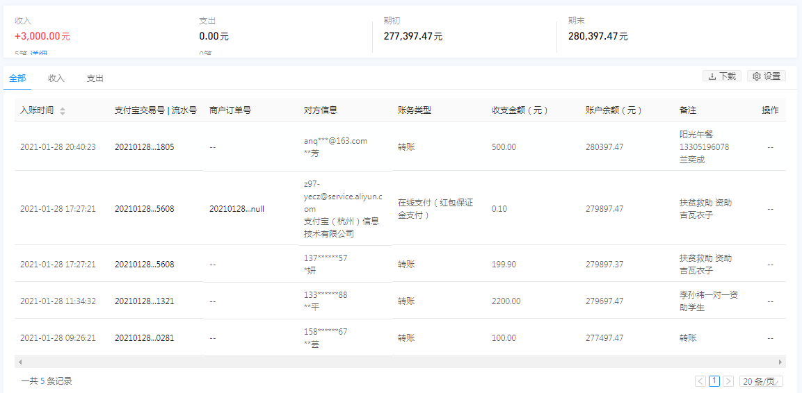
| 1月28日收到 | 兰奕成 | 阳光午餐 | ¥500.00 | 阳光午餐13305196078兰奕成 |
| 1月28日收到 | 曾妍 | 扶贫救助 | ¥200.00 | 扶贫救助 资助吉瓦衣子 |
| 1月28日收到 | 李孙祎 | 爱心助学 | ¥2,200.00 | 一对一资助学生 |
| 1月28日收到 | 李沄芸 | 爱心捐款 | ¥100.00 | 转账158******67 |
| 【通知】为规范四川省索玛慈善基金会财务,从即日起,我们将给每一位捐赠人(包括以前给我们捐赠的朋友们)据实开具捐赠票据,微信号:suomahua123,手机:18981556717,座机:0834-2507977,发送捐款截图、捐赠人(单位)姓名、收件地址、电话、邮编信息,以便我们给您邮寄捐赠票据,感谢各位爱心人士的捐助! | ||||
| 四川省索玛慈善基金会 2021年1月28日 | ||||













