2021年1月25日接收捐赠的信息
发布时间 2021-01-26 丨 来源:四川省索玛慈善基金会 丨 浏览量 311
| 1月25日收到 | 财付通支付科技有限公司 | 暂未开票 | ¥3,253.86 | 大凉山困境学生关爱 |
| 1月25日收到 | 财付通支付科技有限公司 | 暂未开票 | ¥27,500.00 | 大凉山一帮一助学 |
| 1月25日收到 | 财付通支付科技有限公司 | 暂未开票 | ¥1,394.80 | 索玛花阳光午餐 |
| 1月25日收到 | 财付通支付科技有限公司 | 暂未开票 | ¥1,742.44 | 索玛花支教 |
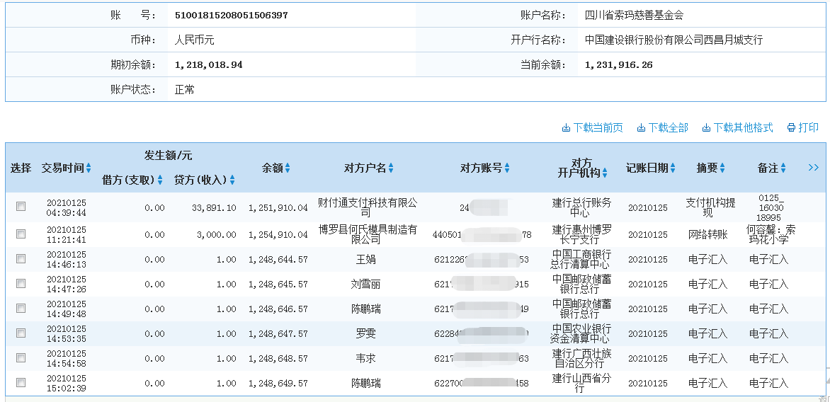
| 1月25日收到 | 博罗县何氏模具制造有限公司 | 索玛花小学 | ¥3,000.00 | 何容馨:索玛花小学91441322781152778C |
| 1月25日收到 | 王娟 | 爱心捐款 | ¥1.00 | 电子汇入 |
| 1月25日收到 | 刘雪丽 | 爱心捐款 | ¥1.00 | 电子汇入 |
| 1月25日收到 | 陈鹏瑞 | 爱心捐款 | ¥1.00 | 电子汇入 |
| 1月25日收到 | 罗雯 | 爱心捐款 | ¥1.00 | 电子汇入 |
| 1月25日收到 | 韦求 | 爱心捐款 | ¥1.00 | 电子汇入 |
| 1月25日收到 | 陈鹏瑞 | 爱心捐款 | ¥1.00 | 电子汇入 |
| 1月25日收到 | **慧 | 爱心捐款 | ¥1,000.00 | 捐款给学校(支付宝暂未开票) |
| 1月25日收到 | 张宁 | 爱心助学 | ¥100.00 | 山区孩子助学 |
| 1月25日收到 | 谢瑶玲 | 爱心捐款 | ¥100.00 | 的爱心捐款 |
| 1月25日收到 | 吴斐 | 阳光午餐 | ¥5,000.00 | 阳光午餐 |
| 1月25日收到 | 深圳爱心朋友林浩明 | 索玛花支教 | ¥125.00 | 每月一捐索玛花支教 |
| 【通知】为规范四川省索玛慈善基金会财务,从即日起,我们将给每一位捐赠人(包括以前给我们捐赠的朋友们)据实开具捐赠票据,微信号:suomahua123,手机:18981556717,座机:0834-2507977,发送捐款截图、捐赠人(单位)姓名、收件地址、电话、邮编信息,以便我们给您邮寄捐赠票据,感谢各位爱心人士的救助! | ||||
| 四川省索玛慈善基金会 2021年1月25日 | ||||













