2020年12月13日接收捐赠的信息
发布时间 2020-12-14 丨 来源:四川省索玛慈善基金会 丨 浏览量 293
| 12月13日收到 | 财付通支付科技有限公司 | 暂未开票 | ¥2,405.84 | 大凉山困境学生关爱 |
| 12月13日收到 | 财付通支付科技有限公司 | 暂未开票 | ¥5,500.00 | 大凉山一帮一助学 |
| 12月13日收到 | 程前超 | 爱心助学 | ¥2,750.00 | 资助美中西昌吉木尔伍2020年 |
| 12月13日收到 | 张静 | 爱心助学 | ¥2,200.00 | 资助来力敏小学阿尔晓弟、马海克呷 |
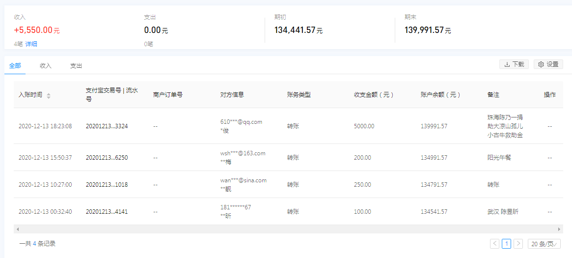
| 12月13日收到 | 珠海陈乃一 | 扶贫救助 | ¥5,000.00 | 救助大凉山孤儿小古牛救助金 |
| 12月13日收到 | **梅 | 阳光午餐 | ¥200.00 | 阳光午餐(支付宝暂未开票) |
| 12月13日收到 | 王靓靓 | 爱心捐款 | ¥250.00 | 转账 |
| 12月13日收到 | 武汉 陈昱昕 | 爱心捐款 | ¥100.00 | |
| 【通知】为规范四川省索玛慈善基金会财务,从即日起,我们将给每一位捐赠人(包括以前给我们捐赠的朋友们)据实开具捐赠票据,微信号:suomahua123,手机:18981556717,座机:0834-2507977,发送捐款截图、捐赠人(单位)姓名、收件地址、电话、邮编信息,以便我们给您邮寄捐赠票据,感谢各位爱心人士的救助! | ||||
| 四川省索玛慈善基金会 2020年12月13日 | ||||







