2020年12月1日接收捐赠的信息
发布时间 2020-12-02 丨 来源:四川省索玛慈善基金会 丨 浏览量 293
| 12月1日收到 | 财付通支付科技有限公司 | 暂未开票 | ¥9.11 | 大凉山困境学生关爱 |
| 12月1日收到 | 财付通支付科技有限公司 | 暂未开票 | ¥14,850.00 | 大凉山一帮一助学 |
| 12月1日收到 | 王永春 | 爱心助学 | ¥2,750.00 | 索玛花爱心助学,学生刘雨婷 |
| 12月1日收到 | 区佩金 | 爱心助学 | ¥22,000.00 | 资助沙马古以 吉克石各 曲木曲里 海来布沙 阿地阿作 阿候伟曲 俄俄马曲 能格子里 马小龙 吉克以西 |
| 12月1日收到 | 石峰 | 爱心捐款 | ¥100.00 | |
| 12月1日收到 | 天津康成益华科技有限公司 | 爱心助学 | ¥57,310.00 | 资助美姑县民中索玛班第一年费用 |
| 12月1日收到 | 北京科维永道贸易有限公司 | 爱心助学 | ¥100,000.00 | 资助美姑县民中索玛班第一年费用 |
| 12月1日收到 | 熊杰 | 爱心助学 | ¥10,000.00 | 朝天九班资助美姑民中索玛班 |
| 12月1日收到 | 冯发 | 爱心助学 | ¥10,000.00 | 朝天九班资助美姑民中索玛班 |
| 12月1日收到 | 纪岩 | 爱心助学 | ¥10,000.00 | 朝天九班资助美姑民中索玛班 |
| 12月1日收到 | 张兴志 | 爱心助学 | ¥10,000.00 | 朝天九班资助美姑民中索玛班 |
| 12月1日收到 | 佟海鑫 | 爱心助学 | ¥10,000.00 | 朝天九班资助美姑民中索玛班 |
| 12月1日收到 | 郑喜亮 | 爱心助学 | ¥5,000.00 | 朝天九班资助美姑民中索玛班 |
| 12月1日收到 | 郭静静 | 爱心助学 | ¥2,000.00 | 朝天九班资助美姑民中索玛班 |
| 12月1日收到 | 周成东 | 爱心助学 | ¥2,000.00 | 朝天九班资助美姑民中索玛班 |
| 12月1日收到 | 万清平 | 爱心助学 | ¥2,000.00 | 朝天九班资助美姑民中索玛班 |
| 12月1日收到 | 王怀瑜 | 爱心助学 | ¥2,000.00 | 朝天九班资助美姑民中索玛班 |
| 12月1日收到 | 什邡市亿佳源置业有限公司 | 爱心捐款 | ¥210,000.00 | 慈善捐款慈善捐款91510682MA620URX3N |
| 12月1日收到 | 广州润时保健用品有限公司 | 爱心助学 | ¥22,000.00 | 91440104799411686X资助阿约惹的、甲纳曲俄、勒普依作、莫色尔达、吉克木机 |
| 12月1日收到 | 廖洪海 | 爱心助学 | ¥10,000.00 | 朝天九班资助美姑民中索玛班 |
| 12月1日收到 | 周磊 | 爱心助学 | ¥10,000.00 | 朝天九班资助美姑民中索玛班 |
| 12月1日收到 | 颜伊森 | 爱心助学 | ¥10,000.00 | 朝天九班资助美姑民中索玛班 |
| 12月1日收到 | 姚建 | 爱心助学 | ¥10,000.00 | 朝天九班资助美姑民中索玛班 |
| 12月1日收到 | 汪文洋 | 爱心助学 | ¥10,000.00 | 朝天九班资助美姑民中索玛班 |
| 12月1日收到 | 巫祥松 | 爱心助学 | ¥10,000.00 | 朝天九班资助美姑民中索玛班 |
| 12月1日收到 | 宋晓辉 | 爱心助学 | ¥10,000.00 | 朝天九班资助美姑民中索玛班 |
| 12月1日收到 | 张帆 | 爱心助学 | ¥5,000.00 | 朝天九班资助美姑民中索玛班 |
| 12月1日收到 | 喻继东 | 爱心助学 | ¥900.00 | 朝天九班资助美姑民中索玛班 |
| 12月1日收到 | 刘幼兰 | 爱心助学 | ¥2,200.00 | 资助洛各依西 |
| 12月1日收到 | 陈林 | 爱心助学 | ¥4,400.00 | 阿火石伍和的日石者 |
| 12月1日收到 | 王璐 | 爱心助学 | ¥1,100.00 | 阿米日洛 |
| 12月1日收到 | 周晓彬 | 爱心助学 | ¥2,200.00 | 支助款 |
| 12月1日收到 | 付兆君 | 爱心助学 | ¥2,200.00 | 资助牛牛坝中学说日日子 |
| 12月1日收到 | 南国支行 | 爱心助学 | ¥2,200.00 | |
| 12月1日收到 | 张晓松 | 爱心捐款 | ¥100.00 | |
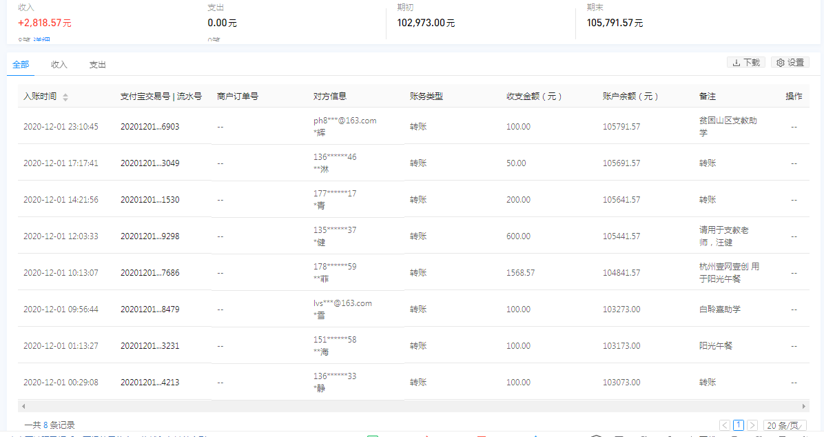
| 12月1日收到 | *辉 | 爱心捐款 | ¥100.00 | 贫困山区支教助学(支付宝暂未开票) |
| 12月1日收到 | **淋 | 爱心捐款 | ¥50.00 | 转账(支付宝暂未开票) |
| 12月1日收到 | 李青 | 爱心助学 | ¥200.00 | 助学款 |
| 12月1日收到 | 汪健 | 索玛花支教 | ¥600.00 | 请用于支教老师, |
| 12月1日收到 | 杭州壹网壹创 | 阳光午餐 | ¥1,568.57 | 用于阳光午餐 |
| 12月1日收到 | 白聆熹 | 爱心助学 | ¥100.00 | 助学 |
| 12月1日收到 | 黄继海 | 阳光午餐 | ¥100.00 | 阳光午餐151******58 |
| 12月1日收到 | *静 | 爱心捐款 | ¥100.00 | 转账(支付宝暂未开票) |
| 【通知】为规范四川省索玛慈善基金会财务,从即日起,我们将给每一位捐赠人(包括以前给我们捐赠的朋友们)据实开具捐赠票据,微信号:suomahua123,手机:18981556717,座机:0834-2507977,发送捐款截图、捐赠人(单位)姓名、收件地址、电话、邮编信息,以便我们给您邮寄捐赠票据,感谢各位爱心人士的救助! | ||||
| 四川省索玛慈善基金会 2020年12月1日 | ||||








































