2020年11月29日接收捐赠的信息
发布时间 2020-11-30 丨 来源:四川省索玛慈善基金会 丨 浏览量 269
| 11月29日收到 | 财付通支付科技有限公司 | 暂未开票 | ¥3.01 | 大凉山困境学生关爱 |
| 11月29日收到 | 财付通支付科技有限公司 | 暂未开票 | ¥8,250.00 | 大凉山一帮一助学 |
| 11月29日收到 | 马松 | 暂未开票 | ¥50,000.00 | |
| 11月29日收到 | 于海涛 | 爱心助学 | ¥4,400.00 | 索玛花爱心助学阿侯格者尼尼尔洗 |
| 11月29日收到 | 杨膳铭 | 暂未开票 | ¥22,000.00 | 10位中学生 |
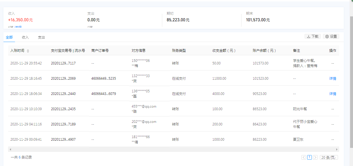
| 11月29日收到 | 董秀梅 | 阳光午餐 | ¥50.00 | 学生爱心午餐。 |
| 11月29日收到 | 重庆新商代企业管理有限公司 | 爱心助学 | ¥11,000.00 | 重庆新商代企业管理有限公司一对一助学 |
| 11月29日收到 | *磊 | 暂未开票 | ¥4,000.00 | 商品(支付宝暂未开票) |
| 11月29日收到 | *璐 | 暂未开票 | ¥100.00 | 阳光午餐(支付宝暂未开票) |
| 11月29日收到 | 于丽 小宝 | 阳光午餐 | ¥200.00 | 爱心午餐 |
| 11月29日收到 | **倩 | 暂未开票 | ¥1,000.00 | 夏卫东 |
| 【通知】为规范四川省索玛慈善基金会财务,从即日起,我们将给每一位捐赠人(包括以前给我们捐赠的朋友们)据实开具捐赠票据,微信号:suomahua123,手机:18981556717,座机:0834-2507977,发送捐款截图、捐赠人(单位)姓名、收件地址、电话、邮编信息,以便我们给您邮寄捐赠票据,感谢各位爱心人士的救助! | ||||
| 四川省索玛慈善基金会 2020年11月29日 | ||||






