2020年11月25日接收捐赠的信息
发布时间 2020-11-27 丨 来源:四川省索玛慈善基金会 丨 浏览量 286
| 11月25日收到 | 财付通支付科技有限公司 | 暂未开票 | ¥649.79 | 大凉山困境学生关爱 |
| 11月25日收到 | 财付通支付科技有限公司 | 暂未开票 | ¥2,200.00 | 大凉山一帮一助学 |
| 11月25日收到 | 上海市和平鸽慈善基金会 | 索玛花支教 | ¥100,000.00 | 5万用于够俄小学支教老师,5万用于教育教学费用 |
| 11月25日收到 | 王劭宏 | 爱心助学 | ¥2,750.00 | 爱心助学-阿尔医里 |
| 11月25日收到 | 王劭宏 | 扶贫救助 | ¥500.00 | 扶贫救助-阿尔医里 |
| 11月25日收到 | 张煜鑫 | 阳光午餐 | ¥499.00 | 阳光午餐 |
| 11月25日收到 | 广州市荔湾区潮迎服饰店 | 阳光午餐 | ¥200.00 | 午餐 |
| 11月25日收到 | 广州铭生贸易有限公司 | 爱心助学 | ¥22,000.00 | 91440101664045244T爱心助学牛牛坝10名学生一年助学款 |
| 11月25日收到 | 韩洁 | 爱心助学 | ¥2,750.00 | 索玛花爱心助学,马小英 |
| 11月25日收到 | 杨琪 | 爱心助学 | ¥2,750.00 | 资助杜基扎西 |
| 11月25日收到 | 管振凯 | 爱心助学 | ¥2,750.00 | 资助马云云 |
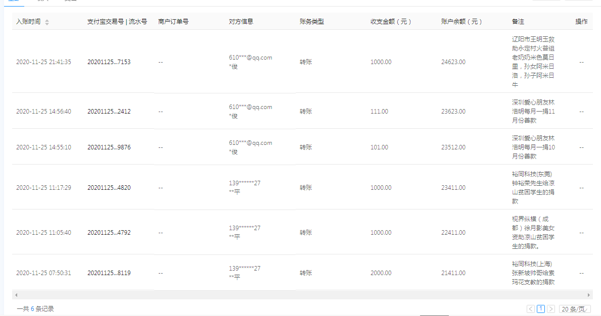
| 11月25日收到 | 辽阳市王明玉 | 扶贫救助 | ¥1,000.00 | 救助永定村火普组老奶奶米色莫日里,孙女阿米日洛,孙子阿米日牛 |
| 11月25日收到 | 深圳爱心朋友林浩明 | 爱心捐款 | ¥212.00 | 每月一捐10月份、11月份善款 |
| 11月25日收到 | 裕同科技(东莞)钟裕荣先生 | 爱心捐款 | ¥1,000.00 | 给凉山贫困学生的捐款 |
| 11月25日收到 | 视界纵横(成都)徐月影美女 | 爱心捐款 | ¥1,000.00 | 资助凉山贫困学生的捐款。 |
| 11月25日收到 | 裕同科技(上海)张新坡帅哥 | 索玛花支教 | ¥2,000.00 | 给索玛花支教的捐款 |
| 【通知】为规范四川省索玛慈善基金会财务,从即日起,我们将给每一位捐赠人(包括以前给我们捐赠的朋友们)据实开具捐赠票据,微信号:suomahua123,手机:18981556717,座机:0834-2507977,发送捐款截图、捐赠人(单位)姓名、收件地址、电话、邮编信息,以便我们给您邮寄捐赠票据,感谢各位爱心人士的救助! | ||||
| 四川省索玛慈善基金会 2020年11月25日 | ||||















