2020年11月12日接收捐赠的信息
发布时间 2020-11-13 丨 来源:四川省索玛慈善基金会 丨 浏览量 247
| 11月12日收到 | 财付通支付科技有限公司 | 暂未开票 | ¥8,580.00 | 大凉山困境学生关爱 |
| 11月12日收到 | 胡肖萍 | 爱心助学 | ¥1,100.00 | 吉克日作捐助款 |
| 11月12日收到 | 沈明 | 爱心捐款 | ¥0.30 | 电子汇入 |
| 11月12日收到 | 陈红遍 | 阳光午餐 | ¥400.00 | 用于阳光午餐或其它 |
| 11月12日收到 | 上海鑫乐玩具(集团)有限公司 | 爱心助学 | ¥2,200.00 | 土比么小妹91310113698777339Y |
| 11月12日收到 | 广州市映辉贸易有限公司 | 爱心助学 | ¥28,420.00 | 资助马海曲布 海来石洛 阿合石西 的尔机 吉克衣石 吉克衣作 吉则小夫 阿举拉杜 曲比古都 吉则布曲十名初中生及爱心包91440104737172173C |
| 11月12日收到 | 黄楚妤 | 爱心助学 | ¥2,842.00 | 资助海来马西 |
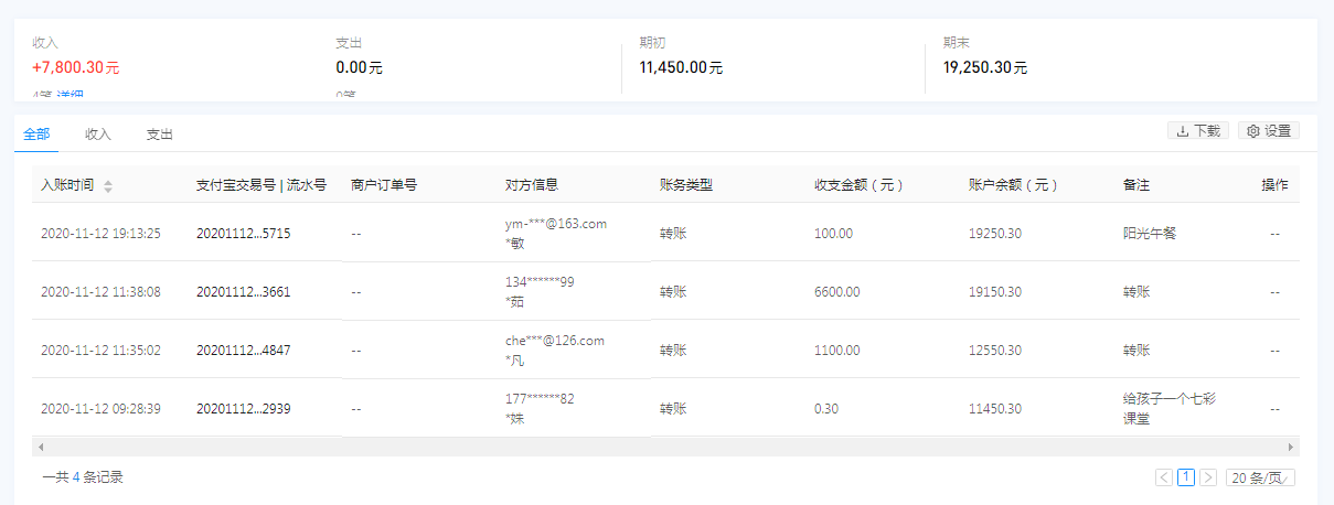
| 11月12日收到 | 喻敏 | 阳光午餐 | ¥100.00 | 阳光午餐 |
| 11月12日收到 | 张彻、张纤石 | 爱心助学 | ¥6,600.00 | 资助洛哈阿果、洛哈阿娘、阿西阿且、阿西阿都 |
| 11月12日收到 | 陈凡 | 爱心助学 | ¥1,100.00 | 资助勒石金里 |
| 11月12日收到 | *姝 | 爱心捐款 | ¥0.30 | 给孩子一个七彩课堂(支付宝暂未开票) |
| 【通知】为规范四川省索玛慈善基金会财务,从即日起,我们将给每一位捐赠人(包括以前给我们捐赠的朋友们)据实开具捐赠票据,微信号:suomahua123,手机:18981556717,座机:0834-2507977,发送捐款截图、捐赠人(单位)姓名、收件地址、电话、邮编信息,以便我们给您邮寄捐赠票据,感谢各位爱心人士的捐助! | ||||
| 四川省索玛慈善基金会 2020年11月10日 | ||||











