2020年10月22日接收捐赠的信息
发布时间 2020-10-23 丨 来源:四川省索玛慈善基金会 丨 浏览量 221
| 10月22日收到 | 张雅萍 | 爱心助学 | ¥69,575.00 | 资助41人 |
| 10月22日收到 | 陈佳露 | 爱心助学 | ¥1,100.00 | 吉布阿牛资助款 |
| 10月22日收到 | 黄小武 | 爱心助学 | ¥8,250.00 | 海来以沙 |
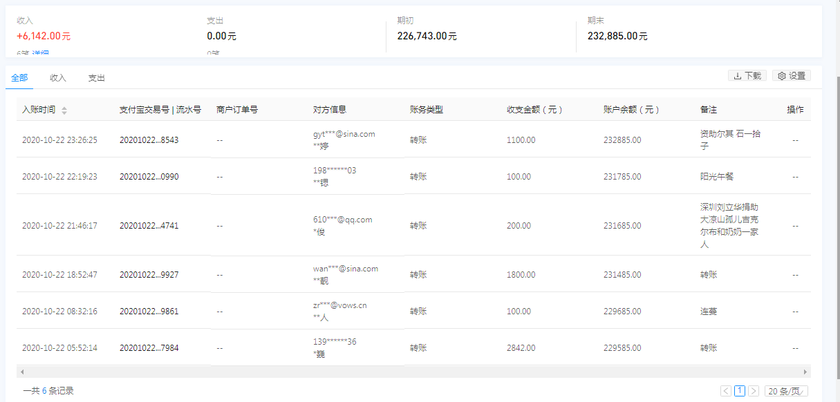
| 10月22日收到 | 顾雨婷 | 爱心助学 | ¥1,100.00 | 资助尔其 石一拾子 |
| 10月22日收到 | **锶 | 阳光午餐 | ¥100.00 | 阳光午餐(支付宝暂未开票) |
| 10月22日收到 | 深圳刘立华 | 扶贫救助 | ¥200.00 | 救助大凉山孤儿吉克尔布和奶奶一家人 |
| 10月22日收到 | 王靓靓 | 爱心捐款 | ¥1,800.00 | |
| 10月22日收到 | 连蔓 | 爱心捐款 | ¥100.00 | |
| 10月22日收到 | 安洋 | 爱心助学 | ¥2,842.00 | 资助曲比伍呷 |
| 【通知】为规范四川省索玛慈善基金会财务,从即日起,我们将给每一位捐赠人(包括以前给我们捐赠的朋友们)据实开具捐赠票据,微信号:suomahua123,手机:18981556717,座机:0834-2507977,发送捐款截图、捐赠人(单位)姓名、收件地址、电话、邮编信息,以便我们给您邮寄捐赠票据,感谢各位爱心人士的捐助! | ||||
| 四川省索玛慈善基金会 2020年10月22日 | ||||










