2020年10月15日接收捐赠的信息
发布时间 2020-10-16 丨 来源:四川省索玛慈善基金会 丨 浏览量 245
| 10月15日收到 | 章名田 | 爱心助学 | ¥2,750.00 | 的日伍娘 |
| 10月15日收到 | 福建万洁建设集团有限公司 | 爱心助学 | ¥8,526.00 | 资助巴普马海拉洛、的的石者、曲莫金花 助学款和爱心包91350200MA2Y94YF00 |
| 10月15日收到 | 王慧研 | 爱心捐款 | ¥8,520.00 | 转账 |
| 10月15日收到 | 冯萱颐 | 爱心助学 | ¥2,750.00 | 资助曲目曲星和曲目尔西 |
| 10月15日收到 | 北京诚信达投资有限公司 | 爱心助学 | ¥4,400.00 | 资助马海子古、吉克古布、马海石子 |
| 10月15日收到 | 刘黎雨 | 爱心助学 | ¥3,300.00 | 爱心助学+巫洛石走、吉达伍呷 |
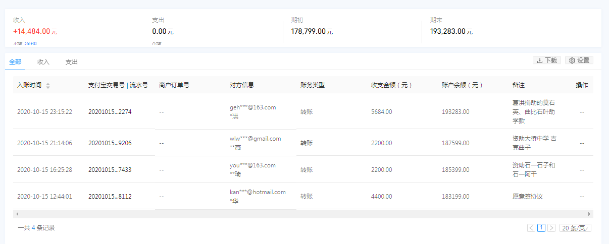
| 10月15日收到 | 葛洪 | 爱心助学 | ¥5,684.00 | 捐助的莫石英、曲比石叶助学款 |
| 10月15日收到 | 邬灵薇 | 爱心助学 | ¥2,200.00 | 资助大桥中学 吉克曲子 |
| 10月15日收到 | 孙文琦 | 爱心助学 | ¥2,200.00 | 资助石一石子和石一阿干 |
| 10月15日收到 | 康华 | 爱心助学 | ¥4,400.00 | 资助马海克的、吉觉石色 |
| 【通知】为规范四川省索玛慈善基金会财务,从即日起,我们将给每一位捐赠人(包括以前给我们捐赠的朋友们)据实开具捐赠票据,微信号:suomahua123,手机:18981556717,座机:0834-2507977,发送捐款截图、捐赠人(单位)姓名、收件地址、电话、邮编信息,以便我们给您邮寄捐赠票据,感谢各位爱心人士的救助! | ||||
| 四川省索玛慈善基金会 2020年10月15日 | ||||












