2020年10月13日接收捐赠的信息
发布时间 2020-10-14 丨 来源:四川省索玛慈善基金会 丨 浏览量 246
| 10月13日收到 | 刘丽勇 | 爱心助学 | ¥23,650.00 | 资助10个学生 |
| 10月13日收到 | 蔡琳 | 爱心助学 | ¥1,100.00 | 资助拉马曲木阿呷 |
| 10月13日收到 | 孙国营 | 爱心助学 | ¥2,200.00 | 资助牛牛坝曲比子哈 |
| 10月13日收到 | 樊建元 | 爱心助学 | ¥3,300.00 | 资助阿尔以且和马海作曲 |
| 10月13日收到 | 张鹤 | 爱心助学 | ¥1,100.00 | 一对一资助阿古吃洛 |
| 10月13日收到 | 深圳市公安局粤海派出所 | 爱心助学 | ¥3,300.00 | 一对一资助吉克尔石3年生活费 |
| 10月13日收到 | 曾妍 | 爱心助学 | ¥2,200.00 | 资助巴普吉瓦衣子 |
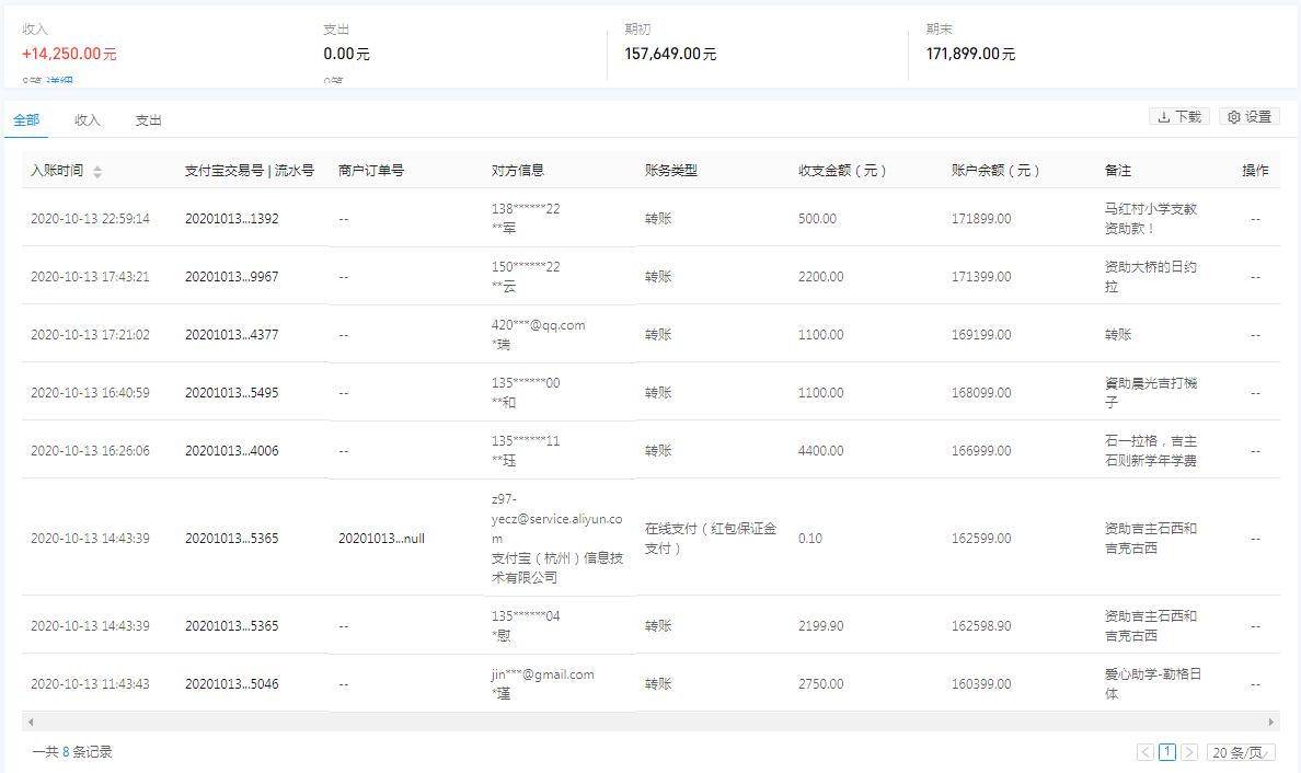
| 10月13日收到 | 罗小军 | 索玛花支教 | ¥500.00 | 马红村小学支教资助款! |
| 10月13日收到 | 杨红云 | 爱心助学 | ¥2,200.00 | 资助大桥的日约拉 |
| 10月13日收到 | 祝瑞 | 爱心助学 | ¥1,100.00 | 资助的莫金古 |
| 10月13日收到 | 王聚和 | 爱心助学 | ¥1,100.00 | 資助晨光吉打机子 |
| 10月13日收到 | 钱清珏 | 爱心助学 | ¥4,400.00 | 石一拉格,吉主石则新学年学费 |
| 10月13日收到 | 李金根 | 爱心助学 | ¥2,200.00 | 资助吉主石西和吉克古西 |
| 10月13日收到 | 张瑾 | 爱心助学 | ¥2,750.00 | 爱心助学-勒格日体 |
| 【通知】为规范四川省索玛慈善基金会财务,从即日起,我们将给每一位捐赠人(包括以前给我们捐赠的朋友们)据实开具捐赠票据,微信号:suomahua123,手机:18981556717,座机:0834-2507977,发送捐款截图、捐赠人(单位)姓名、收件地址、电话、邮编信息,以便我们给您邮寄捐赠票据,感谢各位爱心人士的救助! | ||||
| 四川省索玛慈善基金会 2020年10月13日 | ||||
















