2020年9月10日接收捐赠的信息
发布时间 2020-09-11 丨 来源:四川省索玛慈善基金会 丨 浏览量 231
| 9月10日收到 | 上海莨芯商贸有限公司 | 爱心捐款 | ¥10,000.00 | 电子汇入 |
| 9月10日收到 | 杜翠花 | 爱心助学 | ¥2,842.00 | 资助巴普中学阿罗古付 |
| 9月10日收到 | 李芹 | 阳光午餐 | ¥300.00 | 阳光午餐 |
| 9月10日收到 | 张龙 | 爱心助学 | ¥1,100.00 | 爱心助学阿都拉者 |
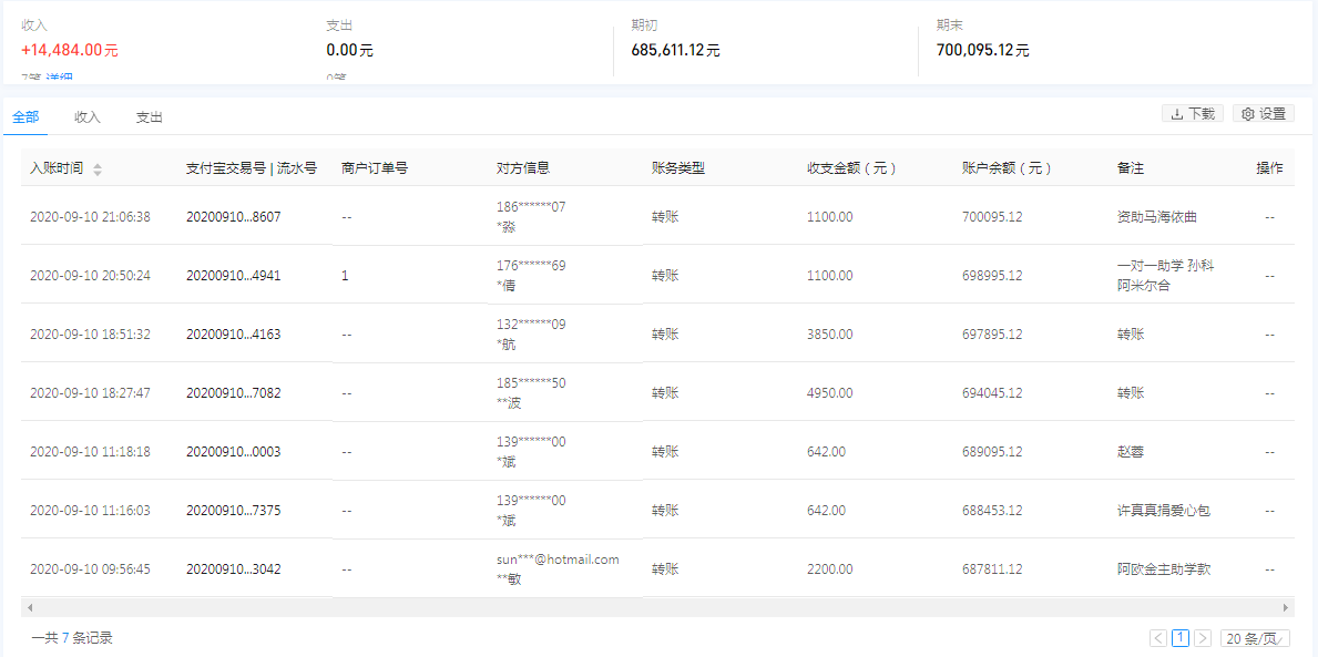
| 9月10日收到 | 冯淼 | 爱心助学 | ¥1,100.00 | 资助马海依曲 |
| 9月10日收到 | 孙科 | 爱心助学 | ¥1,100.00 | 一对一助学 孙科 阿米尔合 |
| 9月10日收到 | 徐航 | 爱心助学 | ¥3,850.00 | 资助沙马石者和沙马以曲 |
| 9月10日收到 | 唐玉波 | 爱心助学 | ¥4,950.00 | 资助阿出阿曲和曲木以夫 |
| 9月10日收到 | 赵蓉 | 爱心助学 | ¥642.00 | 捐爱心包 |
| 9月10日收到 | 许真真 | 爱心助学 | ¥642.00 | 捐爱心包 |
| 9月10日收到 | 李润同 | 爱心助学 | ¥2,200.00 | 阿欧金主助学款 |
| 【通知】为规范四川省索玛慈善基金会财务,从即日起,我们将给每一位捐赠人(包括以前给我们捐赠的朋友们)据实开具捐赠票据,微信号:suomahua123,手机:18981556717,座机:0834-2507977,发送捐款截图、捐赠人(单位)姓名、收件地址、电话、邮编信息,以便我们给您邮寄捐赠票据,感谢各位爱心人士的捐助! | ||||
| 四川省索玛慈善基金会 2020年9月10日 | ||||













