2020年8月25日接收捐赠的信息
发布时间 2020-08-26 丨 来源:四川省索玛慈善基金会 丨 浏览量 198
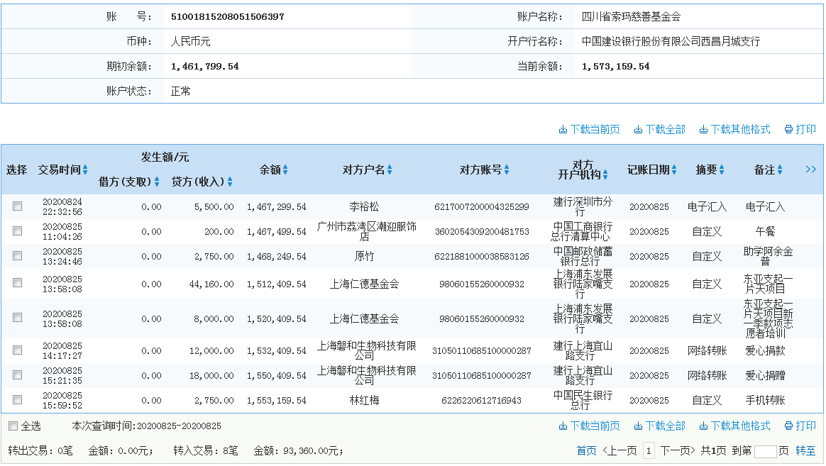
| 8月25日收到 | 李裕松 | 爱心捐款 | ¥5,500.00 | 电子汇入 |
| 8月25日收到 | 广州市荔湾区潮迎服饰店 | 阳光午餐 | ¥200.00 | 午餐 |
| 8月25日收到 | 原竹 | 爱心助学 | ¥2,750.00 | 助学阿余金普 |
| 8月25日收到 | 上海仁德基金会 | 索玛花支教 | ¥44,160.00 | 东亚支起一片天项目 |
| 8月25日收到 | 上海仁德基金会 | 索玛花支教 | ¥8,000.00 | 东亚支起一片天项目新一季款项志愿者培训 |
| 8月25日收到 | 上海磐和生物科技有限公司 | 爱心捐款 | ¥12,000.00 | 爱心捐款 |
| 8月25日收到 | 上海磐和生物科技有限公司 | 爱心捐款 | ¥18,000.00 | 爱心捐赠 |
| 8月25日收到 | 林红梅 | 爱心助学 | ¥2,750.00 | 资助吉克怎曲 |
| 8月25日收到 | 纪洲 | 爱心助学 | ¥2,200.00 | 资助(帕立立长,吉里石拉)两位孩子学习生活费 |
| 8月25日收到 | 汤静 | 爱心助学 | ¥8,800.00 | 爱心助学+涂雄芳、俄木布哈、阿恩子达 |
| 8月25日收到 | 龚华 | 爱心助学 | ¥2,750.00 | 资助木里中学 古小兰 |
| 【通知】为规范四川省索玛慈善基金会财务,从即日起,我们将给每一位捐赠人(包括以前给我们捐赠的朋友们)据实开具捐赠票据,微信号:suomahua123,手机:18981556717,座机:0834-2507977,发送捐款截图、捐赠人(单位)姓名、收件地址、电话、邮编信息,以便我们给您邮寄捐赠票据,感谢各位爱心人士的救助! | ||||
| 四川省索玛慈善基金会 2020年8月25日 | ||||












