2020年8月17日接收捐赠的信息
发布时间 2020-08-18 丨 来源:四川省索玛慈善基金会 丨 浏览量 189
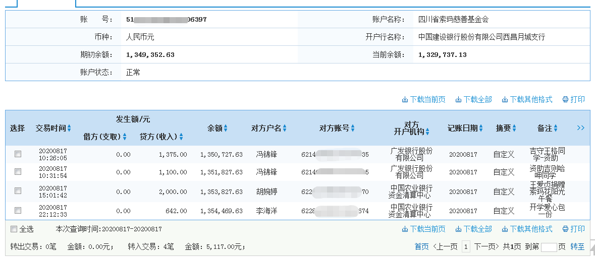
| 8月17日收到 | 冯锦锋 | 爱心助学 | ¥1,375.00 | 资助吉守王格同学- |
| 8月17日收到 | 冯锦锋 | 爱心助学 | ¥1,100.00 | 资助吉则哈呷同学 |
| 8月17日收到 | 王爱贞 | 阳光午餐 | ¥2,000.00 | 王爱贞捐赠索玛花阳光午餐 |
| 8月17日收到 | 李海洋 | 爱心助学 | ¥642.00 | 开学爱心包一份 |
| 8月17日收到 | **淋 | 爱心捐款 | ¥50.00 | 转账(支付宝暂未开票) |
| 8月17日收到 | 金燕燕 | 爱心助学 | ¥2,200.00 | 爱心助学+阿克么牛歪 |
| 8月17日收到 | 圣彼得堡刘开宇 | 爱心捐款 | ¥555.55 | 捐助大凉山贫困山区孩子们读书 |
| 8月17日收到 | 安静 | 爱心助学 | ¥1,100.00 | 资助额其觉都的资助金 |
| 【通知】为规范四川省索玛慈善基金会财务,从即日起,我们将给每一位捐赠人(包括以前给我们捐赠的朋友们)据实开具捐赠票据,微信号:suomahua123,手机:18981556717,座机:0834-2507977,发送捐款截图、捐赠人(单位)姓名、收件地址、电话、邮编信息,以便我们给您邮寄捐赠票据,感谢各位爱心人士的救助! | ||||
| 四川省索玛慈善基金会 2020年8月17日 | ||||








