2020年8月13日接收捐赠的信息
发布时间 2020-08-14 丨 来源:四川省索玛慈善基金会 丨 浏览量 214
| 8月13日收到 | 武钧 | 爱心助学 | ¥5,500.00 | 资助乌尔阿里和乌尔作左 |
| 8月13日收到 | 刘燕丽 | 爱心助学 | ¥2,200.00 | 资助约其石拉 |
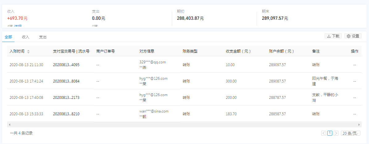
| 8月13日收到 | **燕 | 爱心捐款 | ¥10.00 | 转账(支付宝暂未开票) |
| 8月13日收到 | 于海建 | 阳光午餐 | ¥300.00 | 阳光午餐 |
| 8月13日收到 | 胡业杲 | 索玛花支教 | ¥200.00 | 支教,平静的小湖 |
| 8月13日收到 | 王靓靓 | 爱心捐款 | ¥183.70 | 转账 |
| 【通知】为规范四川省索玛慈善基金会财务,从即日起,我们将给每一位捐赠人(包括以前给我们捐赠的朋友们)据实开具捐赠票据,微信号:suomahua123,手机:18981556717,座机:0834-2507977,发送捐款截图、捐赠人(单位)姓名、收件地址、电话、邮编信息,以便我们给您邮寄捐赠票据,感谢各位爱心人士的救助! | ||||
| 四川省索玛慈善基金会 2020年8月13日 | ||||







