2020年8月11日接收捐赠的信息
发布时间 2020-08-12 丨 来源:四川省索玛慈善基金会 丨 浏览量 242
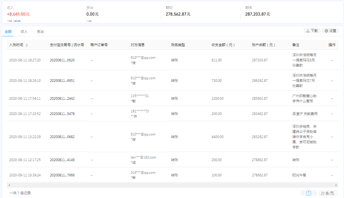
| 8月11日收到 | 李芹 | 阳光午餐 | ¥300.00 | 阳光午餐 |
| 8月11日收到 | 安国胜 | 爱心助学 | ¥8,526.00 | 助学曲木约古阿候克布曲木作曲 |
| 8月11日收到 | 深圳林浩明 | 爱心捐款 | ¥811.00 | 每月一捐索玛花8月份善款 |
| 8月11日收到 | 深圳林浩明 | 爱心捐款 | ¥730.00 | 每月一捐索玛花7月份善款 |
| 8月11日收到 | 广州邱敏 | 爱心助学 | ¥2,200.00 | 爱心助学伟什么惹芳 |
| 8月11日收到 | 吕浭沂 | 索玛花支教 | ¥200.00 | 支教费用 |
| 8月11日收到 | 深圳余桂良 | 扶贫救助 | ¥2,200.00 | 救助普雄中学吉克小康 |
| 8月11日收到 | 深圳余建纬 | 爱心助学 | ¥2,200.00 | 资助普雄中学吉克尼坡助学款 |
| 8月11日收到 | 谭诚 | 爱心捐款 | ¥200.00 | 转账 |
| 8月11日收到 | 杨希 | 阳光午餐 | ¥100.00 | 阳光午餐316***@qq.com |
| 【通知】为规范四川省索玛慈善基金会财务,从即日起,我们将给每一位捐赠人(包括以前给我们捐赠的朋友们)据实开具捐赠票据,微信号:suomahua123,手机:18981556717,座机:0834-2507977,发送捐款截图、捐赠人(单位)姓名、收件地址、电话、邮编信息,以便我们给您邮寄捐赠票据,感谢各位爱心人士的救助! | ||||
| 四川省索玛慈善基金会 2020年8月11日 | ||||











